Практическое пособие

                                Минск
                              "Харвест"
                              1997

======================================================================
     В этой   книге   раскрываются   методы   и    приемы    получения
конфиденциальной информации  о  людях  и организациях,  вызывающих ваш
интерес. "Знать  истинное  положение  дел  -  это  иметь   возможность
действовать наверняка"  -  такова основная идея автора,  профессионала
тайной войны.
     Как собирать  и  анализировать  нужные  сведения,  как привлекать
людей к сотрудничеству, как побуждать их делать то, что вам нужно - об
этом и  многом  другом,  имеющем  отношение к разведывательной работе,
рассказывается в книге.
     "Своя разведка"   -   ценное   пособие  для  служб  безопасности,
детективных и  охранных  агентств  и  вообще  для  любого,  кто  хочет
действовать на основе точной информации, а не домыслов.
======================================================================




       ВВЕДЕНИЕ

        * ЧАСТЬ 1. СПОСОБЫ ПОЛУЧЕНИЯ И ОЦЕНКИ ИНФОРМАЦИИ * 

     1. Вводные положения
     2. Краткая характеристика источников информации
     3. Взятие информации у индивида
        - Личные мотивы выдачи информации
        - Методы активного изымания фактуры
        - Техника внедрения информаторов
     4. Взятие информации из документов
        - Обретение доступа к документам
        - Перехват и перлюстрация писем
        - Обработка "мусора"
     5. Взятие информации из средств связи
        - Перехват радиопереговоров
        - Снятие информации с телефона
     6. Взятие информации через отслеживание
        - Наблюдение за стационарным объектом
        - Слежка за отдельным человеком
        - Скрытное прослушивание бесед и переговоров
        - Использование слухов
     7. Принципы оценки и анализа информации
        - Достоверность и надежность материалов
        - Искажение информации и дезинформация
        - Техника интерпретации данных

        * ЧАСТЬ 2. МЕТОДЫ ПОИСКА И ВЕРБОВКИ ИНФОРМАТОРОВ * 

     1. Вводные положения
     2. Выявление кандидата
     3. Разработка кандидата
        - Предварительное изучение
        - Установление контакта
        - Углубление контакта
        - Техника тестирования
     4. Составление досье
     5. Тактика оценки кандидата
     6. Проведение вербовки
     7. Обхождение с завербованным
        - Направление его деятельности
        - Способы удержания
        - Способы проверки
        - Способы связи
        - Завершение контакта

        * ЧАСТЬ 3. МЕТОДЫ ОБЕСПЕЧЕНИЯ РЕЗУЛЬТАТИВНОГО ОБЩЕНИЯ * 

     1. Теория и практика результативного общения
        - Целенаправленное конструирование
        - Общие рекомендации по организации
        - Психофизиологические аспекты
        - Составные элементы общения
     2. Точность восприятия партнера по общению
        - Вводные положения
        - Мимика лица
        - Взгляд и глаза
        - Поза и ее детали
        - Жесты и телодвижения
        - Интонации голоса
        - Особенности лексики
        - Непроизвольные реакции
        - Фоновое настроение
        - Микроколебания настроения
     3. Нейролингвистическое проникновение в психику
        - Вводные положения
        - Распознание способа обработки информации
        - Калибровка партнера по общению
        - Техника манипулирования с помощью НЛП

        * ЧАСТЬ 4. МЕТОДЫ ЦЕЛЕНАПРАВЛЕННОГО ВОЗДЕЙСТВИЯ НА ЧЕЛОВЕКА * 

     1. Вводные положения
     2. Способы воздействия
        - Убеждение
        - Внушение
        - Гипноз
        - Нарковоздействие
        - Секс-мероприятия
        - Технотронные методики
        - Зомбирование
     3. Подкуп
     4. Шантаж компроматом
     5. Запугивание
     6. Пытка

        * ЧАСТЬ 5. ОБЕСПЕЧЕНИЕ БЕЗОПАСНОСТИ РАЗВЕДЫВАТЕЛЬНОЙ РАБОТЫ * 

     1. Вводные положения
     2. Элементы системы безопасности
        - Внешняя безопасность
        - Внутренняя безопасность
        - Локальная безопасность
        - Организация встреч
        - "Уход на дно"
     3. Обеспечение тайны посланий
        - Криптография
        - Шифрование
        - Дешифровка
        - Стеганография

       ПРИЛОЖЕНИЕ 1.
       СХЕМЫ СПЕЦИАЛЬНОЙ АППАРАТУРЫ

       ПРИЛОЖЕНИЕ 2.
       ПОИСК И ОБЕЗВРЕЖИВАНИЕ ВЗРЫВНЫХ УСТРОЙСТВ
        - Типы взрывных устройств
        - Последовательность обезвреживания взрывных устройств
        - Способы обнаружения взрывных устройств

       ПРИЛОЖЕНИЕ 3. ПРОБЛЕМЫ БЕЗОПАСНОСТИ БИЗНЕСМЕНА
        1. Нужен ли бизнесмену пистолет?
        2. Каким должен быть телохранитель
        3. Собака - лучший друг бизнесмена
        4. Общие меры защиты от покушений
        5. Защита автомобиля и квартиры
        6. Как себя вести при похищении
        7. Защита от технических средств шпионажа
        8. Создание своей службы безопасности

       РЕКОМЕНДУЕМАЯ ЛИТЕРАТУРА

======================================================================

     Жизнь дьявольски сложна, и чтобы выжить - необходимо действовать,
причем не абы как,  шарахаясь из стороны в сторону и уповая на удачный
случай,  а целенаправленно, заблаговременно предвосхищая нежелательные
события коммерческого, криминального и политического характера.
     Предвидеть козни  и  действия  других  обычно   помогает   хорошо
поставленная разведка,  и каждому нелишне знать ее возможности и некие
приемы,  которые  могут  задействоваться  как  им  самим,  так  и   не
дружественной стороной. Пособие полезно всем, кто не желает быть рабом
текущих ситуаций,  а также тем,  кто хочет знать,  какие  неприятности
можно   ожидать   от   слишком   ушлых   конкурентов,  преступников  и
госструктур.



     "Знать наперед намерения противника - это,  по сути,  действовать
как  Бог!"  -  в свое время изрек стратег китайской мудрости Сунь-цзы.
Между тем, данным всемогущим Богом способен стать любой из Вас.
     Знать, впрочем,  надобно  не многое,  а нужное,  причем последнее
зависит  от  того,  что  Вы  хотите  предпринять  и  к  чему  жизненно
стремитесь.  Противниками могут выступать и слишком ушлый конкурент, и
опытный   профессионал,    и    мощная    организованная    структура.
Взаимоотношения   при   этом   могут  быть  вполне  цивилизованными  и
джентльменскими,  а  могут  оказаться  до  крайности  безжалостными  и
неэтичными.
     Мощь интеллекта не аналог морали,  так  же  как  не  стыкуется  с
моралью   истинный   профессионализм.   Любые   знания  способны  быть
восприняты полярно;  из общего  источника  нередко  пьют  и  тот,  кто
совершает преступление,  и тот, кто ловит этого преступника. С позиций
вечности трудно сказать,  какой из полюсов угоден Богу,  ибо в Природе
нет  различия  между добром и злом,  людям же свойственно периодически
менять свое мнение.
     "Когда бредущий караван вдруг поворачивает назад,  хромой верблюд
тотчас оказывается впереди", - с усмешкой говорили аксакалы Востока. И
те,  кого  вчера  считали гнусными преступниками,  сегодня объявляются
мудрейшими предпринимателями,  а те,  кого сегодня пишут в террористы,
возможно станут завтра украшением нации.
     Чингиз-хан под  влиянием  навязчивой  идеи  уничтожил  целый  ряд
цивилизаций,  но  он  почитается  национальным  героем  в  современной
Монголии.  Наполеон угробил сотни тысяч солдат ради своих амбиций,  но
остается  в  памяти  людей  как  романтическая  и  довольно  уважаемая
личность.  Возможно,  через некоторое время в таком же пиететном стиле
будут преподносить и Гитлера, и Сталина.
     Благая цель всегда оправдывает средства,  приемлемость которых, в
частности,   зависит  от  моральных  установок  исполнителя.  Не  надо
забывать,  что убивает не оружие,  а  люди.  Представленные  в  данном
руководстве вполне этичные, а порой и грязноватые приемы рассчитаны на
тех,  кто не прошел спецкурс  в  соответствующих  учебных  заведениях,
однако  вынужден  прокладывать свой путь в этом безумном хаосе людей и
интересов  запущенной  в  разнос  империи.  Вам  могут  встретиться  и
криминальные специалисты,  и профессионалы силовых структур,  и просто
ловкие авантюристы,  преследующие свои подозрительные  цели.  Все  они
могут  применять  замысловатые  приемы,  а посему последние необходимо
знать также и тем,  кто не способен сам задействовать  нечто  подобное
против других.
     Здесь мы рассмотрим как можно получить необходимые  Вам  сведения
об индивиде или некоей организации,  каким путем привлечь полезнейшего
персонажа на свою сторону и как воздействовать на человека,  чтобы  он
сделал то, что Вам необходимо. Представленные в приложении простенькие
схемы   позволят   начинающему   игроку   собрать    импровизированную
спецаппаратуру,  не  контактируя  с  торговцами полулегальным товаром.
Учтите,  что язык наш специфически не строг,  поэтому может вызвать  у
кичливого профессионала высокомерную усмешку.  И запомните,  что проще
всего побеждать тех, кто не воспринял Вас всерьез!







     Для решения  любой  проблемы  требуется  оптимальная  информация.
Однако  то,  что  кому-то  представляется  информацией,  прочими может
восприниматься как никчемный и довольно-таки заурядный шум.
     Информацию принято  считать  ценной  лишь  тогда,  когда ее можно
использовать,  причем  полезность  информации  сильно  зависит  от  ее
полноты, точности и своевременности.
     Следует конкретно различать и не путать:  факты (данные),  мнения
(личностные   предположения),  информацию  (аналитически  обработанные
данные).
     Информация обычно позволяет:
     - ориентироваться в ситуации;
     - четко планировать свои действия;
     - отслеживать результативность проводимых акций;
     - уклоняться от неожиданностей;
     - манипулировать отдельными людьми и группировками.
     *Информация подразделяется на*:
     - Тотальную (дает общее обзорное  представление  об  интересующей
проблеме и участниках - индивидах и организациях - проводимой игры);
     - Текущую или оперативную (держит в курсе изменяющихся событий);
     - Конкретную  (заполняет выявленные пробелы в данных или отвечает
на определенные вопросы);
     - Косвенную  (подтверждает  или  опровергает некие предположения,
будучи стыкованной с последними только опосредованно);
     - Оценочную  (растолковывает  события и дает прогноз относительно
их развития в будущем; это - оптимально обработанные данные).
     Осознав, что   вам  необходима  информация,  проясните  для  себя
следующие вопросы:
     - Что надо узнать?
     - Где (и в каком виде) может быть желаемая информация?
     - Кто ее может знать или достать?
     - Как (и в каком виде) ее можно получить?
     Четкие ответы   на   начальные   вопросы  обеспечивают  понимание
последнего,  техника решения  которого  зависит  как  от  существующих
внешних условий,  так и от ваших знаний,  воли,  опыта, возможностей и
изобретательности.
     Получив исходную фактуру, ее надобно:
     - оценить  (по  степени  достоверности,  важности,   секретности,
стыкуемости, возможности использования);
     - интерпретировать (в свете других данных и глубинной  интуиции),
выявив ее место в общей мозаике фактов;
     - определить, надобна ли (и какая) дополнительная информация;
     - эффективно  использовать (учесть в своих планах,  передать кому
следует, придержать до нужного момента...).



     Нужная Вам информация может быть:
     - открытой (более или менее доступной);
     - полузакрытой (не засекреченной,  но контролируемой  теми,  кого
она касается);
     - секретной (полагаемой  по  различным  соображениям  ключевой  в
определенных ситуациях).
     Конфиденциальную информацию   удается    получать    из    весьма
разнообразных  источников,  большую часть которых неискушенный человек
попросту не принимает во внимание. Следует учитывать самые невероятные
возможности,  какими  бы  нереалистичными  они  ни  показались,  ибо в
цепочке прохождения информации иной  раз  случается  найти  потрясающе
ценный источник.
     Главными носителями перспективных материалов всегда являются:
     - знающие люди;
     - документы;
     - средства  беспроводной и проводной связи (телефоны,  телефаксы,
радиостанции...);
     - электронные    системы    обработки   информации   (компьютеры,
электрические пишущие машинки...);
     - разные отслеживаемые факторы (поведение,  разговоры, результаты
действий.
     Выйдя на тот или иной источник информации, четко просчитайте:
     - его наличные и потенциальные возможности,
     - допустимые пределы использования,
     - степень его надежности.
     *Знающими лицами*,  в  частности,  считаются  те,  кто  бесспорно
обладает (или может обладать) нужной информацией. К ним относятся:
     - *Эксперт*.   Это  -  индивид,  чьи  профессиональные  знания  и
контакты  (как  работа,  так  и  хобби)   обеспечивают   первоклассную
ориентацию  в  разрабатываемом  вопросе.  Он  позволит  вам  по новому
взглянуть на существующую проблему,  выдаст базовые материалы, выведет
на  неизвестные источники информации.  Общая надежность получаемых при
этом данных чаще всего высшая.
     - *Внутренний  информатор  (осведомитель)*.  -  Это  - человек из
группировки  противника,  завербованный  и  поставляющий  фактуру   по
материальным,  моральным  и  иным весомым для него причинам.  Ценность
представляемых им данных существенно зависит  от  его  возможностей  и
мотивов выдавать нужные сведения, верность каковых при соответствующем
контроле может быть довольно-таки высокой.
     - *"Горячий"   информатор*.   Это  -  любой  знающий  человек  из
сторонников противника или его контактеров, проговаривающий информацию
под   влиянием   активных   методик   воздействия   в  стиле  жесткого
форсированного  допроса,  пытки,  гипноза,  шантажа  и  т.д.  Так  как
истинность   сообщаемого  в  данном  случае  не  гарантирована,  такая
импровизация приемлема лишь в период острой необходимости,  когда  нет
времени, желания или возможностей "нянчиться" с другими источниками. В
отличие от завербованного информатора личностный контакт здесь главным
образом одномоментен.
     - *Внедренный источник*. Это - свой человек, тем или иным манером
просочившийся  в окружение объекта.  Ценность поставляемых им данных в
сущности зависит от его индивидуальных качеств и  достигнутого  уровня
внедрения.
     - *Легкомысленный   информатор   ("болтун")*.   Это   -   человек
противника,  контактер или любое информированное лицо, проговаривающее
интересные факты в  деловой,  дружеской,  компанейской  либо  интимной
беседе.   Промелькнувшее  случайно  сообщение  может  быть  необычайно
ценным,  хотя в общем-то  не  исключены  как  беспечная  ложь,  так  и
намеренная дезинформация.
     - *Контактеры*.   К   ним   относят   всяческих   людей    как-то
контактирующих   или  некогда  соприкасавшихся  с  изучаемым  объектом
(человеком,  группой,  организацией...). Это могут быть стабильные или
случайные   деловые   партнеры,   родственники  и  приятели,  служащие
сервиса...  Наряду  с  сообщением  определенных  фактов,   они   могут
содействовать  в подходе к объекту или же участвовать в прямом изъятии
у него интересующей вас информации.
     - *Союзник*. В данном случае подразумевается человек либо некая -
общественная,   государственная,    криминальная...    -    структура,
выступающая   как  противник  или  "надзиратель"  объекта.  Уровень  и
надежность отдаваемых здесь материалов зависит от насущных  интересов,
личных взаимоотношений и познаний источника. Кроме совершенно новой он
способен передать и подтверждающую информацию.
     - *Случайный    источник*.    Иногда    бывает,    что   какой-то
подвернувшийся  вам  индивид   совершенно   не   рассматриваемый   как
потенциальный   информатор,  вдруг  оказывается  носителем  уникальной
фактуры.  Иной  раз  так  может  обнаружиться  и  дотоле   неизвестный
контактер  либо  союзник.  Ввиду  явной  непредсказуемости  на  такого
человека не особенно рассчитывают, но случайно зацепив - разрабатывают
до предела.
     *В группу зафиксированных материалов входят*:
     - *Официальные  документы*.  К  ним  принадлежат  личные  дела  и
медицинские карты, докладные, объяснительные записки и письма в разные
инстанции,    всевозможные   задокументированные   данные,   собранные
официальными  (отдел  кадров,  жилконтора,  милиция...)  службами   об
интересующем   Вас   лице   или   организации.   Наряду   с   обзорным
представлением здесь можно  найти  и  прочие  сведения,  полезные  при
детальной   разработке  всякого  объекта.  Сия  информация  почитается
достаточно надежной, хотя не исключена и намеренная фальсификация.
     - *Деловые бумаги и архивы*.  Это всевозможные договоры,  отчеты,
факсы,   письма,   методички,   внутренние   телефонные   справочники,
меморандумы и прочие бумаги,  связанные с деловой активностью человека
или    организации.    Они    представляют    первосортный    источник
конфиденциальной   информации,  позволяющей  ориентироваться  в  делах
объекта,  прояснять его  намерения  и  методы  работы,  прогнозировать
поступки и возможности, выявлять функционеров и связи... Достоверность
информации при этом преимущественно высшая.
     - *Носители   машинной   информации*.   Оптимальным   источником,
существующим  во  многих  организациях,  представляется  банк  данных,
занесенный в ЭВМ. Сведения хранимые там зафиксированы на неизвлекаемых
(жестких дисках) или извлекаемых (гибких дисках) магнитных носителях и
способны   выводиться  на  бумажную  распечатку  (листинги).  Впрочем,
оснащение фирмы компьютерами в  общем-то  не  означает,  что  они  там
эффективно пользуются или что в них есть ценная информация.
     - *Личные бумаги и архивы*.  В этот замечательный  набор  фактуры
входят записные книжки, разные пометки на листках календаря, дружеские
и интимные письма,  поздравительные  открытки,  фотографии,  аудио-  и
видеозаписи,  дневники  и  т.д.  Такие  данные  попросту неоценимы при
активной разработке вызвавшего интерес объекта с тщательным выявлением
его   контактов   и   полным   пониманием  реальных  возможностей  для
последующего устранения, шантажа, манипулирования или вербовки.
     - *"Мусор"*.   Выброшенные   разорванные   черновики  и  машинные
распечатки,  сигаретные коробки и  бумажные  обрывки  с  всевозможными
пометками, порченные    копии   и   случайные   подкладочные   листки,
отработанная копировальная бумага и использованные  ленты  от  пишущих
машинок  -  все  это  в  руках  умелого  субъекта может превратиться в
потрясающие  документы,  причем  добывать  такие  материалы  иной  раз
значительно сподручнее, чем оригиналы.
     - *Обнародованные  сведения*.   К   ним   относятся   отловленные
публикации в газетах и журналах,  радио- и телесюжеты, читанные где-то
лекции  и  выступления...  Такие  источники  знакомят   с   кулуарными
материалами,  открывают новых носителей информации и заметно сокращают
труд по разрабатыванию объекта.  Качество  фактуры  здесь  значительно
зависит как от компетентности и побуждений автора,  так и от намерений
и репутации тех, кто конкретно предоставил ему слово.
     - *Подметные  письма и самиздат*.  Любопытнейшую информацию могут
содержать тиражированные тем или  иным  способом  листовки,  обращения
либо заметки, каковые не хотят, да и не могут издавать официально. Все
это  забрасывается  в  народ  с  целью  опорочить   некое   лицо   или
организацию, ознакомить с положением дел в конкретной области, вызвать
смуту и разброд в мышлении обывателей.  Тексты подобного рода иной раз
подписываются  существующими  лицами,  группировками  и организациями,
иногда приписываются им,  а чаще всего  -  фигурируют  как  анонимные.
Факты, содержащиеся там проявляются на уровнях правды, правдоподобия и
явной дезинформации.  Так  как  степень  достоверности  первоисточника
совершенно   неопределяема,   пользоваться   такими   данными  следует
предельно осторожно,  в общем-то не отметая, но и не уделяя им особого
внимания.   Более  информативными  здесь  могут  оказаться:  сам  факт
хождения подобных материалов, отношение к ним различных лиц, групповая
принадлежность их распространителей...
     Уникальные возможности для незаметного изъятия самых  разнотипных
данных   иной   раз  предоставляют  технические  средства  передачи  и
обработки  информации,  кои,  обладая   электромагнитной   спецификой,
позволяют  проводить желанный перехват на весьма приличном удалении от
объекта.  Ввиду  явной  перспективности,  абсолютной  безопасности   и
относительной   несложности,   подключение  к  таким  каналам  в  наше
технотронное время всегда рассматривается как один из самых  важных  и
реальных путей получения требуемых материалов:
     - *Телефон*.  Будучи  наиболее   распространенным   инструментом,
обеспечивающим  человеческое общение,  телефон способен легко выдавать
секреты своего владельца.  Интересно,  что при этом можно  слушать  не
одни  лишь  телефонные  переговоры,  но  и то,  что говорят в закрытой
комнате при положенной на рычаг трубке.
     - *Телеграф,  телетайп,  телефакс*.  По  каналам  этих  аппаратов
циркулирует как графическая так и знаковая  информация,  выводимая  на
бумажные  носители,  что  весьма  удобно  в  деловых взаимоотношениях.
Перехват подобных материалов запросто  осуществляется  подключением  к
проводным   линиям   связи,   а  порою  и  бесконтактно,  опираясь  на
особенности  работы   специфической   приемно-передающей   аппаратуры.
Сложности   могут   возникнуть   только  при  использовании  хозяевами
специальных средств защиты проходящей информации.
     - *Персональные   радиостанции*.   Применяемые  для  служебной  и
гражданской радиосвязи оные модели отличаются  эфирной  обнаженностью.
При  неиспользовании  объектом  мер защиты и наличии у вас подходящего
радиоприемника,  они позволяют очень легко  и  незаметно  проникать  в
познания и намерения контролируемого объекта.
     - *Компьютер*.  Этот уникальный электронной механизм для хранения
и  обработки  информации  имеется в каждой деловой организации.  Более
того,  компьютеры отдельных структур связаны между  собой  посредством
телефонной  сети,  что  нередко  позволяет изымать из них фактуру даже
пребывая в другом городе.  В ходе вывода данных на экран  дисплея,  их
можно незаметно считывать как бесконтактно (через радиоизлучение), так
и контактно (за  счет  подключения  к  компьютерной  сети  или  кабелю
питания).  Достоверность  получаемых при этом материалов,  разумеется,
предельно высшая.
     - *Сотовые и транковые радиосистемы*. Данные мобильные устройства
для словесного (радиотелефон) и  знакового  (пейджер)  общения  весьма
удобны  в  обращении,  но открыты для обычного эфирного радиоперехвата
соответствующим сканером  (если  нет  защитного  кодирования...)  либо
"двойником" используемого аппарата.



     Под отслеживаемыми     факторами    подразумевают    акустическое
(подслушивание), визуальное  (слежка)  и  ментальное  (анализирование)
наблюдение за объектом.
     - *Подслушивание*.  Тайно слушать можно как формальные (деловые),
так  и неформальные (дружеские и интимные) разговоры.  Благодаря этому
удается узнавать потрясающие факты и  побочно  выявлять  перспективные
контакты  человека  (организации),  прояснять  их  цели  и  намерения,
понимать образ мышления действующих лиц вкупе с их обычными  реакциями
на   события...   Скрытное   прослушивание   принято   осуществлять  с
применением   технических   средств   ("оживляемого"   телефона,   как
направленных,     так    и    контактных    микрофонов,    разнотипных
радиозакладок)...  но  иной  раз  и  без  таковых   (находясь   вблизи
беседующих).
     - *Тайное наблюдение*. Наблюдать приходится как за индивидом, так
и  за стационарным объектом.  Скрытное слежение за человеком позволяет
выяснить его контакты,  места встреч,  маршруты, явные привычки, образ
жизни  и  все  прочие  аспекты  необходимые  при  детальной разработке
некоего лица или  организации.  Наблюдение  за  стационарным  объектом
обеспечивает контроль посетителей и является стандартным в ходе поиска
скрывающейся особы.
     - *Засекание    слухов*.    Эти    неподтверждаемые    сообщения,
циркулирующие в  определенных  контингентах  людей  полезны  тем,  что
намекают  на предполагаемые знания и ожидания среды ("слух снизу"),  а
иной раз и на игры тех или иных сил ("слух сверху").  В  сущности  они
довольно достоверны, хотя часто в чем-то искажены. Кой-какую тщательно
скрываемую информацию удается узнавать только из неясных слухов.
     - *Прояснение  образа  действий*.  Анализируя  реакции объекта на
слова  и  поведение  различных  людей,  на  обычные  и   экстремальные
обстоятельства,  можно  довольно  точно  определить его цели и мотивы,
силы   и   слабости,   уровень    подверженности    чужому    влиянию,
информированность, ключевых партнеров, методы используемых действий...
Все это дает возможность прогнозировать фактическое поведение человека
или группы в самых разных ситуациях,  что, в конечном счете, позволяет
эффективно управлять ими.



     В качестве   используемого   объекта   может   выступать    любое
перспективное  лицо  -  член враждующей группировки,  единичный игрок,
контактер, союзник... - обладающее любопытной информацией.



     Так как всякий индивид в демонстрируемом  поведении  направляется
определенными   побуждениями,   понимание   таковых  дает  возможность
подобрать к нему ключи и в итоге получить необходимые данные.
     О мотивах  некоего  человека  узнают  путем его изучения,  причем
следует учитывать  и  степень  выраженности  (очень  сильно,  довольно
сильно, слабо) этих побуждений.
     Характерные мотивы  выдачи  индивидом  специфичной  информации  и
возможные пути их утилизации таковы:
     1. Алчность.  (Обещание  или  же  предоставление  денег  и   иных
материальных ценностей).
     2. Страх за себя.  (Шантажирование,  а порою и угроза  либо  факт
грубого физического или утонченного психологического воздействия).
     3. Страх за своих близких.  (Явная угроза либо факт  разнотипного
насилия  -  в  духе  похищения,  избиения,  изнасилования,  кастрации,
"сажания на иглу", полного физического устранения... )
     4. Фактор  боли.  (Качественная  пытка  или  угроза  интенсивного
болевого воздействия).
     5. Сексуальная  эмоциональность.  (Ловкое  подсовывание  полового
партнера  и  различной  порнографии  с  перспективой   "расслабления",
шантажа или обмена).
     6. Безразличие.  (Четкая  реализация  депрессии,  возникающей   в
результате  инспирированных или спонтанных жизненных обстоятельств,  а
иной раз и в результате психофизической обработки объекта).
     7. Внутренний  авантюризм.  (Предоставление  шансов  индивиду для
ведения им своей игры).
     8. Счеты  с  госсистемой  или организацией.  (Умное использование
идеологических разногласий и существующей неудовлетворенности  объекта
своим нынешним положением либо завтрашней перспективой).
     9. Счеты  с  конкретными  лицами.  (Разжигание  таких  негативных
чувств как месть, зависть и неприязнь с непреодолимым желанием нанести
"врагу" определенный ущерб).
     10. Национализм.  (Игра на глубинном ощущении некоей национальной
общности; ненависти, гордости, исключительности).
     11. Религиозные чувства. (Пробуждение неприязни к "иноверцам" или
же  привязывание   определенной   ситуации   к   избранным   доктринам
исповедуемой религии).
     12. Гражданский долг. (Игра на законопослушности).
     13. Общечеловеческая мораль. (Игра на порядочности).
     14. Подсознательная потребность в  самоуважении.  (Спекуляция  на
идеальных представлениях человека о самом себе).
     15. Корпоративная (клановая) солидарность.  (Игра  на  конкретной
элитарности).
     16. Явная симпатия к  получателю  или  его  делу.  ("Резонирующая
подстройка к объекту").
     17. Тщеславие.   (Провоцирование   желания   объекта   произвести
определенное впечатление, показать свою значимость и осведомленность).
     18. Легкомыслие.  (Приведение человека в беззаботнейшее состояние
неосмотрительности   и   болтливости.   К   этому   же  можно  отнести
задействование "хронотопа" - явно повышенной доверчивости  человека  в
некое время и в определенном месте ("случайный попутчик").
     19. Угодливость.  (Четкая реализация подсознательной (волевой)  и
осознанной (деловой и физической) зависимости объекта от получателя).
     20. "Помешательство"  на  чем-либо.  (Близкая   возможность   для
коллекционера  приобрести (или потерять) страстно желаемую вещь;  игра
на фобиях...)
     21. Нескрываемый  расчет получить определенную информацию взамен.
(Техники "баш на баш" или "вождение за нос").
     22. Страстное стремление убедить в чем-либо, изменить отношение к
чему-либо (или кому-либо),  побудить к определенным действиям. (Методы
"заглатывание наживки" и "обратной вербовки").
     Разобравшись в  психологии   зондируемого   объекта   и   отметив
управляющие  им  мотивы,  можно выйти на конкретные приемы и методики,
способные "расколоть" определенного человека.



     Сведения у  перспективных  информаторов  удается  получать   либо
разово, либо проведя их вербовку, постоянно.
     Эффективными средствами  извлечения   из   субъектов   информации
являются:
     1. Подкуп  (обещание  или  передача  денег  и  иных  материальных
ценностей, как, впрочем, и содействие в чем-либо).
     2. Шантаж   (на   реальное,   на   сфабрикованное,   на   объекты
уязвимости...).
     3. Жесткая   угроза   либо   факт   как   физического,   так    и
психологического воздействия.
     4. Специфический  форсированный  допрос  (после  предварительного
похищения или околпачивания):
     - пыткодопрос (постепенное нагнетание ощущения и ожидания боли);
     - сексодопрос   (обеспечивание   и   эксплуатация  непреодолимого
полового желания);
     - иглодопрос   (вызывание   наркотической  ломки  и  обещание  ее
прерывания);
     - наркодопрос    (ввод    особых   наркотических   препаратов   и
"раскалывание" при помрачении сознания);
     - гипнодопрос     (введение     в     гипнотическое    состояние,
характеризуемое исчезанием самоконтроля).
     5. Сексуальная    подставка    (подведение   интим-партнера   для
восприятия полезной информации,  либо для  содействия  другим  приемам
эффективного влияния, вроде шантажа, допроса, уговаривания...).
     6. Игра  на  эмоциях  (разжигание  любви,  ненависти,   ревности,
тщеславия и прочих ослепляющих чувств,  под напором каковых щекотливая
фактура сообщается "сдуру", "сгоряча" или "назло" кому-либо).
     7. "Выуживание  втемную"  (извлечение  информации  в  ходе  ловко
проведенного допроса или разговора):
     - "промежду   прочим"   (поощрение   состояния  естественной  или
инспирированной болтливости);
     - "игра    на   косвенных"   (реакция   объекта   на   специально
подготовленные вопросы);
     - "блеф"  (создание  впечатления,  что  вы знаете больше,  чем на
самом  деле,  в  результате   чего   человек   не   видит   дальнейшей
необходимости скрывать что-либо);
     - "параллель" (проведение темы явно способной вызывать у  объекта
некие ассоциации с тем, что вас интересует);
     - "консультация" (просьба о содействии себе или  кому-либо  после
приведения объекта в состояние благодушия и дружелюбия);
     - "профессиональный  разговор"   (выдача   фактуры   по   причине
восприятия вас как "коллеги").
     8. Целевой  обмен  информацией   (взаимообмен   данными,   следуя
которому  надобно дать минимум,  а получить максимум,  причем отдавать
желательно лишь те  факты,  каковые  вам  не  принесут  потенциального
вреда).
     9. Убеждение (умно скроенная беседа с эмоционально-логическим или
же   иным   обоснованием  полезности  ознакомления  вас  с  некоторыми
сведениями).
     10. Фармакологическое  воздействие (полностью завуалированное,  а
иной раз и откровенное применение химических препаратов, создающих или
же  усиливающих  необходимое  для  проведения основного приема фоновое
состояние  объекта,  таковое  как  болтливость,   дружелюбие,   страх,
безволие, сексуальное возбуждение...).
     Практика всех этих приемов обрисована в разделах,  представляющих
методики воздействия на человека и модели эффективного общения.



     Наиболее разностороннюю  и  полезную  информацию о делах какой-то
группировки удается получить,  завербовав ее участника  либо  подсадив
туда доверенного человека.
     Разрабатывая конкретного  индивида,  требуемый  подход,  к   нему
осуществляют,  привлекая  человека  из  его  ближайшего окружения либо
подставляя ему своего агента.
     Методы вербовки  и  общения  с  завербованным включены в раздел о
"привлечении к сотрудничеству",  здесь же мы разберем лишь специфичные
аспекты оптимального внедрения.
     Глубоко внедрять  можно   как   сотоварища,   так   и   тщательно
подобранного  по  различным  (индивидуальные  качества,  социальные  и
родственные связи,  прошлое,  личная заинтересованность...) параметрам
наемного человека.
     *Существуют два подхода к объекту*:
     - под своим собственным именем;
     - с  липовыми  документами   и   легендой.   (Ввиду   вероятности
случайного или намеренного разоблачения,  таковой агент,  как правило,
не должен  иметь  обширных  социальных,  родственных  и  экономических
связей,   быть   из   отдаленного   района  и  не  проявлять  излишнюю
сентиментальность...)
     *Различаются три уровня внедрения*:
     - тихое  присутствие  на  общих  сборах  в  качестве   стороннего
наблюдателя;
     - некое участие в делах разрабатываемого сообщества;
     - целевой проход в руководящее звено вражеской команды.
     *Проникая в разрабатываемую организацию прибегают к нижеследующим
приемам*:
     1. Заведение знакомства с явным  или  предполагаемым  контактером
либо  членом  группировки,  который  по  цепочке  передает внедряемого
центровому  объекту.  ("Цель  последовательной  передачи"  зависит  от
закрытости  организации  и  обычно  состоит  из  одного или нескольких
звеньев,  а способы  завязывания  знакомства  представлены  в  разделе
повествующем о вербовке.)
     2. Вход  в  контакт  с  функционерами  объекта  с  вызыванием   у
последних  интереса  предложением  перспективного  дела,  обоснованием
своей полезности, сообщением важной информации...
     3. Предъявление   реальных  или  сфабрикованных  рекомендаций  от
каких-то лиц,  не состоящих в данной команде,  но заметно уважаемых ее
лидерами.
     4. Ловкая подмена настоящего посланца от  известной  параллельной
организации либо от отсутствующего в этот момент члена команды.
     5. Выступание  в  роли  эмиссара  несуществующей  или  специально
созданной организации.
     6. Интенсивное воздействие  -  шантаж,  подкуп,  убеждение  -  на
какого-либо  уязвимого  участника группировки,  предписывая ему решить
вашу проблему.
     7. Афишированная   "измена"   некому   сопернику  или  противнику
организации.
     8. Использование (или создание) затруднений в работе объекта, или
в персональных делах  его  функционеров  с  эффективным  оказанием  им
неожиданной помощи.
     9. Побуждение объекта самому искать контактов с подставляемым ему
человеком.  (Пробное "забрасывание наживки" здесь осуществляется путем
сфабрикованных  писем,  показных  акций,  инспирированных  публикаций,
вкупе  с  запуском  слухов  и  "случайных"  проговариваний  о каких-то
возможностях и  познаниях  внедряемого,  способных  помочь  в  решении
конкретных проблем как организации, так и ее лидеров.)
     10. Опубликование статьи в газете либо журнале (вариант -  выпуск
книги  или брошюры),  созвучного,  сочувственного или перспективного с
точки зрения противника содержания,  и  использование  ее  в  качестве
пропуска для проникновения в интересующую структуру.
     *Для быстрейшего продвижения внутри группировки необходимо*:
     - проявить   активность   в  групповых  действиях  и  быть  очень
исполнительным функционером;
     - обратить  на  себя  внимание  некоего  человека из руководящего
звена команды с помощью его друзей и  родственников,  эффективности  и
колоритности своих действий, верности, потакания его слабостям...;
     - дерзкими и красочными акциями обрести значительную популярность
у своих "соратников";
     - постараться стать  незаменимым,  постепенно  сконцентрировав  в
своих руках важные оперативные функции;
     - быть отменно информированным в  самых  разных  вопросах,  чтобы
всегда представить нужные кому-то сведения, либо высказать необходимый
дельный совет;
     - иметь  точное  досье на всех тех,  кто пользуется в организации
определенным  авторитетом  и  при  необходимости  оказывать   на   них
дозируемое давление;
     - сделать ставку на перспективного функционера  и,  проявив  себя
необходимым  для  него  человеком,  способствовать  его  выдвижению  в
лидеры;
     - выявить  недоброжелателей и хорошо осознав причины их неприязни
либо дискредитировать сих лиц (распуская определенные слухи и  проводя
соответствующие акции),  либо превратить их в доброжелателей (методами
"кнута и пряника").



     Нужную фактуру,  обретаемую в некоторых документах можно получить
либо  получив  сам  оригинал  или его копию,  либо ознакомившись с его
содержанием по отдельным достоверным свидетельствам.



     В ходе  добывания  необходимых  документов  принято  использовать
такие приемы как:
     - тайное проникновение в место хранения носителя (по  возможности
не оставляя никаких следов либо вынуждено имитируя заурядную кражу);
     - "распечатывание"  места  хранения   созданием   или   имитацией
аварийного  (пожар,  затопление...)  состояния  с прониканием туда под
видом  спасателей;
     - кратковременный захват нужного помещения;
     - перехват (кража, вымогательство, разбой, подкуп...) документа в
ходе  его  пересылки  или  передачи (техника осуществления перехвата в
сущности зависит от используемого для акции звена на пути  перемещения
носителя,   пересылка   какового   может  быть  как  плановой,  так  и
инспирированной;
     - подключение   третьих  лиц  (контактеров  или  профессионалов),
заинтересовав их в доставлении вам (а возможно что и в  добывании  для
себя) некоего документа;
     - мощное давление (шантаж,  подкуп...) на  человека,  обладающего
доступом к носителю информации либо к месту его хранения;
     - требование   документа   или   его   копии   с   правдоподобным
обоснованием - совместное дело, социальная безопасность, ведомственный
контроль... - нужности сего для его хранителей.
     Чтобы несколько  сбить  с  толку как владельца,  так и добывателя
документа,  требуемую фактуру не мешает изымать вместе с  бесполезными
носителями.
     Скрытное копирование  -  ксерографию,  фотосъемку...   -   должно
применять если:
     - важно скрыть тот факт,  что вполне определенный  документ  явно
заинтересовал кого-то и теперь оказался у других;
     - надо обезопасить  поставщика  или  метод  получения  доступа  к
носителю;
     - важно только содержание, а не сам оригинал.
     Если вас  интересует  только содержание документа или же сам факт
его существования,  можно удовлетвориться  "ментальным  копированием",
попросту  запоминая  фактуру носителя,  а затем фиксируя ее на бумаге.
Характерными приемами при этом являются:
     - официальный    визит   вашего   агента,   выдающего   себя   за
представителя некоей общественной,  коммерческой  или  государственной
службы    (медика,    рекламного   агента,   социолога,   коммерсанта,
журналиста...) с правомочной просьбой о просматривании тех бумаг среди
которых содержится нужный вам документ;
     - подключение сотрудников и контактеров объекта (что  используемо
лишь  тогда,  когда  у  них  отличная  память  и  нет  видимых  причин
"заложить" вас или переврать то, что они могли увидеть).



     Завладеть чужим  почтовым  отправлением  -  письмом,  бандеролью,
посылкой - можно:
     - у    отправителя    (кража    посредством    контактеров    или
профессионалов,  грубое  разбойное нападение,  изымание почты из ящика
при оперативном визуальном наблюдении за объектом, разнотипные изъятия
в почтовом отделении...);
     - в пути (перехват либо подкуп курьера,  силовой захват или  угон
почтовой автомашины...);
     - у  получателя  (в  местном  отделении  связи,   путем   подкупа
почтальона; из почтового ящика, в ходе его постоянного просматривания;
в доме у адресата, через его контактера...).
     *При скрытом извлечении информации* из обычных запечатанных писем
(т.е. перлюстрации их) применяются такие приемы как:
     - мощное  просвечивание  и фотографирование письма без вскрывания
конверта (чтобы читать полученные таким образом копии нужен  некоторый
навык, ибо строки выявляются частично перевернутыми и наложенными друг
на друга);
     - временное   (секунд   на   30)   опрозрачивание   конверта  при
обрызгивании его специальным спреем (РК 705, 1А-4...);
     - грубое  вскрытие с последующей заменой поврежденного конверта и
с фабрикацией имеющихся на оригинале печатей и надписей;
     - ловкое  вытягивание  навернутого на костяную спицу письма через
маленькую щель в углу конверта;
     - осторожное  вскрытие  и  предельно осмотрительное запечатывание
послания.
     Нежное вскрывание   конвертов   издавна  осуществляют  с  помощью
изящных костяных инструментов  и  обычного  водяного  пара.  В  данном
случае  лучше употреблять плоскую подогреваемую снизу поверхность,  на
которой размещают увлажненную промокательную  бумагу,  выделяющую  при
последующем нагреве размягчающий клей пар. Поверх всего этого и кладут
вскрываемое письмо.
     В параллельном варианте увлажненные полоски промокательной бумаги
или  поролона  возлагают  только  на  заклеенные  поверхности,  а  для
создания пара прибегают к помощи обычного утюга. Проще всего, впрочем,
воспользоваться струей пара исходящего из носика кипящего чайника.
     Если подозревается,  что отправитель употребил невидимые чернила,
извлеченное послание тщательно  размещают  между  двумя  подвергшимися
обработке   горячим   паром   листками   бумаги,  и  водворяют  данный
"бутерброд" под пресс  с  тем,  чтобы  часть  задействованной  "химии"
перенеслась на копии-подложки, с которыми можно работать для выявления
тайнописи. Оригинал при этом внешне не меняется.
     Сняв информацию    и   скопировав   письмо,   конверт   тщательно
запечатывают,  при помощи мягких ватных тампонов и прозрачного (но  не
силикатного!) клея.



     К "мусору"  обычно  относят  различные  пометки на использованных
сигаретных пачках и обрывках газет, смятые и разорванные бумаги, текст
на  коих  может  быть зачеркнут или же залит красителями,  разнотипные
листки,  ненароком  оказавшиеся  (или  специально  помещенные...)  под
носителями при записях на оригиналах, отработанные "копирки", листинги
и катушки старых лент от пишущих машинок..
     Так как на банальный "мусор" редко обращают пристальное внимание,
изымание его почти не замечается и осуществляется  значительно  проще,
причем  как из закрытого помещения (визитером,  сервисным ремонтником,
уборщицей,  сотрудником...),  так  и   вне   такового   (на   мусорной
свалке...). Для чтения обнаруженных таким образом материалов применяют
нижеследующие приемы:
     *Восстановление разорванных документов*:
     - распрямите и разгладьте все разорванные клочки бумаги;
     - тщательно рассортируйте их по цвету и типу носителя, по окраске
штрихов и по способу письма;
     - отберите разные обрывки с ровными краями и, удобно разместив по
углам те, что имеют угловые обрезы, выложите из них рамку;
     - аккуратно  заполните  образовавшееся  пространство  подходящими
частями,  ориентируясь по линиям сгиба и разрыва,  положению штрихов и
содержанию текста...
     Всю эту работу хорошо бы выполнять на куске стекла,  а  приемлемо
восстановив   документ,   бережно   прижать   его   другим  стеклом  и
зафиксировать скотчем.
     *Выявление вдавленных следов на подложках*:
     - разместите  документ  так,  чтобы  высвечивающий  пучок   света
оказался   сбоку,  перпендикулярно  основным  направлениям  вдавленных
штрихов и под острым углом к фоновой поверхности подложки.  Текст  при
этом можно просто прочитать, а при необходимости и сфотографировать.
     В параллельном варианте  применяют  медицинский  порошок  железа,
восстановленного   водородом   и  "магнитную  кисть".  Порошок  обычно
высыпают на исследуемую поверхность и перемещают вдоль нее  с  помощью
магнита,   тогда  после  удаления  излишков  железа  текст  становится
видимым.
     *Способы чтения зачеркнутых и залитых текстов*:
     - осмотрите документ при боковом освещении с лицевой и  оборотной
стороны   (это  целесообразно,  если  штрихи  текста  имеют  некоторый
рельеф);
     - осмотрите документ на просвет (это действенно,  когда краситель
штрихов текста резко контрастирует с красителем пятна);
     - осмотрите документ в отраженном или проходящем свете,  применяя
светофильтр того же цвета,  что и  цвет  пятна  (это  сработает,  если
штрихи текста и пятно разного цвета);
     - попытайтесь удалить или ослабить верхний слой красителя, хорошо
прижав  к  нему на короткое время некую откопирывающую - сырой каучук,
влажную эмульсию фотопленки... - поверхность (это помогает, если текст
пытались зачеркнуть графитным карандашом);
     - обработайте все перемаранные участки  подходящим  растворителем
(ацетоном,  бензиловым  спиртом,  эфиром) красителя (это перспективно,
если  машинописный  текст  под  копирку  перечеркнут   черной   пастой
шариковых ручек).
     *Восстановление текста по копировальной бумаге*:
     - поместите   старую   копирку   на   стекло   и   прочтите  (или
сфотографируйте) текст на просвет;
     - если  буквы  на  копирке  плохо  различимы,  примените  боковое
освещение, падающее на лист под острым углом;
     - если  копиркой пользовались неоднократно,  сделайте с нее фото-
или ксерокопию и закрасьте  черным  фетровым  фломастером  или  мягкой
тонкой кистью белые штрихи всех записей,  явно не относящиеся ввиду их
расположения к интересующему вас тексту.



     Электронные средства коммуникации, таковые как телефон, телефакс,
телеграф  и  служебно-личные  радиостанции на сегодняшний момент имеют
повсеместное распространение и дают возможность  получить  потрясающий
массив  деловой  и  интимной  информации,  относящейся  к исследуемому
объекту.  Разберем немного подробнее как все это делается,  оставляя в
стороне внедрение в компьютерные сети, проводимые по линиям телефонной
связи (то, чем занимаются хакеры...).



     Радиочастотное общение  производится,  как  правило,  с   помощью
специальных радиостанций и радиотелефонов, действующих преимущественно
в диапазоне ультракоротких волн (УКВ).
     Под радиотелефоном подразумевается радиостанция,  функционирующая
в паре с телефонной линией,  причем вся эта система  может  быть  либо
сугубо  индивидуальной  (радиоудлинители),  либо  групповой (сотовой и
транковой).
     Практика радиообщения   зависит   от   конструкции  аппаратуры  и
осуществляется как на единой общей  частоте,  так  и  на  разных;  как
одновременно, т.е. дуплексно, без переключения "прием-передача", так и
поочередно (т.е. симплексно с таковым переключением).
     В нынешней России разрешена личная радиосвязь в диапазоне 27 МГц,
хотя иной  раз  встречаются  импортные  радиостанции,  эксплуатирующие
диапазоны 49-50  МГц  и 140-170 МГц.  Что касается радиотелефонов,  то
обычно сотовая связь происходит на частотах 300,  800  и  450  МГц,  а
транковая - 330 и 350 МГц.
     Для перехвата  радиопереговоров  надо   знать   несущую   частоту
радиопередачи,  на  которую  в  ходе  прослушивания и настраивают свою
аппаратуру.  Если же рабочая частота передатчика совершенно неизвестна
(некоторую  ориентацию  здесь  способны  дать  габариты  и конструкция
применяемых антенн...),  попытайтесь выявить  (или  спровоцировать...)
момент   радиосообщения  и  внимательно  просканируйте  весь  диапазон
широковолновым радиоприемником (сканером),  засекая  нужную  волну  по
нюансам  разговора  или  голосу общающегося.  Иногда подобный перехват
удается   провести   посредством   телевизионного   или   вещательного
ЧМ-приемника,   либо   западного   "сэконд-хэндового"   радиотелефона.
Уникальными  возможностями  для  подслушивания  обладает  радиотелефон
"Алтай", выпускаемый местным заводом в белорусском городе Молодечно.
     Зная, что прием  и  передача  зачастую  происходят  на  различных
частотах,  целесообразно иметь под рукой два радиоприемника, каждый из
которых надзирает за отдельной полосой контролируемого диапазона.
     Так как   факт  радиоперехвата  не  засекаем,  для  нейтрализации
подобной неприятности разработаны активные уловки,  вроде  кодирования
радиосигналов  или  резко  "прыгающей" частоты.  Встретившись с такими
изощрениями, проще будет не преодолевать их, а переходить на иные пути
добычи потребной информации.
     Некоторые трюки,  впрочем,  можно  попытаться  и   обойти.   Так,
использование  двойной  модуляции  частоты,  когда  информация сначала
модулируется на довольно низкой (скажем,  90 кГц) частоте, а затем еще
раз  модулируется на заметно более высокой (скажем,  150 МГц) частоте,
порождает сигнал,  не расшифровываемый ни приемником,  настроенным  на
150 МГц,  ни приемником, ориентированным на 90 кГц. Но проблема просто
решается при задействовании двух приемником одновременно.



     Будучи самым  используемым  инструментом  в  ходе   человеческого
общения,  телефон предоставляет уникальные возможности для незаметного
проникновения в личную и деловую жизнь своего владельца.
     Слушать удается как ведущиеся телефонные переговоры (приемы 1-3),
так и все беседы в комнате при  положенной  на  рычаг  трубке  (приемы
4-7).  Здесь  может  потребоваться  некоторая  "доработка" телефонного
аппарата (приемы 6 и 7),  хотя зачастую ухитряются  обходиться  и  без
таковой (приемы 1-5).
     Доработка перспективного   телефона    выполняется    посредством
имитирования  его поломки ("игра на линии") и дальнейшей переделки под
прикрытием "ремонта",  либо при нелегальном посещении  контролируемого
помещения.
     Регистрировать переговоры  можно  как  "на   слух",   так   и   с
применением  автоматической  записи на магнитную ленту,  когда пишущий
магнитофон начинает действовать лишь с момента снятия трубки (реагируя
на  то,  что  фиксируемое  напряжение  в линии снижается с исходных 60
вольт до рабочих 5-20  вольт),  либо  после  появления  звуков  голоса
(специфичная   система   VOX,  реализуемая  в  некоторых  промышленных
диктофонах).  Самодельные   конструкции   подобных   устройств   можно
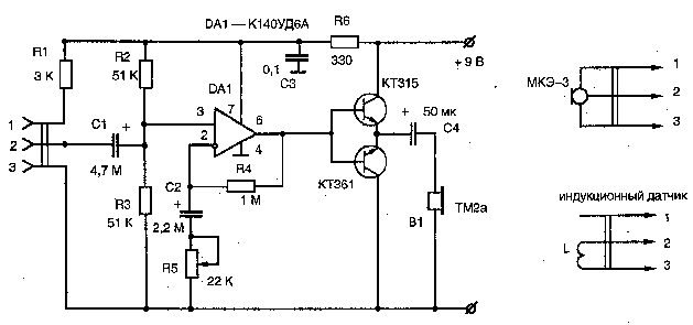
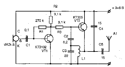
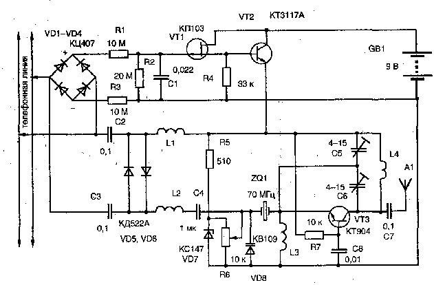
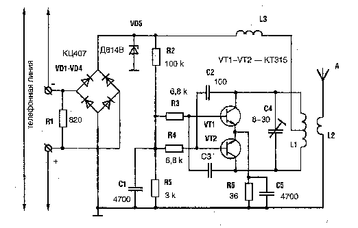
выполнить по схемам, приведенным в приложении на рис. 14 и 15.
     *Общепринятые варианты  подслушивания  контролируемого   телефона
таковы*:
     1. Непосредственное подключение к телефонной линии:
     - прямо на АТС, подкупив ее сотрудника;
     - где-нибудь на линии,  в  произвольном  месте  между  телефонным
аппаратом и АТС.
     2. Индукционное (т.е.  бесконтактное)  подключение  к  телефонной
линии.
     3. Помещение радиожучка на телефонной линии, подсоединяя его:
     - в разрыв цепи;
     - параллельно цепи.
     4. Слушание через звонковую цепь.
     5. Внутрикомнатное прослушивание  с  применением  высокочастотной
накачки.
     6. Встраивание в аппарат жучка,  активизируемого  по  коду  через
любой дальний телефон. Код при этом может быть либо частотным (внешний
звукогенератор...), либо импульсным (паракратный набор номера или плюс
еще одной цифры...).
     7. Встраивание  в  аппарат  жучка,  временно  блокирующего  рычаг
трубки в ходе опускания ее после ответа на обычный телефонный звонок.



     *1. Непосредственное  подключение  к  телефонной линии*.  Таковое
подключение  осуществляется  на  телефонной  станции,  либо  на  любом
участке   линии   от   телефона   до   АТС,   причем   чаще   всего  в
распределительной  коробке  в  зоне  дома,  где  обычно   производится
разводка  кабеля.  Чтобы  обнаружить нужные вам провода,  подсоедините
переносную телефон-трубку  к  любой  паре  промежуточных  контактов  и
набрав  номер  объекта,  проскользите кончиками пальцев,  завалявшейся
монеткой или же неоновой лампой и светодиодным  пробником  (рис.  9  в
приложении) по отдельным клеммам,  отмечая (через удар током,  сильное
искрение,  вспыхивание светодиода) явно повышенное  (до  100  вольт  и
более) напряжение вызова. Отыскав подобным образом требуемую линию, от
нее   пробрасывают   к   близлежащему   посту    прослушивания    либо
установленному  невдалеке  магнитофону  неприметную отводку,  причем в
качестве последней  можно  задействовать  всегда  имеющиеся  в  кабеле
неиспользованные провода.
     Так как АТС переключает линию на  разговор  при  шунтировании  ее
сопротивлением   порядка   1000   Ом,   применение  для  подслушивания
аппаратуры с низкоомным входом вызывает перегрузку телефонной  сети  и
падение   напряжения  с  вероятностью  обнаружения  вашего  внедрения.
Понимая  это,  параллельный   телефон   следует   подсоединять   через
сопротивление   номиналом   в  600-1000  Ом.  Заурядные  демаскирующие
признаки плохо выполненного подключения  проявляются  прежде  всего  в
щелчках   и   перепадах   громкости,   возникающих   при  разговоре  в
контролируемом телефоне.
     *2. Индукционное  подсоединение  к  телефонной  линии*.  В данном
варианте уклоняются от непосредственного контакта с телефонной  сетью,
поэтому его довольно трудно обнаружить. Принцип действия такой отводки
строится на том,  что вокруг  обычных  проводов  при  проходе  по  ним
электрического   тока   возникает   электромагнитное  поле,  наводящее
индукционный ток в расположенном поблизости проводнике. Для реализации
сего  эффекта  надобно один из проводов наружной линии обмотать вокруг
миниатюрной многовитковой катушки с  ферромагнитным  сердечником  либо
разместить  его вблизи подобной же катушки в броневом сердечнике (рис.
10   в   приложении).   Выводы    импровизированного    трансформатора
подсоединяют    к    усилителю    низкой    частоты,   диктофону   или
микропередатчику.  Недостаток подобного приема заключается в  довольно
незначительной   величине   засекаемого   сигнала,  требующего  обычно
дополнительного  усиления,  и  в  явной  склонности   такого   датчика
реагировать на посторонние электромагнитные влияния.
     При наличии  хорошего  электромагнитного  детектора,  оптимальный
перехват иной раз удается выполнять на расстоянии 10-80 сантиметров от
телефонной линии,  разместившись по соседству (в офисе,  за стеной,  у
телефонной будки..) с контролируемым аппаратом.
     *3. Радиопередающее подключение к телефонной линии*. Весьма часто
применение  демаскирующих  отводок  вызывает  некоторые  затруднения и
тогда    имеет    смысл    пользоваться    радиожучком,    превосходно
ретранслирующим  циркулирующую  информацию в подходящее для вас место.
Различают   два   способа   такого    подключения,    известные    как
последовательное и параллельное.
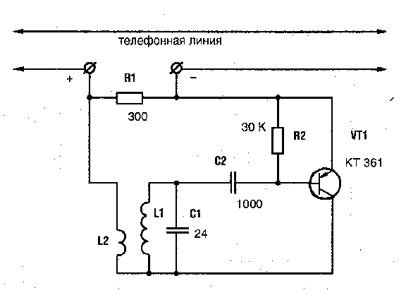
     В первом случае  миниатюрный  передатчик  "вклинивают"  в  разрыв
линии и питают его ее электроэнергией (рис.  1).  Это позволяет вашему
жучку действовать  неограниченно  долго,  но  вот  напряжение  в  сети
несколько снижается, что может привести к его обнаружению.
     Во втором стандартном варианте  передатчик  обеспечивается  своим
питанием и подсоединяется параллельно линии (рис.  2).  Данный образец
сложнее обнаружить (передается бросок тока в  линии  только  в  момент
подсоединения...),   но  период  его  автономной  работы  ограничивает
емкость применяемых батарей (каковая, впрочем, тратится лишь в периоды
задействования телефона).
     В конструктивном  исполнении  все  эти  устройства   представляют
маломощные,  преимущественно  транзисторные  генераторы ультракоротких
волн (27-900 МГц),  модулированные  перепадами  тока,  возникающими  в
линии  при  телефонном  разговоре.  Действуют  они нередко на частотах
радиовещательного  диапазона  (66-74  МГц  и  88-108  МГц),  что  дает
возможность  принимать  их  передачи  на обычный УКВ-радиоприемник,  в
радиусе десятков-сотен метров,  хотя в этом  случае  все  передаваемое
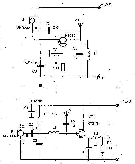
могут  слушать  и  другие.  Простенькие  схемы самодельных радиожучков
показаны в приложении на рис. 11 и 12.
     При возможности  имеет  смысл вмонтировать миниатюрный передатчик
прямо в телефонный аппарат с тем,  чтобы он нагло перехватывал не одни
лишь телефонные переговоры, но и прочие беседы в данной комнате.
     Не мешает знать,  что многочисленные телефоны с кнопочным набором
номера  сами  являются источниками паразитных радиоизлучений,  так что
разговоры проводимые,  к примеру,  с применением  аппарата  ВЭФ  ТА-12
можно пробовать  засечь  на  частоте  ДВ-диапазона  (около  150 кГц) и
дистанции в сотню-другую метров.
     Различные передающие   подсоединения   обычно  ищут  по  заметным
перепадам напряжения в телефонной  линии,  по  отражению  зондирующего
сигнала  от  неоднородностей  в  местах внедрения или же сканированием
УКВ-диапазона.  Способом профилактики служит подавание в изолированную
телефонную   цепь  мощного  высоковольтного  импульса,  "подрывающего"
всяческие инородные подсоединения.  Эффективным методом защиты принято
считать  и  упреждающую  постановку  ультразвуковой или низкочастотной
помехи, но сие нейтрализует лишь последовательные передатчики плюс все
те, что применяют как антенну жилу линии.
     *4. Слушанье через  звонковую  цепь*.  При  положенной  на  рычаг
телефонной  трубке  с  линией  соединен электрический звонок,  каковой
бывает  электромагнитным  либо  капсюльным   (пьезоэлектрическим   или
электродинамическим).  Первый  из  них  подключен  к  линии фактически
напрямую, тогда как второй - через радиосхему. Непосредственное (через
конденсатор)    подключение    электромагнитного    звонка   позволяет
реализовать  его   обратимость,   или   "микрофонный   эффект",   т.е.
возникновение  в нем электрического тока при различных механических (в
том числе и от звуков голоса) вибрациях подвижных частей  конструкции.
Амплитуда  возникающего сигнала достигает нескольких милливольт,  коих
хватает для его дальнейшей обработки,  проводимой, впрочем, не слишком
далеко от используемого аппарата (рис. 3).
     Недостаток сего метода состоит в том,  что представленный  эффект
очень просто нейтрализовать,  если включить последовательно со звонком
(а  практически  -  на  входе  телефона)  парочку  запараллеленных  во
встречном направлении кремниевых диодов, обладающих для незначительных
напряжений слишком большим сопротивлением.  Сходную  защиту  иной  раз
используют в отдельных образцах промышленной аппаратуры.
     *5. Внутрикомнатное прослушивание с  применением  высокочастотной
накачки*.  Это  еще один оригинальный вариант позволяющий услышать то,
что происходит в комнате при положенной на рычаг трубке.  Действуя  по
данной  методике,  к  одному из проводов линии подключают относительно
какой-то общей массы  (труб  канализации  и  отопления,  металлических
фрагментов  оформления  и  фундамента строения) регулируемый (от 50 до
300 кГц) высокочастотный генератор и  вращая  ручку  настройки  ловят,
ориентируясь   по  скачку  тока,  точку  его  резонанса  с  телефоном.
Обнаруженная частота здесь и  будет  рабочей.  Хотя  трубка  вроде  бы
отключена   от   аппарата,  внешние  высокочастотные  колебания  через
всяческие конструктивные элементы проникают  в  его  схему  и  активно
модулируются микрофоном,  реагирующим на звуки в комнате.  Наполненный
информацией сигнал через парный провод линии поступает на  стандартный
амплитудный  детектор,  а  затем  усиливается  и  передается  на  пост
прослушивания либо к пишущему входу диктофона (рис. 4). Для нормальной
работы приведенного устройства его требуется подключать по возможности
ближе  (где-то  в  радиусе  десятков  метров...)   к   подконтрольному
аппарату,  а  необходимые  подсоединения выполнять лишь экранированным
проводом, избегая таким образом нежелательной взаимоиндукции.
     Сходным образом   снимают   информацию  и  с  бытовой  аппаратуры
(радиоточки,  электрических часов,  противопожарной  сигнализации...),
при наличии у нее проводного выхода из помещения.
     Так как вышеприведенная система в сущности  пассивна,  обнаружить
ее вне момента использования трудно, но вот обойти не очень-то сложно,
подключая параллельно  микрофону   соответствующий   (0,01-0,05   мкФ)
конденсатор,   закорачивающий  на  себя  всевозможные  высокочастотные
колебания.
     *6. Жучок с кодовым включением через любой телефон*. В упрощенном
варианте в схему телефонного  аппарата  вводят  небольшое  резонансное
реле,   тщательно   настроенное   на   определенную  частоту.  Набирая
абонентский номер на любом  другом  телефоне,  вы  подносите  к  своей
трубке   портативный   звукоизлучатель  (бипер),  тон  которого  здесь
соответствует  частоте  срабатывания   реле,   так   что   оно   четко
переключится  прежде  чем  проявится  звонок,  каковой будет тотчас же
отсоединен от линии,  а трубка переведена в  положение  для  разговора
(рис. 5).
     Эта схема имеет несколько уровней изощренности:  от классического
усложнения  запускающего кода (что обычно затрудняет обнаружение),  до
использования специального усилителя и  микрофона  (для  значительного
улучшения  качества звучания).  Следует сказать,  что иной раз телефон
успевает все же прозвенеть до того как переключится резонансное  реле,
и  такой  подсокращенный  звонок  намекает  умному  хозяину,  что  его
возможно   подслушивают.   Дополнительным   настораживающим   моментом
выступает  занятость рабочей линии в те долговременные периоды,  в кои
она в общем-то должна быть свободной.
     Популярный вариант  со  включением  дополнительного  микрофона на
прослушивание   помещения   через   парный   набор   номера    требует
задействования  несколько  более сложной,  но вполне изготовляемой при
необходимости аппаратуры.
     *7. Жучок  с  блокировкой  рычага  трубки  после кратковременного
снятия ее для ответа на обычный телефонный звонок*. Данное монтируемое
в  телефон  приспособление  обеспечивает оставление микрофона на линии
после того как хозяин,  сделав ответ на  вызов,  возвращает  на  рычаг
трубку.  Но  последняя  при  этом  не  отсоединяется до тех пор,  пока
слушающий на противоположном конце не положит на рычаг и свою  трубку,
так   что   с   АТС  пойдут  своеобразные  сигналы  отбоя,  засекаемые
вмонтированной в контролируемый аппарат радиосхемой, которая, наконец,
возвращает  телефон  в  исходное  состояние.  Недостаток  сего  метода
состоит в том,  что его вполне случайно может обнаружить  всякий,  кто
позвонит  по тому же номеру,  а также "загадочная" занятость линии для
всех прочих абонентов.



     При активной разработке изучаемого  объекта  невозможно  обойтись
без скрытного наблюдения за его личной и деловой жизнью,  выполняемого
чаще  всего  визуальными  (слежка)  и  акустическими   (подслушивание)
методами.  Таковое  отслеживание  производят как эпизодически (с целью
выяснения определенного факта),  так и  постоянно  (для  ориентации  в
текущей ситуации и ее реальных изменениях).



     К наблюдению  за  каким-либо  стационаром - некоторым помещением,
строением, открытой площадкой - прибегают, чтобы:
     - выявить его посетителей;
     - перехватить разыскиваемого человека;
     - "разработать" сей объект для проведения конкретной акции.
     Тщательное контролирование  посетителей  надо   осуществлять   из
удачно  выбранного  места,  с  какового  превосходно  наблюдаются  все
возможные подходы к объекту и где  длительное  пребывание  незнакомого
индивида  не  способно  вызвать  нежелательного  подозрения  (столик в
кафетерии  напротив,  остановка  городского  транспорта,   имитируемая
рабочая или торговая точка..,  а иной раз и всецело незаметно (чердак,
крыша или квартира в подходящем доме...).  Если же  тайное  размещение
связано   с   определенными   затруднениями,   следует  почаще  менять
привлеченных к делу  людей,  прибегать  к  слежке  из  автомобиля  или
имитировать его поломку с последующим ремонтом.
     Будучи в рабочем помещении, занавесьте окна легкими занавесками и
смотрите  из  глубины  комнаты,  а  чтобы  не  обнаружить себя резкими
демаскирующими бликами применяемой оптики, пользуйтесь так называемыми
"световыми туннелями".
     Должную фиксацию  посетителей  в   случае   необходимости   можно
осуществлять  путем  фото-  и  видеосъемки,  причем незаметность таких
действий   обеспечивается    применением    портативной    аппаратуры,
длиннофокусных  объективов и различных (в том числе импровизированных)
приставок бокового обзора (рис. 6).
     При фотографировании   в  сумерках  применяют  инфрахроматические
материалы  вкупе  с  фотовспышкой  с  черным  светофильтром,  или   же
используют      различные      методики,      резко      увеличивающие
светочувствительность обычных пленок до необходимых  2000-4000  единиц
ГОСТа.
     *Здесь можно использовать такие способы, как*:
     - промывание   пленки   в  холодной  воде  перед  экспонированием
(повышение чувствительности в 2 раза);
     - промывание    пленки    в   слабом   растворе   аммиака   перед
экспонированием (повышение в 3 раза);
     - легкое засвечивание уже отснятой пленки путем перекручивания ее
в фотоаппарате при открытом затворе в полутемной комнате (повышение  в
5-6 раз);
     - основательное увеличение (до 10-13  минут)  времени  проявки  в
фенидон-гидрохимоновом проявителе (повышение в 4-6 раз);
     - использование  специального   проявителя   -   сульфит   натрия
безводный (100 г),  гидрохинон (5 г),  бура (3 г), борная кислота (3,5
г),  бромистый калий  (1  г),  фемидон  (0,2  г),  вода  (до  1  л)  -
позволяющего  регулировать  степень усиления чувствительности пленки в
соответствии со временем проявления (до 10-15 раз при 20-30 минутах).
     *Разрабатывая стационарный объект для конкретной акции выясняют*:
     - все пути подхода к нему;
     - перспективные пути ускользания и прятанья;
     - временной распорядок  его  обитателей и соседей;
     - график движения проходящего рядом транспорта;
     - временные   моменты   звукового   прикрытия   (шум   стандартно
проходящего  поезда или звонки в школе,  звон церковных колоколов...);
     - систему охраны;
     - внутреннюю планировку объекта.
     *Внутреннюю планировку объекта с должной точностью определяют*:
     - попросту заглядывая в окна;
     - проникая в помещение или на желаемую площадку,  маскируясь  под
какого-либо посетителя,  человека из обслуги, вызванного ремонтника, и
любого прочего не привлекающего пристального внимания персонажа;
     - ориентируясь   по  разным  сходным  объектам,  вход  в  которые
доступен;
     - столов   знающих   людей   (обитателей,   строителей,  обслуги,
контактеров...);
     - по   рабочим   чертежам   из   архивов   (из  бюро  технической
инвентаризации, или        местного        архитектурно-планировочного
управления...).



     Тщательно следить за людьми приходится с конкретной целью:
     - их детальной разработки для предполагаемой вербовки, похищения,
шантажа, разоблачения или ликвидации;
     - выхода на разыскиваемое  лицо,  каковое  вероятно  контактирует
(или может контактировать) с объектом;
     - выяснения места сбора выявляемой группировки;
     - засекания единомышленников объекта.
     Человек, осуществляющий наблюдение должен по  возможности  иметь:
неприметную  внешность,  отличную  память,  оптимальную  выносливость,
железное   терпение,   мгновенную   реакцию,    полноценное    зрение,
превосходный   слух,   ярко   выраженное   умение   импровизировать  и
ориентироваться в ситуации.
     Учитывая, что периодическое появление одних и тех же лиц способно
насторожить объект,  надо  перемежать  средства  личной  маскировки  -
ложные   очки,   выворачиваемые  куртки,  убираемые  сумки  и  пакеты,
обновляемые головные уборы - и время от времени подменять друг  друга.
Следует  помнить,  что  иной  раз  лучше  потерять  объект,  чем  быть
обнаруженным.
     В первоклассном  наблюдении  участвуют  как  правило  от  3  до 8
человек и несколько автомобилей.  В каждой из машин тасуются обычно по
3 человека,  в том числе хотя бы одна женщина. Агентура общается между
собой посредством радиосвязи (что иной раз затруднительно  на  людях),
простенького  телеуправления  локальными электрическими ударами,  ну и
разумеется, путем обговоренного заранее специального визуального кода.
     Все знаки   используемого   в   слежении   кода  ориентируемы  на
естественность и  в  одном  из  афишированных  вариантов  выглядят,  к
примеру, так:
     - "объект стоит" - руки перекрещены за спиной;
     - "объект повернул налево" - левая рука упирается в левое бедро;
     - "объект повернул направо" -  правая  рука  упирается  в  правое
бедро;
     - "объект пересекает улицу" - полуоборот в сторону  со  сгибанием
одной руки у груди;
     - "объект развернулся и идет в обратном направлении" - одна  рука
подносится к голове;
     - "объект ушел из-под контроля" - обе руки поднимаются к голове;
     - "меня  надо  сменить"  - пристальный взгляд на часы с имитацией
удивления.
     Всякие поползновения  объекта и его контакты (номера автомобилей,
маршрут,  расписание поездов...) надиктовываются,  если  возможно,  на
карманный  диктофон,  а  по завершении наблюдения точно фиксируются на
бумаге.
     Человеку проводящему  слежение  надо уметь засекать свой объект в
толпе  народа  и,  ориентируясь  по   собранной   дотоле   информации,
превосходно  знать  его  обычный гардероб,  походку,  предпочтительные
маршруты,  места   жительства   (дача,   родственники,   знакомые...):
характерный распорядок дня,  частых контактеров,  типы,  цвет и номера
используемых автомобилей...
     Слежку за  интересующим вас человеком надо выполнять настраиваясь
на определенную задачу, ибо общая установка на наблюдение всегда менее
продуктивна,  чем  конкретная.  Метод визуального контроля существенно
зависит как от ваших собственных возможностей и имеющейся цели,  так и
от сопутствующих  условий,  в  том  числе  от  степени настороженности
(изощренности) объекта.
     *При слежении  за  пешеходом  применяются такие формы наблюдения,
как*:
     1. "Цепочкой".  Непосредственно  за  объектом надзирает лишь один
человек,  а все прочие растянутой цепочкой размещаются позади,  причем
каждый  из  последующих ориентируется по предыдущему.  Контактирование
между  звеньями  осуществляется  по  рации  или  визуальному  коду,  а
расстояние  между ними зависит от конкретных внешних обстоятельств (на
запустелых улицах - побольше,  на довольно многолюдных - поменьше...).
При  случайном выявлении основного агента,  он сейчас же уступает свое
место второму и,  уходя от визуального  контакта,  применяет  средства
личной маскировки.
     2. "Двойной цепочкой". Данный вариант прокручивают на многолюдных
улицах,  и  он  характеризуется  тем,  что наблюдающие шагают по обеим
сторонам главной трассы,  время от времени переходя с одной ее стороны
на  другую.  Иной  раз они могут идти по параллельным улицам,  отмечая
свой объект на перекрестках и поддерживая связь с основным агентом  по
рации.
     3. "С  опережением".   Здесь   следящие   периодически   обгоняют
подконтрольного клиента, каковой таким образом оказывается между ними,
что дает  предельно  плотный,  а  следовательно  и  более  эффективный
контроль.
     4. "С   подключением".   Наблюдающие   занимают   (как   правило,
перебрасываются  транспортом) подходящие места на пути предполагаемого
перемещения объекта и активно подключаются к слежению в разных  точках
его  движения.  Это  перспективно там,  где очень трудно не привлечь к
себе чужого внимания.
     5. "Сетью". В неприятные моменты неожиданной утраты объекта, весь
ближайший район охватывается как бы сжимающимся кольцом, каковое после
нахождения  заветной  цели  постепенно  вновь  растягивается в прежнюю
стандартную цепочку.
     6. "Вплотную  с подстраховкой".  Пребывая в местах с максимальной
концентрацией людей (на вокзалах,  в магазинах,  в метро...) можно  не
избегать  сближения  с  объектом  вплотную,  что обычно осуществляется
одним-двумя наблюдателями,  в  тот  момент  как  остальные  обретаются
снаружи  и пассивно контролируют все имеющиеся входы и выходы.  Здесь,
как впрочем и  всегда,  не  рекомендуется  встречаться  с  наблюдаемым
глазами.
     7. "Разовое  с  передачей".  В  кафе,  "забегаловку"  и  ресторан
человек  из  группы  слежения  входит  вместе с объектом,  размещается
неподалеку от него и,  обычно не вступая в никакие разговоры, покидает
заведение  непосредственно  за  ним.  После выхода клиент "передается"
остальным,  а засветившийся тут контролер по возможности  снимается  с
последующего наблюдения.
     Иногда случается,  что искушенный человек пробует  "провериться",
стремясь   выявить   вблизи   себя  постоянно  появляющихся  лиц  либо
обнаружить в  действиях  отдельных  окружающих  некоторые  странности.
Встречное  отслеживание осуществляется с привлечением другого индивида
или же самостоятельно,  с применением отражающих поверхностей  (витрин
магазинов...),  наблюдения из зданий (из окна квартиры либо лестничной
площадки...), и просто через обоснованное поворачивание головы (осмотр
товаров на лотке,  имитация потери некого предмета...).  Необычности в
соседском поведении иной раз  высвечивают  резкими  "зигзагами"  своих
перемещений  (неожиданными  изменениями  темпа и направления движения;
покиданием кинотеатра при начале сеанса...) с отмечанием  реагирования
на это окружающих.
     Слежка за  перемещающимся  автомобилем,  в  сущности   напоминает
наблюдение  за пешеходом.  Здесь обычно применяют несколько автомашин,
разного цвета и неброского типа,  часть коих движется по  параллельным
улицам и подключается к рабочей ситуации с помощью радиосвязи. "Сидеть
на хвосте" у едущего впереди  объекта  допустимо  лишь  на  протяжении
сотен,  от силы - пары тысяч метров, после чего требуется обязательный
отрыв с подключением к слежению очередного автомобиля.  Чтобы избежать
досадных  неожиданностей,  следует  отлично  знать  все техвозможности
(быстроту набора скорости,  радиус поворота...),  дорожные особенности
района, уровень мастерства и привычки водителя.
     Когда опытный объект излишне насторожен или чего-то опасается, он
может попытаться  ускользнуть  от  ожидаемого контроля,  пользуясь для
этого шаблонными приемами,  опирающимися  чаще  всего  на:  *изменение
ритма,  направления и типа движения; создание позади себя определенных
барьеров;  усыпление бдительности сопровождающих...* Очень  часто  при
этом реализуют такие трюки, как:
     1. Продолжительное петляние в многолюдных (метро,  вещевые рынки,
вокзалы...) местах.
     2. Использование проходных подъездов,  квартир или дворов и  всех
прочих "черных" ходов.
     3. Частая смена транспорта.
     4. Переходы в метро с одной линии на другую.
     5. Применение лабиринтных маршрутов.
     6. Неожиданное  ускорение  после  поворота  за  угол с намерением
проскочить заметно дальше, чем можно было ожидать при обычной скорости
движения.
     7. Покидание мчащегося транспорта в кратковременные  моменты  его
явного ухода из-под контроля.
     8. Неожиданный проезд на красный свет  или  же  под  опускающимся
шлагбаумом.
     9. Создание  у  сопровождающих  впечатления  движения  в   хорошо
известном  направлении  и  неожиданное  ускользание  с предполагаемого
маршрута.
     10. Вход  и  выход  из  общественного транспорта при закрытии его
дверей.
     11. Изменение   внешнего  облика  и  походки  в  краткие  периоды
обоснованного  ускользания  от  визуального  контроля  (в  туалете,  в
подъезде, у друзей...).
     12. Явная агрессия  по  отношению  к  выявленному  наблюдателю  с
перспективой разжигания скандала.
     При внезапном исчезновении объекта предпочтительно  не  дергаться
наобум,  а  немного переждав,  взять под тщательный контроль все места
его возможного появления.



     Слушать посторонние переговоры можно либо непосредственно, будучи
неподалеку  от  беседующих,  либо  применяя  техсредства и пребывая на
приличном удалении от объектов.
     Если интересующая  вас  беседа  протекает  на  открытом  воздухе,
прибегают к следующим возможностям:
     1. Ненавязчивое  фланирование,  с  периодической ротацией,  около
беседующих парочки безличных "топтунов",  как  бы  занимающихся  своим
делом, но фиксирующих чужие слова слухом, радиомикрофонами, а иной раз
и на портативные диктофоны.  Полный разговор при этом составляется  из
записей этих нескольких человек.
     2. Применение остронаправленных - параболических (рис.  7) или же
органных (рис.  8) - микрофонов. Данные устройства просто изготовить и
самому (склеив, к примеру, длинную - около 2 м - трубку из "бархатной"
бумаги и  поместив  в  ее  торец  диаметром  10-15  см  любой  в  меру
чувствительный  микрофон...).  Они  позволят  слушать   разговоры   на
расстоянии до полутора сотен метров. Чтобы повысить "дальнобойность" в
схеме  последующего  усилителя  можно  использовать   так   называемые
селективные  фильтры,  а  проще  -  бытовые эквалайзеры (многополосные
регуляторы  тембра),   активно   выделяющие   узкие   полосы   частот.
Недостатком здесь является необходимость нахождения укромной и удобной
точки,  в коей  можно  было  бы  без  подозрений  разместить  довольно
специфичную и габаритную аппаратуру.
     3. Оборудование предполагаемого места беседы  радиозакладкой  или
портативным диктофоном.
     4. Привлечение  тренированных  и  управляемых   по   радио   (или
посредством ультразвуковых свистков) животных,  преимущественно собак,
с закрепленными на них микропередатчиками.
     5. Считывание  с  губ.  Этот  вариант проходит только при наличии
необходимой  оптики,  подходящего  расположения  целевых  объектов  и,
конечно,  человека,  должным  образом  владеющего  данным  мастерством
глухонемых.  Выполнение расшифровки здесь, как правило, осуществляется
либо напрямую, либо с предварительной видеозаписи.
     *Для прослушивания бесед в публичном  месте  -  кафе,  ресторане,
казино, театре... - хорошо срабатывают нижеследующие приемы*:
     1. Примитивное подслушивание,  с размещением возле беседующих (за
ближайшим   столиком,   ширмой,   окном,  стенкой...).  Для  улучшения
восприятия речи в таких условиях рекомендуется принять перед  подобной
акцией таблетку (0,2 г) барбамила.
     2. Применение  остронаправленного  микрофона,  закамуфлированного
под вписывающиеся в облик и ситуацию трость или зонтик.
     3. Тайное подбрасывание в район беседы микропередатчика.
     4. Предварительное    оборудование   некоего   места   проводными
микрофонами либо нешумящим диктофоном,  а лучше  -  радиозакладкой,  с
хитроумным   обеспечиванием  того,  чтобы  интересующий  вас  разговор
происходил именно там.
     5. Привлечение животных с закрепленными на них радиожучками.
     6. Считывание с губ,  расположившись  в  визуальной  близости  от
разговаривающих.
     7. Подкуп  официантов  или  прочего   обслуживающего   персонала,
каковые  могут:  уловить  отдельные  фрагменты  разговора,  обеспечить
посадку  объектов  на  специально  подготовленное  либо  удобное   для
прослушивания место, подложить клиентам микропередатчик...
     *Когда надобно узнать о содержании бесед в  закрытом  помещении*,
целесообразно  оснастить  используемую комнату специальной аппаратурой
(варианты 1- 4), хотя зачастую удается обходиться и без него (варианты
5-8). Общепринятыми и довольно эффективными средствами здесь являются:
     *1. Стационарные  микрофоны*.  Таковые  микрофоны  маскируются  в
самых  неожиданных  местах  контролируемого пространства и соединяются
тончайшими   проводниками    с    создаваемым    неподалеку    пунктом
прослушивания.  Отличными  микрофонами могут служить ДСП-плиты столов,
шкафов и книжных полок с жестко приклеенными к  ним  пьезокристаллами.
Тоненькие провода протягиваются под обоями,  либо в плинтусах и обычно
покидают комнату вместе с телефонной или  радиотрансляционной  линией.
Явным   недостатком   тут   является   необходимость  предварительного
проникновения в намечаемое помещение при довольно долгом -  вплоть  до
нескольких  часов  -  пребывании  там,  хотя иной раз подобное удается
обеспечить под прикрытием жилищного ремонта.
     *2. Радиожучки*.  Это  микропередатчики УКВ-диапазона,  кои могут
быть стационарными и подбрасываемыми.  Стационарные модели питаются от
электрической  сети  и  обычно  размещаются  в торшерах,  телевизорах,
электророзетках,  люстрах и других стандартных  элементах  обстановки.
Все  подбрасываемые  образцы  закладываются  при  тайном или легальном
посещении целевого помещения (посетителями,  уборщицами, подсобниками,
всевозможными   контрольными  либо  ремонтными  службами...)  в  самые
укромные его местечки (за книги,  среди бижутерии, в обивке мебели...)
и   нередко  маскируются  под  шариковые  ручки,  коробки  от  спичек,
безделушки и прочие непритязательные вещицы. Они могут подноситься как
обыденные   сувениры   (микрокалькуляторы,   зажигалки...),  подменять
наличные образцы (канцпринадлежности...),  а иной раз забрасываться  в
приоткрытую форточку.
     Главным недостатком  большинства  данных   конструкций   является
ограниченный  -  от  десятков  до  нескольких  сотен часов - период их
автономной работы,  в частности зависящий от излучаемой в пространство
мощности  (от  долей  до  сотен  мвт...) и электроемкости используемых
батарей.  Сами разговоры перехватываются на  расстоянии  от  5  до  30
метров,  тогда как радиус передачи информации составляет от десятков и
до  сотен  метров,   причем   для   увеличения   дальности   применяют
промежуточные   ретрансляторы,  а  жучки  иной  раз  устанавливают  на
металлические предметы -  трубы  водоснабжения,  радиаторы  отопления,
бытовые  электроприборы  -  каковые  служат  дополнительной передающей
антенной.
     Фирменные радиозакладки  работают  на  самых разных частотах,  от
десятка и до тысячи МГц, но для импортных образцов наиболее характерно
вклинивание  в  диапазоны  20-25  МГц,  130-174  МГц,  400-512  МГц...
Повышение рабочей частоты увеличивает дальность  действия  в  бетонных
зданиях,   но   здесь   требуются   специальные   радиоприемники  либо
преобразующие  приставки  (конвертеры)   к   бытовым   УКВ-приемникам.
Подстраховываясь  от  случайного  обнаружения,  профессионалы иной раз
задействуют  такие  уловки   как:   необычное   растягивание   спектра
передаваемого сигнала, сдвоенную модуляцию несущей частоты, уменьшение
исходной  мощности   с   применением   промежуточного   ретранслятора,
прыгающие изменения несущей...
     Очень эффективным  и  простым  приемом  обеспечения  безопасности
представляется  работа  в  радиовещательном  диапазоне  (66-74 МГц или
88-108 МГц) в непосредственной близости от волны мощной  радиостанции.
В   этом  случае  радиоприемники,  имеющие  автоматическую  подстройку
частоты (АПЧ),  обычно не реагируют на слабый сигнал из-за сильного, а
у    приемника    подслушивающего    для    значительного   обострения
избирательности данная система АПЧ отключается.
     Следует учитывать,   что  обнаружив  радиожучок,  опытный  объект
возможно будет гнать  по  выявленному  каналу  дезинформацию  или  же,
прикинув   его   небольшую   дальнобойность,  выйдет  на  записывающую
аппаратуру  и  устроит  там  засаду,   ожидая   выемку   либо   замену
наработанной   кассеты.  Если  же  взамен  магнитофона  обнаруживается
ретранслятор,  рядом с ним иной раз  размещают  генератор  радиопомех,
мощность   излучения   какового  постепенно  увеличивают,  порождая  у
подслушивающего впечатление   о   "сдыхании"   батарей    или    неких
неисправностях  в его приборе.  Здесь рассчитывают на то,  что хозяева
возможно явятся, чтобы устранить неполадку.
     Простенькие радиозакладки     можно    изготовить    и    самому,
ориентируясь,  к  примеру,  на  практические  схемы,  предлагаемые   в
приложении на рис. 13.
     *3. Сетевые передатчики*. Они действуют в низкочастотном (50-3000
кГц)  волновом диапазоне,  встраиваются в электроприборы,  а как линию
активной   связи   используют   провода   электропроводки.    Отловить
передаваемый  сигнал  можно  из любой соседней электророзетки,  однако
лишь до  силового  трансформатора,  каковой  надежно  заблокирует  всю
последующую передачу.
     *4. Телефонные  жучки*.  Эти  встроенные  в  телефон   устройства
предназначены  передавать  беседы  проводимые  в  закрытой комнате при
положенной на рычаг трубке через телефонную  линию.  То  как  они  это
могут делать,  мы уже упоминали, ну а нейтрализовать их весьма просто:
надо лишь вынуть вилку телефона из его розетки.  Впрочем,  следует  не
забывать,  что  во всякий телефон может быть вмонтирован и радиожучок,
действующий вне зависимости от телефонной линии.
     *5. Подведенные  микрофоны*.  Все  эти подсоединяемые к усилителю
микрофоны могут иметь самую разнообразную конструкцию, соответствующую
"акустическим  щелям",  обнаруженным  в  интересующем  вас  помещении.
Динамический   тяжелый   капсюль,   например,   можно    опустить    в
вентиляционную  трубу  с  крыши,  а плоский кристаллический микрофон -
подвести под дверь снизу. При отсутствии подобных лазеек надо обратить
внимание на электрические розетки, каковые в смежных комнатах иной раз
бывают спарены.  Сняв защитную коробку с одной из них,  вы  тем  самым
открываете  доступ  к  другой,  а через нее и в близлежащее помещение.
Иногда  имеет  смысл  просверлить  в  стене  малюсенькое  (1,5-3   мм)
отверстие  в  неприметном  для чужого глаза (где-нибудь в углу либо на
уровне плинтусов...) месте или воспользоваться замочной скважиной. Для
таких изощренных вариантов существует специфичный тонкотрубковый,  или
"игольчатый" микрофон,  звук  к  которому  подводится  через  довольно
тонкую трубку, длиной сантиметров в тридцать. Данный микрофон несложно
сделать самому (рис.  17 в  приложении),  сознавая,  что  при  твердой
трубке обычно получается лучший звук, тогда как гибкую удобно заводить
за всякие углы и пропускать через замочные скважины.
     *6. Контактный   микрофон*.   В   качестве  подобного  устройства
превосходно работает заурядный медицинский стетоскоп, спаренный, чтобы
повысить восприимчивость,  с подходящим микрофонным капсюлем,  который
подсоединен к чувствительному усилителю (в простых  случаях,  конечно,
можно обойтись и одним стетоскопом без какой-либо электроники).
     Очень качественные    контактные    датчики     получаются     из
пьезокерамических   головок  от  проигрывателей  либо  из  стандартных
пьезоизлучателей электрических часов,  звуковых игрушек,  сувениров  и
телефонов.   Так   как   данные   устройства  засекают  микроколебания
контактных перегородок,  требуется весьма тщательно выбирать место  их
приложения,   зависящее   от  конструктивных  особенностей  (сплошная,
пустотелая...) конкретной  стены.  В  некоторых  случаях  имеет  смысл
накрепко  приклеить  пьезоэлемент  к  доступной  стороне  стены  или к
наружному стеклу (у его края...) пусть даже парной рамы.  Превосходный
акустический  сигнал  иной  раз удается снимать с труб водоснабжения и
батареи отопления.
     *7. Импровизированные  резонаторы*.  Перехватывать  переговоры  в
смежном помещении часто  удается  и  без  спецаппаратуры,  прибегая  к
помощи случайно  оказавшегося  под рукой питейного бокала (или рюмки),
ободок которого плотно прижимается к стене,  а донышко (торец ножки) -
вплотную  к  уху.  Возникаемый  при  этом  звук  сильно зависит как от
состояния и структуры стены,  так  и  от  конфигурации  прибора  да  и
материала (лучшее - хрусталь), из которого он изготовлен.
     *8. Телефоны при наружной активации*.  В  отличие  от  телефонных
жучков  встраиваемых в аппарат,  к контролируемому телефону здесь даже
не прикасаются руками.  Информация снимается с  телефонной  линии  при
покоящейся  на  рычаге трубке путем внешней активации высокочастотными
колебаниями  ее  микрофона,  а  порой  и  через  перехват   микротоков
появляющихся  в  электромагнитном звонке при легчайших сотрясениях его
подвижных частей (рис.  3 и 4).  Следует сказать,  что сходным образом
можно перехватывать полезные микроэлектротоки не только с телефонного,
но и с квартирного звонка.
     Наряду с    вышеуказанными    существуют    и   другие   варианты
подслушивания,  применяющие,  к примеру,  посылаемые дальним выстрелом
"радиопули", модуляцию лазерного луча микровибрациями оконного стекла,
перехват побочных электромагнитных излучений бытовой  радиоаппаратуры,
бесконтактную активацию пассивных микроволновых излучателей... Все эти
методики,  впрочем,  профессионально сложны  и  не  рекомендуются  для
импровизированного применения.



     Слухи можно определить как официально неподтверждаемые сообщения,
циркулирующие по межличностным горизонтальным каналам.  Многие из  них
как правило,  правдоподобны, а нередко и достоверны, причем передают и
распространяют их даже те, кто этому ни капельки не верит.
     Относиться к любым слухам следует предельно осторожно, никогда не
забывая о стремлении людей выдавать предполагаемое за действительное и
о вероятности забрасывания кем-то целевой дезинформации.
     *При ведении активной  игры  тщательно  подобранные  слухи  часто
запускаются для*:
     - оптимального распространения правды;
     - создания определенного мнения о событии, ситуации или человеке;
     - подготовки  окружающих  (путем  притупления   их   реакции)   к
намечаемому деянию;
     - обхождения официальной цензуры;
     - выяснения отношения людей к сообщаемому;
     - разжигания смуты, страха и неуверенности.
     Заурядный компрометирующий  слух  "растворяется"  за  две недели,
хотя действие его обычно продолжается и дальше.
     Человек передает  подхваченные  слухи  из-за  свойственного  всем
желания похвастаться,  а поэтому перехватить их можно где угодно и  от
кого угодно. Очень активны в этом отношении все коммуникабельные люди,
всегда имеющие самые обширные социальные и деловые контакты.
     Чтобы выйти  на имеющиеся слухи в сущности не требуется прилагать
особенных усилий; надо попросту вращаться в подходящем обществе, чутко
слушать  окружающих  и  вести  непринужденные  беседы,  походя касаясь
разрабатываемой тематики и время от времени высказывая легкое сомнение
сообщаемому.



     Полученные разнообразными  путями  данные  станут  полезными лишь
после того,  как все они подвергнутся необходимому анализу и предельно
точному истолкованию. Подоплека многих деловых неудач заключается не в
игнорировании информации, а в ее ошибочном анализе.
     Сведения, как  правило,  оценивают по достоверности,  значимости,
согласованности, полноте, возможности использования.



     Любая поступающая извне информация  характеризуется  определенной
степенью  достоверности,  в  частности зависящей от степени надежности
источника и того, откуда он ее получил.
     Чтобы высветить  такие  показатели,  каждый  регистрируемый  факт
полезно дополнять специальной букво-цифровой отметкой,  причем буквами
обозначают  уровень надежности источника,  а цифрами - откуда тот взял
сведения.
     *Уровень надежности источника принято кодировать так*:
     А - абсолютно надежный и компетентный;
     Б - обычно надежный;
     В - не слишком надежный;
     Г - ненадежный;
     Д - неопределенный.
     *То, как  сей  источник  получил представляемые данные,  отмечают
следующим образом*:
     1 - сам видел;
     2 - слышал от того, кому можно верить;
     3 - слухи.
     Никогда не стоит забывать,  что не вызывающий  сомнений  источник
(А)  иной  раз  способен  передать  явную дезинформацию,  а совершенно
ненадежный тип (Г) -  сообщить  ценнейшие  данные.  Памятуя  об  этом,
двухзначковый  индекс  иногда  дополняют римской цифрой,  указующей на
предполагаемую  достоверность  факта:
     I - подтверждается  другими фактами;
     II - вероятно правдив (3 к 1);
     III - возможно правдив (1 к 1);
     IV - сомнителен (3 против 1);
     V - неправдоподобен;
     VI - неопределяем.
     Маркировка III-Б2, к примеру, означает, что фактура предоставлена
довольно надежным информатором (Б) со слов  знающего  человека  (2)  и
возможно - "50 на 50" - правдива (III).
     При наличии каких-либо сомнений в достоверности дошедших  до  вас
данных, их полезно отложить про запас в ожидании других подтверждающих
или опровергающих фактов.



     Следует учитывать, что поступающая к вам фактура может быть:
     - подсунута источнику как дезинформация;
     - искажена им преднамеренно;
     - изменена - произвольно или непроизвольно - в ходе ее передачи.
     Устные сообщения циркулирующие по горизонтальным  и  неформальным
каналам,  менее  подвержены искажениям,  а вот информация поставляемая
наверх чаще приукрашивается (ввиду явного  желания  угодить,  получить
вознаграждение, избежать наказания...), чем наоборот.
     При намеренной дезинформации применяют как заведомую ложь,  так и
утонченную   полуправду,  исподволь  подталкивающую  воспринимающих  к
ложным суждениям. Наиболее распространенными приемами здесь являются:
     - прямое сокрытие фактов;
     - тенденциозный подбор данных;
     - нарушение логических и временных связей между событиями;
     - подавание правды в таком контексте (добавлением  ложного  факта
или намека...), чтобы она воспринималась как ложь;
     - изложение важнейших данных на ярком фоне  отвлекающих  внимание
сведений;
     - смешивание разнородных мнений и фактов;
     - сообщение    информации    такими    словами,   которые   можно
истолковывать по-разному;
     - неупоминание ключевых деталей факта.
     *Искажения, возникающие в процессе ретрансляции исходных  данных,
чаще всего происходят из-за*:
     - передачи только части сообщения;
     - пересказа услышанного своими словами ("испорченный телефон");
     - пропуска фактуры через призму субъективно-личностных отношений.
     *Для успешности борьбы с вероятной дезинформацией следует*:
     - различать факты и мнения;
     - понимать,  способен  ли  информатор  по  своему положению иметь
доступ к сообщаемым фактам;
     - учитывать     субъективные    (самомнение,    фантазийность...)
характеристики источника и его предполагаемое отношение к  выдаваемому
сообщению;
     - применять дублирующие каналы информации;
     - исключать все лишние промежуточные звенья;
     - помнить,  что особенно легко воспринимается  та  дезинформация,
которую вы предполагаете, или желаете услышать.



     Польза от   наличествующих   материалов  резко  возрастает,  если
прояснены их  значения;  истина  обычно  раскрывается  не  в  исходных
данных,  а в их точном истолковании, ибо конкретный факт можно уяснить
лишь в сочетании с другими фактами.
     Переработка информации после предварительного собирания фактуры и
конкретной постановки проблемы подразумевает:
     а) систематизацию   фактов,   которые  сортируют  по  степени  их
отношения к тому или иному вопросу;
     б) выявление, основываясь на интуиции, ключевых моментов;
     в) построение предположений, объясняющих основные факты;
     г) получение, при необходимости, дополнительных данных;
     д) оформление  выводов  и  их  проверка  на  соответствие  другим
фактам.
     На отдельные вопросы  часто  удается  получить  прямой  и  вполне
определенный  ответ,  а  в  отношении других вынужденно ограничиваются
одними предположениями.
     Надо интуитивно    понимать,   каковые   из   моментов   являются
важнейшими,  а  не  концентрировать  внимание  сразу  на  многих,  что
способно заблокировать работу человеческого мозга.
     Иной раз  полезно  прокрутить  полученную  информацию  среди  лиц
имеющих  к  ней  некоторое отношение,  полагая что они помогут выявить
какие-либо связи с некоей побочной информацией.
     Высказав определенное  предположение,  его тщательно проверяют на
стыкуемость со всеми данными и когда  здесь  обнаружится  значительная
неувязка, а факты явно правдивы, - требуется изменить суждение.
     *Ложная интерпретация фактуры вероятна, если*:
     - представлены не все материалы,
     - некоторые из имеющихся под рукой фактов сомнительны,
     - все  внимание  сосредотачивается  лишь  на тех сообщениях,  кои
подтверждают ожидания и предположения аналитика.
     *Чтобы выявить  возможные  пути развития исходной ситуации,  надо
очень четко представлять*:
     - ключевых персон противника;
     - то,  к чему он в сущности стремится (как по максимуму, так и по
минимуму);
     - есть ли некая система в его действиях;
     - чего в них больше: логики, эмоций, традиций или случайностей;
     - существует ли такой союзник с которым противник не порвет;
     - явные границы допустимости в его деяниях;
     - уязвимые места противника;
     - то, как он оценивает ситуацию;
     - вероятные реакции на действия с каждой стороны.
     В некоторых  случаях  перспективно идти не от фактов к построению
гипотезы, а от выдвигаемой гипотезы к имеющимся фактам.  Так,  отлично
зная ключевое лицо противника,  мысленно поставьте себя на его место и
прикиньте,  что за "хитрую" игру он мог  бы  вести.  Исходя  из  этого
выведите  ряд  предположений  о  его намерениях и определите действия,
должные последовать при каждом из них. Сопоставив мысленные ситуации и
наличные   реалии,   отберите   ту   гипотезу,  каковая  соответствует
большинству имеющихся фактов.
     Оптимальную помощь  в  обработке  всей  подобной информации может
оказать  любая  простенькая  ЭВМ,  не  страдающая  субъективностью   и
ограниченностью ума человека.







     Для ведения  активной  важной  игры  требуются свои люди в ставке
противника.
     Свои люди    могут    быть    как   внедрены   (возможно,   после
предварительной вербовки) в нужную группу,  так и  завербованы  из  ее
членов.
     *Уровень, занимаемый своим человеком (или людьми) в группе  может
быть*:
     - высшим   (человек   из    руководящего    звена,    принимающий
непосредственное участие в выработке важных решений);
     - средним (лица,  имеющие доступ к устной или задокументированной
информации);
     - нижним (люди,  посещающие те места,  где общаются члены  группы
или находятся документы, но не допущенные к самим документам);
     - вспомогательным  (кадры,  не   имеющие   отношения   к   данной
структуре, но способные оказывать некоторое содействие).
     Ясно, что чем выше  уровень  своего  человека  в  разрабатываемой
группе,  тем  шире  у  него  возможности,  и  тем  большую ценность он
представляет для Вас.
     Своих людей  бережно  используют  для решения самых разнообразных
задач,  с  учетом  их   возможностей,   соображений   безопасности   и
потребностей момента:
     - для получения информации;
     - для  смещения  акцента  в деятельности организации в нужном для
Вас направлении;
     - для  содействия  в  осуществлении  определенных  акций с целью:
дискредитации группы (намеренные ошибки...),  полного  или  частичного
развала  группы  (разжигание  розни  и фракционности...),  внедрения и
проведения на  нужный  уровень  в  группе  своих  людей  (перерождение
группы...);
     - для  установления  подслушивающих   устройств   или   добывания
документов путем их сокрытого копирования (ксерография, пересъемка...)
либо непосредственного похищения;
     - для  помощи в решении некоторых промежуточных задач (пропуска в
нужное  помещение,  сведение   с   необходимым   человеком,   передача
конфиденциального пакета...).
     *Следует отчетливо различать и  не  путать  две  категории  своих
людей*:
     - соратников (членов вашей команды);
     - агентов (используемых).
     В зависимости от того,  к каковой из категорий причисляется  свой
человек, выбирается тактика взаимодействия с ним.
     Качественная вербовка  подразумевает  следующие  последовательные
этапы работы с объектом:
     - выявление;
     - разработка;
     - оценка;
     - привлечение;
     - проверка;
     - направление деятельности;
     - удержание;
     - прерывание контакта.
     Лучше, если на различных этапах работы объектом будут  заниматься
разные люди,  вроде как бы не связанные друг с другом. При стандартном
трехступенчатом подходе это:
     - *наводчик*  (акцентируется на предварительном изучении объекта,
после чего устанавливает личный контакт с ним, выполняя дополнительную
разработку  с  тестированием  и  выдает  заключение о целесообразности
использования данного человека а также  о  перспективных  направлениях
целевого воздействия на него);
     - *вербовщик* (устанавливает новый контакт с объектом, чаще всего
не связанный с предыдущим; в подходящее для этого время он открывается
и ждет реакции собеседника,  предварительно обеспечивая  себе  путь  к
отступлению);
     - *ведущий* (производит инструктаж и осуществляет все  дальнейшее
руководство, направляющее деятельность объекта).
     Приведенная здесь   схема   не   является   жесткой,   так    что
предварительной  разработкой (тестированием) индивида может заниматься
тот же самый человек,  каковой впоследствии осуществляет его  вербовку
(привлечение).  В свою очередь тот,  кто вербовал может,  продолжать и
дальше  контактировать  с  завербованным,   ориентируя   его   текущую
деятельность. Допустимы разумеется и все прочие варианты.



     *Некоего конкретного человека намечают вербовать в силу*:
     - его личных качеств;
     - явной оперативной необходимости;
     - дальновидного желания иметь резерв.
     *Выбирая подходящий  объект (кандидата на вербовку) прорабатывают
два направления*:
     - тщательно   выискивается  полезный  по  информированности  (или
другим своим возможностям) человек,  а потом уж намечаются  подходы  к
нему;
     - обстоятельно рассматривается определенный  контингент  людей  и
оттуда   отбирается   наиболее  доступное  по  уязвимости  или  личным
контактам лицо.
     *Первую привлекающую к кандидату внимание информацию получают*:
     - от его друзей и знакомых;
     - в ходе непосредственного общения;
     - наблюдая за его действиями и поступками;
     - по опубликованным (его или о нем) статьям, письмам, докладам...
     *Обратить на человека внимание заставляют*:
     - его маленькие и большие неудачи;
     - политические симпатии;
     - информированность;
     - оброненные замечания и высказывания;
     - проявляемая экзальтация (увлеченность);
     - недовольство;
     - необычное поведение (заторможенность, разгульность, специфичное
сексуальное общение...);
     - национальность;
     - религиозность;
     - место постоянной или временной работы и определенные связи...
     *Наиболее пригодны для вербовки те, кто*:
     - обладают  некими  моральными  изъянами  (страстью  к  алкоголю,
сексуальным  развлечениям,  наркотикам...)  или  же   "запятнанностью"
биографии;
     - имеют долги;
     - сильно привязаны к кому-либо (чему-либо);
     - по каким-то причинам (затруднения в карьере, сложности в личной
жизни, взгляды на проводимую политику...) очень сильно раздражены.



     На этом   этапе   производится   тщательное  изучение  выбранного
человека,  доскональная проверка  его  индивидуальных  способностей  и
возможностей.
     Разработка кандидата производится двумя путями:
     - очно (при личном общении);
     - заочно (без прямого контакта).
     Вся получаемая  информация  вносится  в  формализированное досье,
данные из коего используются для:
     - вербовки объекта;
     - предсказания действий объекта;
     - психологической и физической нейтрализации объекта.



     Для начала,  по  возможности,  собирают  сведения без вхождения в
непосредственное сношение с объектом.  Характерными источниками  такой
информации могут служить:
     - всевозможные  официальные  бумаги  и  документы  (личные  дела,
трудовые книжки,  архивы,  автобиографии, домовые книги, медицинские и
прочие учетные карточки,  обнародованные  (им  или  о  нем)  статьи  и
упоминания...);
     - интимная корреспонденция;
     - случайно  или специально перехваченные телефонные (и прочие...)
разговоры;
     - скрытное наружное наблюдение, видеосъемка и фотографирование;
     - контактеры (люди из круга общения объекта).
     *При оценке человека по словам его знакомых следует учитывать*:
     - в какой степени уведомитель знает того,  о  ком  он  отзывается
(т.е. как долго, интенсивно и глубоко они общались);
     - в каких отношениях пребывают аттестующий  с  аттестуемым  (если
отношения  плохие  -  характеристика будет с негативным уклоном,  если
дружелюбные - приукрашенная);
     - ситуацию,   в   которых   наблюдались   сообщаемые  особенности
(экстремальные, в соприкосновении с подчиненными, с вышестоящими...);
     - как  у  информатора развито то качество,  о котором он сообщает
(чаще всего за эталон человек берет самого себя,  и когда  упоминаемая
черта  у  него  ярко  выражена  - приводимая оценка будет занижена и -
наоборот).
     Собрав и  проанализировав  данные  о  кандидате  из разнообразных
доступных источников, можно переходить к следующему этапу: *разработке
данного объекта при прямом общении. Сюда входит*:
     - установление контакта (завязывание знакомства);
     - углубление контакта (подготовка почвы);
     - тестирование (углубление досье);
     - оценка (перспективность вербовки).



     Обретение знакомства  связано с созданием благоприятных ситуаций,
многие из коих могут возникать совершенно случайно,  и здесь главное -
не упустить подходящего момента.
     Оптимальные варианты  знакомства  по  своей   сути   зависят   от
профессии,  пола,  возраста,  национальности,  социального  положения,
культурного уровня,  характера,  привычек и всех прочих индивидуальных
особенностей человека, а кроме того от его настроения, места действия,
окружающей обстановки и иных в различной степени влияющих факторов.
     При знакомстве    сразу    же   выбирается   программа   общения:
симметричная или  дополнительная.  Симметричная  модель  подразумевает
равенство - возрастное,  интеллектуальное,  социальное... - общающихся
сторон,  факт которого четко устанавливается, и в дальнейшем участники
рьяно следят за его соблюдением (что позволено одному,  то дозволено и
другому...).  Дополнительная  программа   утверждает   неравенство   и
фиксирует дистанцию общения,  каковой затем строго придерживаются. При
знакомстве  соответствующая   программа   устанавливается   мгновенно,
переменить ее потом довольно трудно.
     Так как  большинство  людей  составляет  мнение  о  своих   новых
знакомых по начальному,  но очень живучему впечатлению,  оптимальной и
важнейшей  установкой   является   обеспечение   нужного   восприятия.
Требуемый  эффект  достигается  продуманным  выбором  (ориентируясь на
симпатии  и   антипатии   объекта   и   все   прочие   психологические
закономерности)  своего  внешнего  вида,  основной  манеры  поведения,
ситуации знакомства.  Следует  учитывать,  что  первое  впечатление  о
человеке на 55%  зависит от визуальных впечатлений,  на 38%  от манеры
говорить, и только на 7% - от того, что он говорит.
     *Среди психологических  нюансов,  существенно  влияющих на первое
впечатление, не мешает знать следующие*:
     - благодаря  "эффекту  ореола"  (окрашивания одним качеством всех
остальных) общее благоприятное  впечатление  о  человеке  обеспечивает
позитивные  оценки  его  пока  еще неизвестных (в частности моральных)
качеств; и - наоборот;
     - явная   физическая   привлекательность  улучшает  положительную
оценку  как  черт  личности,  так  и  отдельного   поступка   ("эффект
красоты");
     - если мужчину сопровождает хорошо одетая женщина  с  симпатичной
внешностью,  он  оценивается  выше,  чем  в сопровождении некрасивой и
неаккуратно одетой женщины;
     - мужчины  ниже,  чем  полагают  женщины,  оценивают их деловые и
интеллектуальные качества,  а  женщины  ниже,  чем  полагают  мужчины,
оценивают их физическую привлекательность;
     - когда встречаются мужчина и женщина, их взаимооценки происходят
в  эротических терминах,  хотя хорошо воспитанные люди не обнаруживают
своих эмоций;
     - слегка  проглядывающая застенчивость нередко воспринимается как
привлекательная и даже сексуально возбуждающая;
     - приветливая  доброжелательная улыбка способствует возникновению
доверительности, сметая недоверие и недопонимание;
     - честное, твердое, мужественное рукопожатие в сочетании с прямым
взглядом в глаза нравится почти всем;
     - энергичная  выразительная  жестикуляция  отражает положительные
эмоции и  воспринимается  поэтому  как  признак  заинтересованности  и
дружелюбия;
     - собеседник,  который  смотрит  в  глаза,   симпатичен,   однако
пристальный  или  неуместный  взгляд  в  глаза создает неблагоприятное
впечатление, ибо воспринимается как признак враждебности;
     - люди,  отклоняющие при разговоре корпус назад или развалившиеся
в кресле,  нравятся заметно менее,  чем те,  кто  наклоняет  корпус  к
собеседнику, ибо последнее воспринимается как заинтересованность;
     - женщина обычно нравится сильнее,  когда она сидит  в  спокойной
позе с непересекающимися руками и ногами;
     - скрещивание рук на груди  часто  разрушает  уже  образовавшийся
контакт и отталкивает собеседника;
     - выраженные  крайности  в  одежде  (очень  модный  или   слишком
устарелый   костюм...)   как   и   чрезмерная   безвкусица   порождают
отрицательное впечатление;  особенно бросаются в глаза стоптанная  или
грязная обувь и помятый головной убор;
     - женщины оценивают мужчину за 45-60  секунд,  обращая  при  этом
особое внимание на его речь,  глаза,  прическу,  руки,  обувь,  одежду
(именно в такой последовательности);
     - "по одежке" обычно не только встречают, но и доверяют;
     - дружеская   обстановка,   вкусная   пища,   приятная    музыка,
неожиданное  везение  и  все  прочие  моменты  приводящие  субъекта  в
благодушное настроение всегда способствуют  благоприятному  восприятию
им нового знакомого ("эффект переноса чувств");
     - исключительную  силу  в  создании   хорошего   настроения,   и,
соответственно, расположения собеседника к вам имеет комплимент, более
эффектный кстати, на отсвечивающем фоне антикомплимента себе.
     *Основополагающее впечатление  о  Вас  складывается у визави и по
вашим первым фразам*;  именно начальные  предложения  рождают  у  него
желание  или  нежелание  продолжать  исходный  разговор.  Постарайтесь
избегать:
     - извинений  и   выказываний   признаков   неуверенности   (кроме
специальных приемов);
     - даже малых проявлений неуважения и пренебрежения к собеседнику;
     - всякого  давления  на   визави,   вынуждающего   его   занимать
оборонительную позицию.
     Оптимальную манеру общения лучше выбирать  сообразуясь  с  хорошо
известными   (или   предполагаемыми)   индивидуальными   особенностями
объекта, причем можно рекомендовать:
     - с особо чувствительными и болезненно ранимыми - избегать всего,
что неприятно им, соблюдая, впрочем, меру, иначе они станут тиранами;
     - с недоверчивыми и подозрительными - быть предельно осторожным и
терпеливым;
     - со  сварливыми - быть твердым и решительным,  а если нужно,  то
дать отпор;
     - с  теми,  кто  капризен  -  разговаривать  спокойным тоном и не
обращать внимание на их капризы;
     - с донельзя хвастливыми и самоуверенными прибегать к иронии;
     - с  лицами  застенчивыми  или  без  чувства  юмора  -   избегать
какой-либо иронии.
     Не мешает помнить,  что любому человеку нравится,  если тактичный
визави:
     - сопереживающе выслушивает и воодушевляет его вести речь о  себе
(ничто более не льстит партнеру, как внимание...);
     - начинает разговор на интересующую его тему (или задает вопросы,
на которые приятно отвечать...);
     - явно дает почувствовать его значительность  и  превосходство  в
некой  области,  причем делает сие предельно искренне (фальшь довольно
редко удается скрыть, и она воспринимается как оскорбление...);
     - проявляет   к   нему   неподдельный  интерес  (а  не  старается
заинтересовать собой);
     - всегда помнит его имя;
     - не злоупотребляет незнакомыми словами;
     - излагает мнение, подобное его собственному.
     Психологическим приемом,  облегчающим начальный контакт, является
*общение с  объектом  как  со  своим  старым  знакомым*.  Эту  уловку,
впрочем,  можно использовать  только  при  соответствующей  психологии
человека и подходящей ситуации.
     В тех случаях,  когда  на  предварительную  (заочную)  разработку
человека  совсем  нет времени,  необходимо быстро проанализировать все
его внешние данные (лицо,  фигуру,  одежду...) и эмоциональные (манеру
говорить,  жестикуляцию...)  признаки  и  действовать  сообразуясь  со
своими предположениями.
     *Приемы знакомства*,   обеспечивающие   оптимальный   повод   для
начального обмена фразами могут быть, скажем, такими:
     1. Провоцирование объекта на оказание помощи Вам:
     - симулирование падения на улице, вывиха ноги, внезапной слабости
и иных симптомов, связанных со здоровьем;
     - имитация неловкости,  выронив в удобный момент что-либо из рук;
     - "забывание" своей вещи рядом с объектом;
     - обращение с просьбой дать  закурить  или  подсказать  несложную
(улицу, магазин, время...) информацию;
     - вызов  сочувствия  своей  беспомощностью   (сломанная   машина,
тяжелые вещи, растерянность на улице...); это - женский вариант.
     2. Прибегание к помощи, которую оказываете объекту Вы:
     - четкое  использование случайной (или организованной) неловкости
объекта  в  связи  с  недостатком  информации  о  чем-либо   (показать
определенное место, объяснить как что-то сделать...);
     - ловкое задействование случайной (а  то  и  предусмотренной  или
созданной)  потребности  для  объекта  в какой-либо услуге (пособить в
наладке машины, предложить лишний билетик, подвезти куда-либо...);
     - предложение  себя  объекту в качестве необходимого ему в данный
момент компаньона (для распития алкогольных напитков, игры в карты или
шахматы, "изливания души"...);
     - подключение к ситуациям,  обусловливающим  нарушения  дорожного
движения ("спасение" объекта...);
     - имитирование  нападения  на  объект  криминальных  элементов  и
"спасение" его в этой ситуации.
     3. Знакомство через общих знакомых:
     - выверенные  по  времени визиты к определенным лицам,  у которых
часто бывает объект;
     - непосредственная просьба к общему знакомому познакомить вас;
     - подведение общего знакомого к мысли  свести  вас  как  людей  с
общим  увлечением  (хобби)  или  способных  быть  полезными друг другу
(прямой просьбы при этом нет);
     - заинтересовывание  общего  знакомого его личной выгодой в вашем
знакомстве с объектом.
     4. Знакомство на различных культурных или спортивных мероприятиях
(в кино,  театре,  на концерте,  лекции,  стадионе...), обеспечив себе
соседство  с  объектом  посредством  "лишнего"  билетика,  билетами от
общего знакомого или каким-либо иным трюком:
     - подключение к эмоциональному реагированию объекта на зрелище;
     - инсценирование   роли   "новичка",   интересующегося    мнением
"специалиста";
     - выдача безадресных замечаний, могущих заинтересовать объект;
     - кратковременное  оставление своего места с просьбой присмотреть
за ним.
     5. Знакомство в очередях (за конкретным товаром, театральными или
транспортными билетами,  в ОВИР,  к врачу...),  учитывая, что общность
ситуации в какой-то мере сближает людей:
     - организация общего  разговора  на  какую-либо  актуальную  тему
(путем подачи безадресных реплик или реагирования на таковые);
     - кратковременное покидание очереди  с  просьбой  присмотреть  за
оставляемой вещью и местом.
     6. Знакомство на основе хобби:
     - одновременное  откровенное  занятие одним делом с объектом (бег
по утрам, игра в футбол или волейбол, тренинг в ушу...);
     - периодическое      посещение      мест      сбора     хоббистов
(специализированные    выставки,    локальные    клубы,     конкретные
"пятачки"...);
     - целевое обращение к нужному человеку  по  чьей-то  рекомендации
(предложение   о   покупке   или   обмене,  случка  собак,  просьба  о
консультации...).
     7. Знакомство  через  детей  (в поездах,  парках,  детских садах,
кафе...):
     - контакт "своего" малолетка с ребенком объекта (игра,  угощение,
подарок...), который и "знакомит" с родителями;
     - оказание  ему  на  глазах  у  родителя  мелкой  помощи (поднять
упавшего, отогнать собаку...);
     - инсценирование   пропажи   ребенка   и  разыгрывание  роли  его
спасителя.
     8. Вызов  интереса  к  себе  (инициатива  знакомства здесь должна
исходить от объекта):
     - зная   нужды  и  слабости  данного  человека,  привлечение  его
активного внимания с помощью одежды, шуток, анекдотов, фокусов, слухов
и    сплетен,    оригинальных    суждений,    интересной   информации,
притягательных намеков о  своих  возможностях  что-то  достать,  нечто
узнать, куда-то устроить...
     - профланировать несколько раз под взглядом  объекта,  не  будучи
однако навязчивым, а когда он взглянет на Вас, спокойно посмотреть ему
в переносицу и мысленно приказать: "Вы хотите со мной познакомиться, я
жду Вас!".
     9. Обнародование  некоего  объявления  (в  газете,  подъезде,  на
улице,  т.е. там, где его обязательно увидят), могущего заинтересовать
нужного Вам человека:
     - о продаже;
     - о покупке;
     - о работе;
     - о необходимости в помощи;
     - о предложении услуг.
     10. Отсылка  письма,  каковое,  исходя   из   личности   объекта,
обязательно заинтересует его и вызовет желание ответить или вступить в
прямой контакт с Вами (иной раз  перспективно  постепенное  нагнетание
заинтригованности серией специальных посланий...). Свой обратный адрес
(прямой либо промежуточный) можно давать сразу или же после нескольких
писем. Главное в этом приеме - не переиграть.
     Для добротного завязывания знакомства отбирают несколько  удобных
приемов - основной и два-три запасных.
     Явно выраженная неприязнь человека  часто  объясняется  тем,  что
собеседник  (либо ситуация) напоминает ему кого-то (либо что-то) с кем
(либо  с  чем)  у  него  связаны  негативные   эмоции   или   ожидания
(национальная неприязнь, религиозные предрассудки, личная вражда...).
     Первый контакт  чаще  всего   заканчивается   вежливой,   но   не
обязывающей   договоренностью  "как-нибудь  созвониться".  Следует  не
проявлять излишней заинтересованности в новых встречах с объектом.



     В этой фазе разработки знакомства требуется создавать поводы  для
повторных  встреч,  ибо чем больше свиданий,  тем сильнее вероятность,
что общающиеся понравятся друг другу.  Надобно,  однако,  стремиться к
тому, чтобы инициатива дальнейших встреч исходила от объекта.
     Если объект сочтет,  что позиция визави соответствует  ожидаемой,
знакомство   углубляется,   появляются   общие  темы  для  разговоров,
возникает   общность   на   основе   индивидуальных   предпочтений   и
эмоциональных сопереживаний;  у объекта появляется активная симпатия к
партнеру.
     Основными побуждениями   к  более  частому  общению  здесь  могут
служить:
     - потребность в доминировании;
     - потребность во внутреннем комфорте (безопасности);
     - потребность в самоутверждении;
     - потребность в сочувствии и понимании;
     - потребность в "гиде по развлечениям";
     - давление со стороны других;
     - желание кооперации (делового сотрудничества).
     Точная конкретика мотиваций явно зависит  от  жизненных  ситуаций
человека и психологических свойств его личности.
     *Способы углубления   знакомства   чаще   всего    основаны    на
подыгрывании   действующим  на  данный  момент  побуждениям  и  бывают
такими*:
     1. Организация "случайных" встреч в кинотеатре, театре, на улице,
вечеринке, брифинге и т.д....
     2. Зная   вкусы,   нужды  и  "слабинки"  объекта,  угождать  ему,
предлагая:  деньги в долг,  билеты в  театр,  картриджи,  видеозаписи,
модные книги и спецжурналы, явно престижную информацию...
     3. Обеспечение (или использование) неприятностей и затруднений  в
деловой либо личной жизни объекта с ненавязчивым предложением помощи в
их преодолении. (Следует знать, что активные люди в ситуациях неуспеха
склонны к расширению круга общения, а пассивные - к сужению).
     4. Разжигание в объекте постоянного интереса  к  себе  и  желания
общаться,    используя    его    мании   (коллекционную,   рыболовную,
кинологическую,  картежную,   шахматную,   компьютерную,   спортивную,
музыкальную, эротическую, литературную...). Мании задействуют:
     - показывая живейший интерес к обсуждаемой теме;
     - преподнося  объекту мелкие,  но любопытные манийные подарки или
давая ему полезную специнформацию;
     - подыгрывая   его   самолюбию   утверждением  его  значимости  и
первенства в данной области (проигрыш теннисной  партии,  испрашивание
тематического совета...).
     5. Использование   кого-либо   третьего    (близкого    человека,
родственника,    коллеги    или    приятеля   объекта),   сделав   его
заинтересованным в ваших дальнейших встречах с нужным индивидом.
     *Если необходимо  резко сократить дистанцию общения* (а это имеет
смысл при установке  контроля  над  волей  объекта  и  одноступенчатой
вербовке)  часто  прибегают  к  форсированным  трюкам,  следуя которым
нужно:
     1. Раскрываться  перед  объектом  со  стороны  вызывающей  у него
благоговейное восхищение:
     - выказыванием  потрясающего  умения и храбрости при инсценировке
криминального нападения;
     - демонстрацией своих особых "талантов" и интеллекта на людях или
(в зависимости от психологии объекта) наедине.
     2. Возбуждать у контролируемого человека углубленное сочувствие и
сопереживание:
     - обменом   автобиографическими   излияниями  (доверие  порождает
ответное доверие...);
     - инсценированием  болезни  (боль  и вызванные ею страдания часто
способствуют симпатии к страждущим и чувству общности с ними);
     - имитированием неприятностей (поплакаться, но не переборщить).
     3. Вызывать у индивида острую необходимость в вашей помощи:
     - приведением   человека   в   разнотипные  и  вроде  безнадежные
положения с внедрением ему мысли,  что только Вы можете его спасти (и,
конечно, делаете это...).
     Выбор соответствующей уловки  обусловливается  тонким  пониманием
психологии  объекта  в  сочетании  с  вашими возможностями и возникшей
ситуацией.
     Тщательная очная   разработка  объекта  подразумевает  постоянные
контакты  с  ним,   облегчить   которые   поможет   знание   кое-каких
психологических нюансов, приведенных в части третьей.



     В ходе   личного   общения   и   специально   созданных  ситуаций
мало-помалу  осуществляется  распознавание   взглядов   объекта,   его
возможностей,    слабостей,    склонностей,   ценностей,   побуждений,
способностей,  психофизических и интеллектуальных качеств...  То,  что
конкретно   надо   узнать,   определяется  целью  разработки  человека
(вербовка,  манипулирование,   устранение...)   и   ориентируется   на
унифицированную таблицу досье.
     Всестороннее просвечивание объекта  лучше  всего  производить  по
     
определенной схеме  (r79.tif),  следуя  которой  намечают  и реализуют
некую зондирующую акцию, отслеживают реакцию на нее, делают вывод и на
основе этого вывода выполняют проверочное тестирование.
     Перед основным  зондированием  следует  провести предварительное,
проясняющее  индивидуальные  особенности  реагирования   человека   на
значимую для него информацию.
     Выполняя тестирование,    составляют    четырехзвенную    таблицу
("акция",  "реакция объекта",  "вывод",  "примечание"), в первую графу
которой ("акция") вносят темы намечаемых разговоров или же проверочных
трюков.  Все последующие столбцы заполняют по мере проведения целевого
зондирования,  причем в графе  "примечания"  регистрируют  те  внешние
условия, которые могли повлиять на результаты наблюдения.
     *Готовясь к проведению тестирования, надо*:
     - определить  место  и в соответствии с ним - цель,  тему и метод
(разговор или трюк) зондажа;
     - подобрать зондирующую информацию;
     - выбрать стиль и тактику (порядок и  способ)  предъявления  этой
информации;
     - продумать начальную и завершающую фазы общения (это необходимо,
чтобы заложить в сознание объекта нужную Вам версию разговора, а также
стимулировать дальнейшие контакты с ним).
     *В ходе наблюдения отслеживают*:
     - невербальное поведение (мимику,  обмен взглядами,  все движения
тела, жесты...);
     - паралингвистическое поведение (тон  и  тембр  голоса,  паузы  в
речи...);
     - лингвистическое поведение (слова,  синтаксис);
     - перемещения в пространстве.
     Основное правило тестирования гласит:  "Больше наблюдательности -
и меньше предубеждений".
     Степень грубости  зондажа  (плавное  вплетение  в  нить   беседы,
резкость  факта...)  согласуется  с  сообразительностью  объекта,  его
личностной чувствительностью и  ситуацией.  Отношение  тестирующего  к
основной теме зондирования должно быть достаточно нейтральным, чтобы в
случае резко отрицательной реакции можно было  подыграть  объекту  или
без ущерба для себя перейти на другую тему.
     Заполняя данную таблицу,  никогда  не  торопитесь  с  выводами  и
всегда предельно четко регистрируйте те аспекты ("реакцию объекта") на
основе которых они сделаны.
     *Проводя тестирование следует учитывать, что*:
     - декларируемые установки людей мало связаны  с  их  невербальным
поведением (говорят одно, а делают другое...);
     - эмоции,  вызванные заочной  оценкой  ситуации,  нередко  бывают
сильнее, чем возникающие при реальном контакте с такой ситуацией;
     - человек быстрый,  смелый и реактивный в беседе может  оказаться
совершенно иным в критической ситуации;
     - человек вольно или невольно раскрывается говоря о себе;
     - собеседник познается в споре;
     - "ни в чем так не проявляется характер людей как в том,  что они
находят смешным";
     - "манера смеяться является самым хорошим  показателем  характера
человека";
     - разговоры на отвлеченную тему позволяют  определить  интеллект,
сметливость, ловкость, реакцию собеседника;
     - чтобы понять симпатии и антипатии объекта,  области приемлемого
для него и определяющие мотивации, не мешает прояснить его отношение к
различным историческим и литературным личностям;
     - чем жестче стереотип, тем большую эмоцию вызывает любая попытка
подвергнуть его сомнению;
     - ответная   реакция   на   утверждение  всегда  содержит  больше
информации, чем ответ на точно сформулированный вопрос;
     - перемена   (ухудшение)   погоды   зачастую  вызывает  апатию  и
замедление реакции;
     - не  следует  принимать  молчание  за  внимание;  это может быть
погруженность в собственные мысли;
     - когда  процесс  понимания  идет  слишком  уж  гладко,  есть все
основания не доверять такому пониманию;
     - характерной   ошибкой   наблюдающих  является  мнение  о  якобы
существующей взаимосвязи некоторых (чем выше агрессивность - тем более
энергичность...) совершенно различных качеств;
     - человеку  свойственно  преувеличивать  информационную  ценность
событий   подтверждающих  его  гипотезу  и  недооценивать  информацию,
заключающуюся в противоречащих ей фактах;
     - тревожный человек охотнее обсуждает свои слабости и недостатки,
чем нетревожный;  тревожность же обычно проявляется в таком поведении,
которое можно назвать чрезмерной чувствительностью к раздражителям;
     - плохо сформулированный вопрос может насторожить собеседника;
     - следует помнить, что визави "слышит" и понимает намного меньше,
чем хочет показать;
     - стоит индивиду в чем-то проявить себя лидером,  как на него и в
других ситуациях будут смотреть как на лидера;
     - все  общительные  и  живые  люди  предпочитают  устную речь,  а
сосредоточенные в себе, стеснительные и застенчивые - письменную;
     - если   поведение   партнера   строго   фиксировано   правилами,
авторитетами  или  другими  источниками,   то   субъект   не   слишком
восприимчив  к  его  позиции  и  не пытается представить себя в лучшем
свете;  когда  поведение  партнера  кажется   свободным,   то   обычно
наблюдается противоположный эффект;
     - люди с сильным самоуважением ведут себя независимо по отношению
к  своей  "репутации",  хотя  несколько  ориентируются на нее;  люди с
низким самоуважением следуют своей "репутации";
     - индивиды  могут  быть  самими  собой  лишь в составе небольших,
поддающихся их пониманию групп;
     - поведение  человека чаще всего меняется на публике по сравнению
с поведением в одиночестве;  оно также  изменяется  в  зависимости  от
аудитории.  Это  связано  с  тем,  что *любой человек заинтересован во
впечатлении, производимом на окружающих и задействует при этом одну из
двух существующих стратегий*:
     - "ублажающую" (подстраиваясь к аудитории);
     - "самоутверждающую"  (подкрепляя  свое  "Я" и пытаясь произвести
хорошее впечатление за счет качеств, входящих в идеальное "Я");
     - женщины и многие нацмены обычно более конформны.
     Наряду с оценкой  поведения  объекта  при  персональном  общении,
*следует  проанализировать  его  действия  в самых различных созданных
(трюки) и самопроизвольных (жизнь) ситуациях*.  Делая  это  учитывают,
что:
     - более легко проявляют характер в привычных ситуациях;
     - о  конкретном  свойстве  темперамента  довольно  точно  говорит
отслеживание его в наиболее трудных для выказывания условиях;
     - сталкиваясь  с  трудностями,  человек откровеннее выражает свои
чувства;
     - из  того,  в  каких  конкретных  обстоятельствах изучаемое лицо
теряет самоконтроль и здравый смысл,  можно узнать значимость для него
этих обстоятельств, подлинные интересы, темперамент, привычки...;
     - если индивид довольно четко выполняет требования  разыгрываемой
им роли,  это ничего не говорит о его личностных характеристиках; если
он отклоняется от роли - это характеризует его.
     Замечательную информацию может дать анализ писем объекта, так как
они рисуют человека в отношении к другому человеку,  т.е.  в некоторой
конкретной  ситуации.  При  этом  необходимо  знать,  коими  условиями
вызвана просматриваемая переписка и каковы отношения  между  авторами.
Весьма  информативны  различия  в  переписке  одного  и того же лица с
разными адресатами.
     Дополнительные сведения    об   эмоционально-волевых   и   других
качествах  объекта   можно   почерпнуть   из   анализа   его   почерка
(графология...),  хотя при использовании шариковых ручек многие нюансы
данной информации в общем-то теряются. Не мешает, впрочем, знать, что:
     - если   поля  письма  слева  больше,  чем  справа,  то  писавший
дружелюбен к адресату, и на его психику ничего не давит;
     - если  поля  письма справа больше,  чем слева - это послание для
него лишь пустая формальность;
     - если   левое   поле   книзу   расширяется,  письмо  писалось  в
напряженной обстановке,  возможно при ограничении  во  времени  или  с
внутренним желанием скрыть реальное положение вещей;
     - строки  уходящие  заметно  вверх   отмечают   явно   повышенное
настроение пишущего, а направленные вниз - пониженное;
     - хаотическое изменение величины букв сообщает о нервозности;
     - личная подпись после приятных событий всегда крупнее, чем после
неприятных.
     Определенную прогностическую  ценность  (особенно  если  не  было
заочной  разработки  объекта)  могут  иметь  его   физические   (рост,
телосложение,  волосы,  глаза...)  данные.  Полагаться  только на них,
впрочем, было бы серьезной ошибкой.
     Так как   всякое   поведение   человека  направляется  одним  или
несколькими мотивами (побуждениями),  каковые  не  всегда  осознаются,
очень важно распознать истинные мотивации объекта.
     Следует учитывать,  что мотивы обладают  выраженной  иерархией  и
бывают   иной  раз  полярно  противоположными  ("борьба  мотивов"...).
Предсказать поступки человека только по одному из  мотивов  не  всегда
возможно. *Демонстрируемое поведение индивида определяется*:
     - тем, что бы он хотел сделать (желаниями);
     - тем,  что  он  считает  нужным  сделать  (социальными  нормами,
ролевым поведением);
     - тем, что он обычно делает (привычками);
     - ожидаемыми последствиями поведения (плюсами и минусами);
     - разными особенностями ситуации (внешними обстоятельствами).
     *Выявляя мотивации, учитывают*:
     - заявления объекта (помня, впрочем, что возможна как намеренная,
так  и  непроизвольная  -  в  расчете  на   социальное   одобрение   -
дезинформация);
     - все обмолвки и оговорки объекта;
     - возникающие у него ассоциации;
     - предпочтительные темы для разговора;
     - знания о нереализованных действиях (намерениях) объекта;
     - поведение объекта в конкретных ситуациях;
     - уровень   его   настойчивости   при  столкновении  с  преградой
(величину прилагаемых усилий по ее преодолению);
     - сумму  времени затрачиваемого объектом на определенные действия
или разговоры;
     - акцентирование его внимания на конкретных факторах ситуации;
     - тип и интенсивность эмоциональных реакций.



     Добытую в  ходе  разработки  человека   информацию   помещают   в
формализированное  досье,  заполняемое  ради  удобства по определенной
схеме, сочетающей два основных раздела:
     - персонографические данные и факты из жизни,
     - характерные особенности личности  (физические,  функциональные,
общие, психические и интеллектуальные).
     Представляемая в досье фактура дополняется,  как  правило,  двумя
пояснениями:
     - откуда  взята  эта   информация   (и,   конечно,   степень   ее
надежности),
     - как конкретно ее можно использовать.
     В утонченное   досье   иной   раз  включают  специальный  раздел,
концентрирующий   сведения,   обеспечивающие   оказание   оптимального
давления на объект в нужный момент.
     Типовой вариант рабочего досье формируется обычно так:



     I. Персонографические данные и факты из жизни
     (Для ориентации  к  каждому фрагменту здесь приложен комментарий,
отмечающий (А) - где эти сведения можно получить,  и  (Б)  -  чем  они
могут быть полезны).
     *1. Фамилия, имя, отчество*
     (А) личные  документы,  деловые  и  персональные  бумаги,  почта,
контактеры...
     (Б) ориентирование  в  национальности,  родственниках  и предках,
представление о претенциозности и взглядах родителей,  содействие  при
контактах...
     *2. Параллельные  имена,  клички,  прозвища,  псевдонимы   и   их
использование* (когда, где, почему, степень их скрываемости...)
     (А) письма,  личные  бумаги,  телефонные  и  обычные   разговоры,
контактеры...
     (Б) для  определенного  воздействия  (поразить  осведомленностью,
запугать...), для исходного контакта (пароль-подтверждение...), в ходе
выявления контактеров...
     *3. Дата   рождения,  знак  зодиака  и  возраст*  (по  имеющемуся
паспорту, фактически, степень скрываемости, причины...)
     (А) личные    документы,   учетные   карточки   (на   работе,   в
домоуправлении,  паспортном столе,  военкомате,  больнице, библиотеке,
институте, партъячейке...); контактеры, подарки и поздравления;
     (Б) вероятные взгляды (консерватизм старости,  романтизм  юности,
рационализм   зрелости...)   и   мотивации   (секс,  карьера,  желание
покоя...),  физиологические возможности  организма  (физическая  сила,
обоняние,   слух,   память,   выносливость...),   время   оптимального
воздействия (биоритмика...), повод для сближения (визит, поздравление,
подарок...).
     *4. Место   рождения*   (страна,   населенный   пункт,    климат,
причины...)
     (А) личные документы и учетные карточки, контактеры, сам...
     (Б) представление    о    некоторых     особенностях     личности
(сексуальности, агрессивности, склонности к определенным болезням...),
повод для сближения (земляки...), поиск жизненных перипетий...
     *5. Национальность* (по имеющемуся паспорту,  фактически, степень
скрываемости, причина, чувство общности...)
     (А) личные документы и учетные карточки, контактеры, "экстерьер",
сам...
     (Б) представление о некоторых особенностях личности (и  возможных
мотивациях)   (конформизм,   предприимчивость,   "дикость"...  чувство
элитарности,  локальная враждебность...), для задействования объекта и
манипуляции...
     *6. Родители* (Ф.И.О., даты, адрес, фамилии до брака, микросреда,
занятия, степень близости, авторитетность...)
     (А) личные документы  (свидетельство  о  рождении),  личное  дело
(автобиография),  домовые  книги,  учетные карточки (военкомат,  вуз),
различные анкеты, контактеры, сам...
     (Б) понимание  определенных  особенностей  личности (воспитание),
средство  воздействия  на  объект  (шантаж,   влияние...),   источники
информации.
     *7. Семейность*   (состав,   с   кем   живет,    дата    свадьбы,
национальность    жены    (мужа),   краткие   данные   членов   семьи,
взаимоотношения,  тон общения (авторитарность,  равноправие...), общая
атмосфера...)
     (А) личные  документы  и  бумаги,   письма,   учетные   карточки,
контактеры     (родственники,    знакомые,    родители,    соседи...),
перехваченные разговоры, наблюдение, сам...
     (Б) средства  для воздействия на объект (шантаж,  завуалированное
влияние...),  выявление  мотиваций  (сексуальная  неудовлетворенность,
любовь к детям...), точные источники информации, некие возможности для
сближения (посредники)...
     *8. Родственные связи и знакомства* (бывшие жены и любовницы,  не
живущие вместе дети,  друзья детства,  коллеги по работе,  знакомые по
увлечению,  "нужные знакомые", родственники с той и другой стороны...,
их Ф.И.О.,  адреса, телефоны, возраст, образование, занятия, степень и
причина близости...)
     (А) перехваченные письма  и  разговоры,  наблюдение,  контактеры,
личные  упоминания,  частные бумаги (записные книжки,  старые письма и
открытки,  обрывки   записей   и   номера   телефонов   на   различных
носителях)...
     (Б) новые источники информации,  понимание  некоторых  мотиваций,
факторы воздействия (через них,  через угрозу им...),  средства выхода
на объект и возможности сближения  с  ним,  в  ходе  поисков  объекта,
ложный след при нейтрализации...
     *9. Партийность   и   религиозность*    (членство,    активность,
искренность,  уровень  притязаний и авторитетность,  "смена лошадок" и
причины этого, отношение к другим партиям и их лидерам...)
     (А) личные документы и учетные карточки,  отловленные разговоры и
случайные наблюдения, контактеры и сам, слухи и пресса...
     (Б) понимание  некоторых  мотиваций  и  черт характера (идеализм,
карьеризм,  национализм...),  средства для воздействия (шантажирование
дискредитацией,  подавление  авторитетом...),  некие  возможности  для
сближения,  повод  для  задействования  в  игре,   ложный   след   при
нейтрализации...
     *10. Образование  и  специальность  по  образованию*  (что,  где,
когда,  с кем,  отношение к этому,  подлинность диплома, работал ли по
этой специальности, почему нет, хочет ли работать...)
     (А) личные   дела,   учетные   карточки   (военкомат,  паспортный
стол...), трудовая книжка, контактеры, слухи и сплетни, сам...
     (Б) представление  о  возможностях карьеры и типичных взглядах на
жизнь,  выход на вероятных контактеров (сокурсники, преподаватели...),
для использования их как информаторов или средств сближения, выявление
покровителей, поводы для привлечения к игре...
     *11. Учеба в настоящее время* (где,  как, зачем, в какое время, с
кем)
     (А) личные дела, контактеры, слухи, сам...
     (Б) понимание  некоторых  установок  и  черт   характера,   некие
возможности  для  сближения,  обоснованность  для  подключения к игре,
подбирание моментов для конкретных акций...
     *12. Знание языков* (какие,  как,  где,  степень скрываемости или
гордости)
     (А) личные   дела   (анкета,   автобиография),   места   прежнего
жительства,  учетные карточки библиотек,  получаемая  и  приобретаемая
пресса, наблюдение, контактеры, сам...
     (Б) какие  возможности  для   сближения   (деловое   предложение,
содействие в изучении...), неплохая зацепка для привлечения к игре...
     *13. Профессия, место работы, служебные обязанности* (в настоящее
время,   в   прошлом,  сколько  работал,  когда  ушел,  причины  ухода
(официальные   и   реальные),   отношения   с    коллегами,    уровень
профессионализма,   связана   ли  работа  с  полученным  образованием,
отношение к работе,  график работы,  уровень допуска,  номера  рабочих
телефонов, адрес...)
     (А) личные дела,  учетные карточки,  трудовая книжка,  контактеры
(родственники,  знакомые,  коллеги по работе...),  слухи,  наблюдение,
сам...
     (Б) понимание  некоторых мотиваций,  черт характера,  взглядов на
жизнь,  устремлений,  уязвимостей; выявление контактеров для получения
информации  (коллеги по работе),  выявление путей сближения,  средства
для  воздействия,  некие  возможности  для  устранения,   поводы   для
привлечения к игре, ложный след при нейтрализации...
     *14. Перспективы карьеры* (профессионализм,  личностные качества,
чья-то поддержка...)
     (А) контактеры (коллеги по работе и учебе,  родственники,  старые
знакомые,   близкие   приятели,  эксперты,  слухи,  тщательный  анализ
деятельности и личности.
     (Б) средства  для воздействия на объект,  хорошие возможности для
сближения, ложный след при нейтрализации...
     *15. Переломные   этапы   в   биографии*   (когда,   почему,  как
повлияли...)
     (А) личное   дело  (автобиография),  трудовая  книжка  (послужной
список), персональные документы (прописки в паспорте, штампы в военном
билете...),   собственные   архивы   (старые  письма,  фотографии...),
контактеры, слухи, сам...
     (Б) понимание некоторых черт характера, аспекты уязвимости...
     *16. Щекотливые  моменты  биографии*  (когда,   что,   участники,
последствия,  афишируемость  в  свое  время,  кто  еще знает,  кто "не
должен" знать, уровень скрываемости...)
     (А) тайное   прослушивание   телефонных   и  обычных  разговоров,
перехват  писем,  изучение  прессы,  слухи,  проникновение  с  обыском
(наудачу),  мнение контактеров, изучение белых пятен в автобиографии и
трудовой книжке, ловкое выявление при допросе...
     (Б) средства сильного воздействия, вариант нейтрализации...
     *17. Здоровье и болезни* (когда, чем, не хроник ли, состоит ли на
учете,  соответствует ли возрасту,  где и у кого лечится,  отношение к
нетрадиционной медицине...)
     (А) медицинские  карты,  контактеры,  сам,  внешний вид,  лечащий
врач.
     (Б) представление о чертах характера, средства воздействия, некие
возможности сближения  (общность,  новые  лекарства,  лучшее  лечение,
связи   с   модными   врачами   и   целителями,   путь   для   "тихой"
нейтрализации...
     *18. Места жительства* (сейчас,  в прошлом,  причины смены, живет
ли там где прописан,  а  если  нет  -  то  где,  мотивы  этого,  места
временного обитания (друзья, родственники, снимаемые квартиры...)
     (А) личные  документы,   учетные   карточки,   паспортный   стол,
контактеры, сам, АТС (по номеру телефоны), отслеживание...
     (Б) средства  воздействия  (локальный  террор...),  учет  в  игре
(появление возле...), возможности для сближения (выгул собак...), учет
при нейтрализации (тип нападения...), поиск при необходимости...
     *19. Бытовые условия и их оценка* (количество комнат, метраж, тип
квартиры,  сколько человек живет (по документам  и  фактически),  кому
принадлежит,  как  досталась,  обстановка  и удобства,  престижность и
обжитость района...)
     (А) учетные   карточки   жилотделов,  домовые  книги,  контактеры
(соседи,  знакомые,  работники коммунальных служб и сервиса,  дети...)
сам, аналогия (стандартность квартир...), засланный визитер.
     (Б) понимание отдельных черт характера (обстановка)  и  мотиваций
(расположение),  помощь  в  проникании  в  помещение  с разными целями
(изъять или подложить  что-либо,  установить  "жучки",  нейтрализовать
человека...)
     *20. Наличие дачи* (район, участок, тип строения, соседи, куплена
или  построена,  на  какие  средства,  кто и когда пользуется,  у кого
ключи, как добираются...)
     (А) отдел регистрации, контактеры, сам, отслеживание...
     (Б) учет в  игре,  облегчение  контроля,  повод  для  знакомства,
вариант нейтрализации...
     *21. Материальные  условия*   (зарплата,   наследство,   побочные
источники дохода,  сколько и когда получает,  сколько и кому должен, у
кого обычно берет в долг...)
     (А) расчетный отдел, контактеры, сам, отслеживание...
     (Б) понимание  возможных  мотиваций  (добывание  денег,   желание
скрыть  реалии  и  контакты...),  средство  для  воздействия на объект
(шантаж, подкуп...).
     *22. Обладание   автомашиной*   (тип,  номер,  место  регистрации
(город),  на кого оформлена,  кто и как водит,  кто пользуется,  когда
куплена,  сколько  заплачено,  откуда  деньги,  есть  ли  трудности  с
ремонтом и запчастями, где стоит, есть ли гараж, проверена ли на угон,
тип сигнализации, подвозит ли других...)
     (А) контактеры    (родственники     и     знакомые,     работники
автосервиса)... отслеживание, ГАИ, сам...
     (Б) средство давления,  облегчение визуального контроля,  учет  в
игре, некие возможности для сближения, вариант нейтрализации...
     *23. Телефон* номера домашнего,  служебного и в местах, где часто
бывает,  тип (кнопочный,  дисковый, сотовый, радио-...), наличие АОНа,
"анти-АОНа" и "анти-анти-АОНа", доступ к месту нахождения)
     (А) контактеры   (друзья,   родственники  и  знакомые,  работники
сервиса,  коллеги по работе и увлечениям,  засланный визитер...), сам,
контроль на линии, АТС...
     (Б) для сугубо  анонимного  общения,  при  установлении  приборов
прослушивания, для прессинга знанием, в техниках нейтрализации...
     *24. Разное*   (вероятное   участие   в   особых    мероприятиях,
правительственные  награды,  место воинской службы,  воинское звание и
профессия,  связи с  криминалами,  обладание  собакой  и  компьютером,
детали поездок за границу...



     Знание физических  качеств  облегчает  взаимодействие с объектом,
намекает на его предрасположенности (к болезням, боли, активности...),
уточняет   варианты   использования...   Тщательное   ознакомление   с
функциональными качествами попросту неоценимо для установления реакции
объекта на сообщение или событие (изменение походки,  голоса, речи...)
Общие нюансы обеспечивают оптимальное понимание объекта и  высвечивают
психоинтеллектуальный    раздел,   на   основе   коего   выстраивается
"психологический портрет" индивида - источник сведений для оттачивания
беспроигрышных схем вербовки,  манипулирования, физической или деловой
нейтрализации...)



     1. Рост (низкий - средний (165-175) - высокий).
     2. Телосложение   (атлетическое,   коренастое,  среднее,  слабое,
рыхлое).
     3. Вес или упитанность (малая, средняя, большая).
     4. Глаза (цвет, размер, дефекты, особенности).
     5. Волосы (цвет, тип, облысение, особенности).
     6. Зубы (размер, цвет, наличие дефектов, тип искусственных...).
     7. Особые  приметы  (непропорциональность  отдельных частей тела,
шрамы и татуировки, характерные мозоли, неестественный цвет кожи).



     1. Походка (темп, движения рук, особенности).
     2. Жестикуляция (интенсивность, направление жестов, особенности).
     3. Мимика (богатство, бедность, рисованность, конкретика).
     4. Улыбка    (поводы   способствующие   появлению,   впечатление,
особенности).
     5. Голос (тембр, сила, чистота, особенности).
     6. Речь (темп, акцент, жаргон, мат, особенности).
     7. Динамика кожи (изменение цвета, потливость...).



     1. Жизненные  привычки (уважаемая музыка и литература,  обожаемые
напитки и кушанья,  тип используемых сигарет, доминирующее настроение,
режим сна,  читаемые газеты и журналы,  темы разговора,  способы траты
свободного времени,  излюбленные маршруты,  наиболее посещаемые места,
избегаемые  места,  предпочитаемая одежда,  обычная прическа,  ношение
бороды и усов,  использование глазных линз и очков, носимые украшения,
тип людей с которыми предпочитает встречаться, проведение отпуска)...
     2. Взгляды и их устойчивость (политические, моральные, житейские,
эстетические...;  разнятся  ли высказывания в официальной обстановке и
личном кругу);
     3. Отношение  к  происходящим событиям (безразличное,  ироничное,
экстремистское...);
     4. Национализм  (скрывание  национальности,  превознесение  своей
нации,  соблюдение   национальных   традиций,   отношение   к   другим
национальностям...);
     5. Отношение к родным и близким (степень привязанности, частота и
тип контактов...);
     6. Отношение   к   себе    (требовательность,    попустительство,
ироничность, мнение о себе (адекватное, повышенное, низкое);
     7. Возможности   (внешние:   по   причине   делового   положения,
знакомств,  родственных  связей...  и  внутренние:  в  силу личностных
качеств, образования, тренировки...);
     8. Увлечения,  с  учетом  их  профессионализма и притягательности
(женщины,    алкоголь,    кухня,    деньги,    путешествия,     спорт,
коллекционирование,  порнография, музыка, театр, телевизор, компьютер,
христианство,  язычество,  восточные   религии,   азиатское   воинское
искусство,  нетрадиционная медицина,  оккультизм, история, астрология,
йога,   охота,   собаки,   шахматы,   азартные    игры,    автомобиль,
радиолюбительство, народные промыслы...);
     9. Всевозможные   умения   (водить   машину,    чинить    машину,
пилотировать  самолет,  ремонтировать  телевизор,  драться,  стрелять,
плавать,  соблазнять женщин, класть печи, ориентироваться на местности
и т.д. и т.п.
     10. Странности (вера в приметы,  особые  ритуалы,  необычность  в
манерах, одежде, прическе...);
     11. Отношение к разным  аспектам  жизни  (к  женщинам,  алкоголю,
деньгам, приключениям,   литературе   и   искусству,  моде,  торговле,
материальной   выгоде,   проституции,   гомосексуализму,   наркомании,
терроризму,   ценам,   акциям,   приватизации,   религии,   партиям  и
политическим деятелям...);
     12. Мотивации и иерархия (потребность в безопасности и понимании,
любовь к детям, сексуальная неудовлетворенность...);
     14. Слабости   и   уязвимости  (внутренние:  слабости  характера,
физические недостатки,  некоторые привычки, "мелкие" радости и пороки,
сильные  привязанности...  и  внешние:  щекотливые  моменты биографии,
тщательно скрываемые аспекты личной и деловой жизни...);
     15. Затруднения (денежные, сексуальные, информационные...);
     16. Честолюбивые замыслы (стремление к деловой  или  политической
карьере, тайной или явной власти, всяческой известности...);
     17. Враждебность (к человеку,  организации, стране, нации, образу
мыслей, определенному поведению...);
     18. Неудачи  (семейные,  профессиональные,   деловые,   любовные,
престижные...);
     19. Методы действий (словом,  делом,  прямой  атакой,  хитростью,
компромиссом, чужими руками...);
     20. Поведение  в  пьяном  виде  (контролируемость,   слезливость,
добродушие, агрессивность...);
     21. Поведение  в  экстремальной  ситуации  ("бросается  в   бой",
убегает, выжидает, замирает...);
     22. Поведение  в  группе  (стремление  к  лидерству,  подчинению,
анархии, равноправию, изолированности...);
     23. Эмоциональное  реагирование   (речевое   поведение,   уровень
скрываемости  чувств,  характерные  для  определенной  эмоции  жесты и
психофизиологические реакции...);
     24. сексуальные  нюансы (степень мотивации,  отклонения от нормы,
контролируемость, привычки...).



     (Оценку конкретных качеств целесообразно проводить по пятибальной
шкале,   четко   регистрирующей  меру  их  выраженности:  "ОВ"  (очень
высокая),  "В" (высокая),  "С" (средняя),  "Н" (низкая),  "ОН"  (очень
низкая).  В случае полярного варианта лучше ориентироваться на один из
полюсов.
     1. Мышление (конкретное - абстрактное).
     2. Эрудиция (общая и частная).
     3. Интеллект (догматичность - гибкость).
     4. Способность к анализу - верхоглядство.
     5. Сообразительность - тупость.
     6. Проницательность - поверхностность.
     7. Критичность мышления - легковерие.
     8. Практичность - фантазийность.
     9. Консерватизм - новаторство.
     10. Рискованность - нерешительность.
     11. Уступчивость - агрессивность.
     12. Одержимость - пассивность.
     13. Стремление к лидерству - подчиняемость.
     14. Приспособленчество - независимость.
     15. Маневренность - прямолинейность.
     16. Легковерие - подозрительность.
     17. Любознательность - безразличие.
     18. Внушаемость - способность преодолеть внушение.
     19. Совестливость - практичность.
     20. Принципиальность - конформность.
     21. Снисходительность - требовательность.
     22. Альтруизм - эгоизм.
     23. Вера в себя - вера в обстоятельства.
     24. Открытость (экстравертность) - замкнутость (интровертность).
     25. Склонность хитрить - бесхитростность.
     26. Хладнокровие  (как  в  опасности,  так  и   в   ожидании)   -
импульсивность.
     27. Сдержанность (в поступках,  разговорах, выдаче информации...)
- распущенность.
     28. Уверенность в своих силах - беспомощность.
     29. Жестокость - мягкость (доброта).
     30. Храбрость - трусливость.
     31. Отношение к угрозе (ярость - безразличие - страх).
     32. Работоспособность в стрессовой ситуации.
     33. Переносимость боли и стрессовых ситуаций.
     34. Быстрота реагирования (на внезапное изменение темы разговора,
на отдельные действия...).
     35. Эмоциональная устойчивость.
     36. Сила и длительность эмоций.
     37. Способность долго скрывать свои чувства.
     38. Уровень притязаний.
     39. Наблюдательность.
     40. Обязательность.
     41. Тревожность.
     42. Лживость.
     43. Мстительность.
     44. Чувство благодарности.
     45. Тщеславие.
     46. Сексуальность.
     *Фактура, извлекаемая из досье, обычно применяется для*:
     - вербовки объекта;
     - манипулирования объектом;
     - предвидения действий объекта;
     - просчитывания опасности исходящей от объекта;
     - нейтрализация объекта.



     Всесторонне изучив   конкретного  человека,  ему  дают  предельно
взвешенную потенциальную оценку с позиций:
     - вероятности его вербовки;
     - его возможностей как агента;
     - выгод при его привлечении;
     - риска при его привлечении;
     - реальных направлений его использования.
     *В оценке вероятность вербовки данного лица учитывают*:
     - наличие  необходимых  внутренних  (черты  характера,  слабости,
пороки...)  и  внешних  (компромат,   ценимые   факторы   и   люди...)
уязвимостей;
     - мешающие  факторы  (черты  характера,   идейная   убежденность,
влияние  значимых  лиц,  трудности  прямого контакта...) и оптимальные
возможности их устранения (снижение значимости, обход, переворачивание
в свою пользу...);
     - кто,  по какой причине,  как и  с  какой  эффективностью  может
способствовать вербовке...
     *В оценке возможностей объекта как агента, берут в расчет*:
     - внутренние качества личности (ум, наблюдательность, активность,
уровень  притязаний,  контактность,  склонность  к  риску,   упорство,
хладнокровие, смелость, находчивость...);
     - внешние факторы обстановки (имеющие информацию друзья, родные и
знакомые,  возможности  влияния  на ключевых людей и ход событий ввиду
своего авторитета или служебной должности, обширные контакты...).
     *В оценке выгоды от привлечения (вербовки) объекта просчитывают*:
     - полезность   информации   и   прочего    содействия,    которые
предполагается здесь обрести;
     - степень его наличных и потенциальных возможностей влиять на ход
событий либо на конкретных лиц;
     - степень трудности  проникновения  извне  в  данную  группу  или
среду;
     - шансы использования объекта для внедрения в  организацию  своих
людей;
     - аспект потери в его лице активного противника.
     *В оценке риска вербовки объекта прикидывают*:
     - возможности  активно-негативной  реакции   на   предложение   о
сотрудничестве;
     - насколько  нежелательно  "засвечивание"   личностей   вербующих
(помехи   в   их   дальнейшей   деятельности,   "бросание   тени"   на
контактеров...);
     - сколь   вредно   проявление  интереса  к  конкретной  теме  или
организации (насторожит и осложнит намеченную разработку,  даст нить в
активной контригре...);
     - степень уверенности,  что объект не сообщит "своим"  (опасность
"двойной игры"...);
     - величину лазейки,  по  которой  могут  добраться  до  вербующей
структуры, и существующие возможности ее быстрейшего перекрывания.
     *Оценивания перспективные     пути     задействования     объекта
определяют*:
     - как его выгодно использовать (в  качестве  информатора,  агента
влияния,  дезинформатора,  нарушителя единства, связного, провокатора,
пособника в различных акциях...);
     - стоит  ли продвигать объект на ключевое место в его организации
и достижимо ли последнее.
     Сделав анализ  всех  возможных  плюсов  и  минусов от привлечения
объекта к сотрудничеству и учтя потребности текущей ситуации,  выносят
соответствующее заключение;
     - "завербовать срочно" (даже если объект пока  что  "не  созрел",
время не терпит);
     - "повременить  с  вербовкой"  (нет  явной   необходимости,   нет
действенного компромата, объект не доведен до нужной кондиции...);
     - "полностью   отказаться   от   вербовки"   (слишком    ничтожна
вероятность согласия, велик риск получения "двойной игры", "овчинка не
стоит выделки"...).



     Уяснив психологический портрет объекта и оценив его  особенности,
затруднения и устремления,  обычно удается выйти на мотивы,  способные
склонить   намеченного   человека   к   сотрудничеству.   Чаще   всего
побуждающими моментами при этом являются:
     - политические или религиозные убеждения;
     - стремление к власти;
     - романтические представления;
     - национализм;
     - тщеславие;
     - преувеличенное мнение о своих способностях;
     - месть;
     - материальные затруднения;
     - страх  (компрометации,  физического  воздействия,   за   других
людей...);
     - жадность (как черта характера);
     - сострадание (как черта характера);
     - любовь-страсть;
     - любовь к детям;
     - житейские слабости и пороки (пьянство,  азартные игры, женщины,
гомосексуализм, наркотики, сибаритство...).
     *Мотивами вербовки "заоблачных" интеллектуалов могут  служить  их
утонченные стремления к*:
     - тайной власти;
     - игре с законами;
     - знанию того, о чем не могут знать другие;
     - проникновению в тайны...
     *Полезно знать, что любому человеку трудно преодолеть в себе*:
     - любовь-страсть;
     - любовь к детям;
     - тщеславие;
     - страх...
     Необходимо помнить, что интенсивность проявления отдельных чувств
нередко изменяется во времени и поддается некой  коррекции.  Сей  факт
желательно  учитывать  при  отборе  конкретных  методов воздействия на
индивида.
     Когда отлично  знаешь,  что человеку надо и есть возможность дать
или отнять это, - легко стать его господином.
     *Вербовку можно проводить*:
     - от имени вербующей организации ("прямая вербовка");
     - без непосредственного указания,  кто вербует,  давая,  впрочем,
некую возможность что-то предполагать ("намекающая вербовка");
     - под  "чужим  флагом",  или  от  имени  ничем  не примечательной
структуры (человека),  не вызывающих  какой-либо  неприязни,  а  то  и
порождающих определенную симпатию ("одурачивающая вербовка");
     - от имени одной организации с последующим - когда  контроль  уже
получен - раскрытием реального хозяина ("ступенчатая вербовка").
     *Вербовочный подход бывает*:
     - "горячим"   (когда   вербовщик   делает  прямое  предложение  о
сотрудничестве,  иной раз после очень долгой обработки,  а другой  раз
почти сразу);
     - "холодным"   (когда   неведомый   объекту   человек   исподволь
"подкатывается" к нему);
     - "бесконтактным"  (когда  влияние  на  объект  осуществляют  без
непосредственного контактирования с ним,  прибегая к письмам,  факсу и
телефону);
     - "обратным"  (когда  объект  сам  предлагает  свои услуги,  хотя
обычно ему нужно "подсказать", к кому он может обратиться...).
     Во всех  указанных вариантах желательно предусмотреть условия для
поддержания связи, поскольку даже если человек вначале резко отказался
от предложения, то через некоторое время он может передумать.
     *Главными методами вербовки являются*:
     1. Шантаж.
     2. Подкуп.
     3. Угроза физического воздействия.
     4. Угроза любимым людям.
     5. Расжигание  эмоций  (мстительности,  недовольства,  тщеславия,
восторженности, ревности, сострадания...).
     6. Убеждение.
     7. Зомбирование (психопрограммирование).
     8. Особые акции (наркопривязка, секс-мероприятия...).
     Практические схемы этих методик  и  частные  рекомендации  по  их
осуществлению представлены в части, разбирающей способы воздействия на
человека.



     Завербовав конкретного  человека,  стараются  получить  от   него
максимум  возможного,  а  это  удается  реализовать  лишь  при  умелом
руководстве,  учитывающем психологические особенности его  личности  и
уровень  желания  (а  то  и нежелания) действовать.  Отдельные аспекты
подобных взаимоотношений мы вкратце здесь и рассмотрим.



     *Склоненного к сотрудничеству человека можно использовать*:
     - разово;
     - по мере необходимости;
     - постоянно.
     *Частота использования агента зависит от*:
     - стремления быть в курсе текущих событий;
     - оперативной необходимости;
     - желания сохранить его для самых важных целей;
     - степени доверенной ему инициативы.
     *Агент может функционировать*:
     - независимо (передавая то, что он сам считает нужным, и действуя
при этом так, как он считает необходимым);
     - автономно (работая по установленному заданию, но не поддерживая
промежуточных контактов с хозяевами);
     - полуинициативно (решая поручаемую ему задачу совместно со своим
руководителем, но не отказываясь от подвернувшихся возможностей);
     - строго по инструкции (ориентируясь лишь на полученные указания,
и не пытаясь выйти за начально установленные рамки).
     Для направления     деятельности     привлеченного     используют
классические методы:
     - "кнута" (запугивания);
     - "перчатки" (контроля);
     - "пряника" (подкупа).
     Придерживайтесь принципа:  "Пусть будет жесткая рука, но в мягкой
перчатке".
     Конкретный человек   бесспорно   требует   сугубо   персонального
подхода, но более эффективно направлять его обычно удается посредством
убеждения,  а  не  угроз,  посему  полезно  развивать  с ним дружеские
отношения.
     Устанавливая дружбу  с  завербованным,  все  же не следует терять
инициативы (доминирования) и четко пресекать любые попытки перехватить
последнюю.   Значительную   роль   здесь   иной  раз  играет  полезная
способность "переглядеть"  партнера,  поскольку  ежели  ведущий  не  в
состоянии  выдержать прямого взгляда им ведомого - он не годится и для
руководства.



     Удерживать любого человека в своих рядах возможно:
     1. Приличным материальным вознаграждением.
     2. Взаимной помощью.
     3. "Лапшой на уши".
     4. Страхом возмездия.
     5. Зомбированием.
     Финансовое вознаграждение  является  своего  рода   подпитывающим
фактором,  сопутствующим всем прочим стимулам.  Оно должно быть хорошо
продуманным  (чтобы  не   оскорбить   больного   самолюбия),   заметно
изменяемым  (в  зависимости от полезности работы) и оптимальным (чтобы
не подкупили другие).
     Взаимопомощь подразумевает    активное   содействие   в   решении
различных деловых и  личностных  проблем  объекта  (карьера,  "крыша",
полезные знакомства, доходные контракты...). Это - своеобразная замена
прямого материального вознаграждения.
     Тактика "лапша   на   уши"  основывается  на  создании  у  агента
впечатления о значительности его работы с моральной или идеологической
точек зрения.  Это заметно повышает самоуважение и обычно эффективнее,
чем стимуляция одной лишь платой.
     При удержании  страхом возмездия,  угроза возмездия висит как над
личностью агента, так и над его близкими.
     Расплата тут может предполагаться:
     - за прошлые грехи по отношению к кому-либо;
     - за явное предательство "своих";
     - за очевидную измену новым хозяевам.
     Для эффективности    подобных    угроз   необходим   производящий
впечатление компромат,  полученный в процессе разработки человека  (из
эпизодов   прошлой   жизни...),  а  также  при  взаимодействии  с  ним
(определенно   непрощаемые   акции   против   "своих",   свидетельства
"преступной"   связи   с  противником...).  Добавочным  подстегивающим
моментом здесь  является  периодическое  обещание  агенту  отдать  ему
компрометирующие его материалы.
     Зомбирование подразумевает искусственное отключение  личной  воли
человека  с  беспрекословным  подчинением его приказам своего хозяина.
Осуществляется  зомбирование   посредством   "промывания   мозгов"   и
"жестким"  перепрограммированием  их на специфический режим работы,  а
также   путем   "мягкого"   перепрограммирования   с    использованием
многоступенчатого гипноза.



     В сотрудничестве  с завербованным всегда есть опасность нарваться
на "двойную игру" или элементарное мошенничество.  Для  избавления  от
подобных  неприятностей  желательна  систематическая гласная (детектор
лжи) или негласная (дублирование,  наблюдение, провокация...) проверка
агента.
     Детектор лжи отслеживает различные психоэмоциональные реакции (со
стороны  мышц,  кожи,  зрачков,  сердечной и дыхательной систем...) на
значимую  информацию  и  в  упрощенном  варианте   обычно   заменяется
простейшей экспресс-диагностикой (описанной в разделе об общении...) в
ходе проверочного разговора.
     Дублирование заключается  в  том,  что объекту поручается достать
вполне определенную информацию,  которая уже  известна  его  хозяевам.
Особенно  для  этого  подходят такие сведения,  каковые агент по своим
собственным причинам не хотел бы выдавать.
     При наблюдении    осуществляется    периодическое   просвечивание
завербованного,  с фиксацией любого факта,  свидетельствующего  о  его
нечестной  игре.  В  подобных  случаях  обычно  эффективно подключение
параллельного агента.
     Под провокацией  имеется  ввиду  расчетливое соблазнение человека
(интригой,  подкупом,  подбрасыванием информации, которую он предпочел
бы не передавать...) и засеканием его реакции на это.
     Стандартным вариантом  жестокой   проверки   является   "крещение
кровью",     т.е.     требование    к    завербованному    осуществить
активно-агрессивное деяние (иной раз  -  кровопролитие)  против  своих
прежних соратников.
     Отметим, что выказываемая агентом верность значительно зависит от
его моральных устоев.  Явно деградировавший в личностном плане человек
не в состоянии быть надежным исполнителем.
     При выявлении  "двойной  игры" возможно либо прерывание контакта,
либо использование сего факта для проведения  изящной  комбинации  или
забрасывания дезинформации.



     Связь с  завербованным  рассматривается как самый уязвимый аспект
конспиративной работы и может быть по своему характеру:
     - информационной   (прием   и   передача  указаний  и  сообщений,
развернутое   обсуждение    различных    вопросов,    выдача-получение
необходимых предметов...);
     - сигнальной     (уведомления     об      опасности-безопасности,
отсылке-получении, готовности-неготовности...).
     *Классическая информационная связь осуществляется*:
     - при персональном общении;
     - посредством технических  средств  связи  (личные  радиостанции,
телефоны, телефаксы...);
     - использованием "вслепую" посторонних лиц;
     - посредством связников-курьеров;
     - путем почтовых отправлений;
     - подбрасыванием;
     - закладыванием  в  определенные  места  (заранее   присмотренные
тайники, автоматические  камеры  хранения...);
     - при моментальных контактах.
     Не вызывающая  подозрений  связь  при  персональном  общении чаще
всего  реализуется  тогда,  когда  ведущий  входит  в  круг  обыденных
контактов  завербованного (на работе,  при выгуле собак,  в спортивном
клубе...).  Она может происходить во время визитов к общим знакомым, а
также на специально снятых конспиративных квартирах.
     Связь с  применением  телефона  бывает  как  прямая,  так   и   с
задействованием  промежуточного  аппарата,  как упрощенная сигнальная,
так и загруженная информативная.  Всегда следует помнить о возможности
прослушивания   и   при  необходимости  использовать  шифраторы  (что,
впрочем,  настораживает) или периодически сменяемое  кодовое  общение.
Таким же образом, но с разными защитными уловками эксплуатируют личную
радиосвязь ("уоки-токи").
     С использованием   посторонних   лиц   (попутчиков,   проводников
вагонов,  приятелей  своих   знакомых...)   лучше   всего   передаются
материалы,  деньги или письма.  Последние должны иметь "контрольки" на
вскрывание и содержать информацию, скрытую тем или иным способом.
     Общение через  связников-курьеров  предписывает  подтверждение их
идентичности  (словесные,  предметные  и  жестовые   пароли...).   При
нежелательности   персонального   контакта,  связь  можно  реализовать
посредством промежуточного звена (а то и звеньев).
     Почтовую корреспонденцию   несложно   отловить  как  в  месте  ее
отправления,  так и при получении.  Противодействовать сему  иной  раз
удается  путем отправления писем посторонними людьми (а также в другом
городе)  и  использовании  адресов  "невинных",  но   доверенных   лиц
получателя.  В  этом  случае  используют  "контрольки"  и классические
способы  (шифр,  код,  невидимые   чернила...)   сокрытия   конкретной
информации.
     Подбрасывания обычно производят  тогда,  когда  необходимо  чтобы
адресат   не   видел   отправителя   или  его  посланца.  Подбрасывать
рекомендуется  в  почтовый  ящик,  на  рабочий  стол,  под   дверь   с
последующим звонком,  а  также  в карман личной одежды,  т.е.  в такое
место, откуда эта передача наверняка дойдет до получателя.
     При полной  нежелательности личных контактов,  можно использовать
автоматические камеры хранения  и  разнотипные  тайники.  В  последнем
случае  находят  не  бросающееся в глаза укромное местечко (к примеру,
батарею в проходном  подъезде,  бачок  в  общественном  туалете...)  и
вкладывают   туда,   крепя  резинкой,  липкой  лентой  либо  подвесом,
передаваемые  материалы.  Оберегаясь  от  возможных  неприятностей  не
следует  слишком  затягивать  период  времени  между  закладыванием  и
изыманием,  а выполнив как то, так и другое - сообщить об этом тем или
иным  доступным  способом  (безличным телефонным звонком,  отметкой на
конкретной точке...).
     Мгновенные контакты   реализуются   в   предметных   передачах  и
совершаются в местах,  где маловероятно всеохватывающее наблюдение  (в
потоке  пассажиров  в  метро,  в  наполненном автобусе,  в центральном
универмаге...).  Передают  здесь  из  рук  в  руки,  как  бы  случайно
сблизившись  вплотную.  Работающими  вариантами  таких контактов могут
служить: "нечаянные встречи" с передачей через рукопожатие, передача в
темноте  при  двух  соседних  креслах в кинотеатре,  "рассеянный обмен
газетами или похожими пакетами и  дипломатами  в  кафе,  на  выставке,
вокзале  или  парковой  скамейке,  роняние  предмета,  который  тут же
поднимается с незаметной подменой.
     Касательно сигнальной  связи  можно  сказать,  что  здесь реальны
всевозможные формы,  зависящие от фантазии конкретных  контактеров,  а
также  их  возможностей и обстоятельств:  рисованный значок в условном
месте, почтовая открытка с кодовой подписью или сюжетом, деталь одежды
или  жест  "случайного"  прохожего,  "ошибочный" звонок по телефону...
Используемые  подобным  образом   сигналы   должны   быть   совершенно
естественными,   чтобы   не   вызывать   у  окружающих  нежелательного
удивления.



     Как правило  приходит  тот  момент,  после  которого  общение   с
завербованным уже теряет всякий смысл, а порой даже вредно.
     *Предел в задействовании агента обычно наступает*:
     - когда в его услугах больше не нуждаются;
     - когда он стал опасен как свидетель;
     - когда вдруг выяснилось, что он ведет "двойную игру" (обманывает
или предает), и нет желания использовать сей факт для контр-игры;
     - при консервации, с наметками на будущее.
     Первой целью в данных случаях  является  нейтрализация  возможных
неприятностей  от бывшего агента.  То,  как этого достичь,  определяют
исходя из особенностей его личности,  позиции по отношению к кураторам
и уровня реально ощущаемой угрозы.
     *Заканчивать контакт рекомендуется*:
     - учтиво;
     - грубо;
     - радикально.
     При "чутком" прерывании контакта  высказывается  благодарность  и
выдается  вознаграждение,  величина  которого  не  может оскорбить или
обидеть человека. Даже когда общение завершается совсем (скажем, ввиду
"двойной  игры"  или обмана...),  агенту не мешает намекнуть,  что это
только временная мера,  и  его  "ценные  услуги"  скорей  всего  снова
понадобятся в дальнейшем.
     При "грубом" прерывании контакта используют ближайший  подходящий
повод и,  оказав определенное физическое воздействие, сурово говорят о
компромате.  Сей вариант хорош лишь для  робеющего  индивида  и  явной
уверенности в том, что он не причинит непоправимого вреда.
     Если агент является опасным свидетелем и  нет  гарантии,  что  он
будет молчать,  задействуют радикальные способы защиты, включающие как
физическое устранение объекта (чужими,  по возможности,  руками или  в
"случайных"  обстоятельствах),  так  и  особые  приемы  "стирания" его
памяти (см. раздел о методах влияния на человека).







     Должное взаимодействие с интересующим Вас человеком  складывается
из  индивидуальных  контактов,  пользу  от которых удается приумножить
через их рациональную организацию. Разные аспекты этих взаимоотношений
мы вкратце и рассмотрим.



     Общение является   результативным   при   том  условии,  что  оно
подчинено достижению ряда целей, например таких как:
     - изучение психологии объекта;
     - диагностика объекта;
     - установление более тесных контактов;
     - обеспечение сотрудничества;
     - обсуждение конкретной проблемы;
     - получение нужной информации;
     - передача своей фактуры, или дезинформации;
     - убеждение в чем-то;
     - принуждение к чему-либо.
     В ходе полноценного взаимодействия  можно  выделить  перетекающие
друг в друга фазы, включающие:
     - предварительную подготовку;
     - начало разговора с обеспечением подходящего психоэмоционального
настроя собеседника;
     - проведение  своей  темы  и направление беседы в предусмотренном
направлении;
     - завершение диалога с закреплением достигнутого результата.
     *На этапе предварительной подготовки занимаются*:
     - прояснением  того,  что  нужно  достичь в результате разговора,
отмечая предпочтительный максимум и приемлемый минимум;
     - получением  изначальной  информации (о партнере и затрагиваемой
проблеме);
     - обдумыванием  тактики контакта (сообразно с психологией объекта
и иными действующими здесь факторами);
     - отрабатыванием    выигрышных    компонентов    общения   (выбор
подходящего момента, места, обстановки и обстоятельств свидания).
     Начало разговора       с       поддержанием      соответствующего
психоэмоционального настроя у визави строится на пресечении негативных
эмоций и отбрасывании всевозможных барьеров,  затрудняющих необходимое
взаимопонимание.  Негативные реакции собеседника засекают по различным
внешним проявлениям (резкости фраз,  зажатости поз, узости зрачков...)
и  снимают  различными  психологическими   приемами   (выбором   особо
действующих слов, мимикой, телесным копированием...).
     Проведение избранной  темы  и  подстройка  беседы  к   колебаниям
диалога  опираются  на  исходную  тактику  с постоянным наблюдением за
различными (жесты,  выражения лица,  взгляд...) реакциями  партнера  и
коррекцией, исходя из них, своего последующего поведения.
     Завершение беседы   с   закреплением   достигнутого    результата
подразумевает,  что данный акт общения скажется необходимым образом на
мышлении и поступках собеседника,  не заставив его поменять суждение о
визави на негативное.
     Некоторые аспекты персонального взаимодействия  были  изложены  в
разделе  повествующем  о  вербовке,  здесь  же  мы  приведем различные
психологические моменты, улучшающие эффективность речевого общения.



     Готовясь к перспективному контакту следует учитывать, что:
     - в  холодные  и  сухие  дни  человек  лучше работает,  тогда как
слишком жаркая или влажная погода заметно притупляет интеллект;
     - встречи  "на море" ввиду особого воздействия свежего "морского"
воздуха (чуть соли и чуть йода...) весьма благоприятны для  проведения
деловых переговоров;
     - в районе 19 часов нервно-психическое состояние людей становится
довольно    неустойчивым,    что    может    проявиться   в   излишней
раздражительности и вспыльчивости;
     - там,  где  нет  толпы  и  музыка звучит не очень громко,  легче
придать беседе интимно-доверительный характер;
     - любая радость увеличивает альтруизм,  обида или разочарование -
уменьшает его;
     - нас всегда притягивают знающие и опытные люди;
     - человек любит тех, кто любит симпатичных ему людей;
     - чем  чаще мы видим партнера по общению,  тем больше вероятность
того,  что он нам понравится,  но чрезмерные контакты, однако, снижают
его привлекательность;
     - люди часто ценятся лишь в той степени, в какой они могут помочь
в реализации личных целей партнера;
     - чем больше кто-либо обладает властью,  тем меньше этот  индивид
стремится к дружеским контактам;
     - человек чаще всего придерживается принципа:  "пусть друзьям  во
всем сопутствует успех,  но в том,  что важно для меня - не более, чем
мне".
     *Вступая в  разговор и устраняя внутреннее напряжение у партнера,
помните, что*:
     - твердое уверенное рукопожатие,  сопровождаемое взглядом в глаза
нравится обычно почти всем;
     - дипломатичное поведение предполагает осторожность,  тактичность
и элементарную учтивость;
     - банальное начало ориентирует на банальность всей беседы;
     - субъекта более всего оскорбляет,  когда сообщают, что не помнят
его имени,  ведь этим ему как бы намекают,  что он не имеет совершенно
никакого значения для партнера;
     - люди   познавшие   эмоциональные   потрясения  нередко  ищут  в
собеседнике  лишь  "резонатора",  а  не  советчика  (неплохо  выражает
понимание и сочувствие, к примеру, обычное прикосновение руки...);
     - начав   беседу,   попытайтесь   организовать   благожелательную
атмосферу такими вопросами, на которые человек ответит "да" с заметным
удовольствием; тем самым завоевывается доверие партнера;
     - доброжелательная  установка  (а  попросту  - готовность слушать
человека) рождает состояние свободы и непринужденности;  чем менее  мы
судим говорящего, тем более самокритичным он проявится, выказывая свои
мысли и чувства гораздо откровеннее,  чем  в  ситуациях  с  осознанным
контролем;
     - люди обычно любят говорить о собственной персоне и подчеркивать
свою значительность;
     - беседовать  с  субъектом  желательно  лишь  на  его   привычном
"языке",  не  злоупотребляя  незнакомыми словами (что раздражает) и не
высказываясь чрезмерно  упрощенно  (Вас  могут  заподозрить  в  низком
уровне интеллекта);
     - на первый план в ходе общения необходимо выдвигать  суждения  и
устремления  собеседника  (вместо  "я  бы хотел..." - "Вы хотите..."),
поскольку он охотнее поддерживает разговор о собственных  проблемах  и
желаниях;
     - приятно  беседовать  с  людьми  имеющими  оживленное   лицо   и
экспрессивные   жесты,   а  также  с  теми,  кто  спонтанно  принимает
непринужденную позу (с субъектами,  которые при разговоре откидываются
назад  или  разваливаются  в  кресле  обычно  чувствуют  себя не очень
уютно);
     - чтобы    наладить    полное    взаимопонимание    и    породить
непринужденность при контакте,  желательно копировать как позу,  так и
жесты  собеседника;  такое  "отзеркаливание"  сообщает визави,  что Вы
поддерживаете его мнения и взгляды, и предрасполагает человека к Вам;
     - не   лишне   иной   раз  отображать  эмоциональные  переживания
партнера,  показывая, что отлично понимаете его психическое состояние;
это очень приятно и улучшает доверительные отношения;
     - когда  человек  эмоционально  возбужден,  он  часто  выражается
излишне экспрессивно и как бы нападает на собеседника, хотя это совсем
не так;
     - устойчивый    контакт    глазами    с    говорящим   выказывает
заинтересованность и вдохновляет визави на продолжение монолога;
     - простейшие  нейтральные  слова  ("конечно",  "разумеется"...) с
сочувственным наклоном головы,  подбадривают собеседника и вызывают  у
него желание продолжать общение;
     - ничто  так   не   нравится   безмолвствующему   партнеру,   как
предложение   высказать  свое  суждение,  которое,  конечно  же,  надо
внимательно выслушать;
     - когда   человек   видит,   что  его  слушают,  он  с  симпатией
настраивается  на   собеседника   и,   в   свою   очередь,   старается
прислушиваться к нему;
     - любому человеку нравится,  когда ему сообщают приятные вещи,  в
особенности это ценят женщины;
     - немалое значение  для  приведения  объекта  в  доброжелательное
состояние всегда имеет умно сказанный комплимент;
     - лесть не воспринимается болезненно,  когда она не выглядит  как
слишком явная ложь;
     - нельзя рассчитывать  на  дружескую  откровенность  в  ответ  на
фальшь, пусть даже замаскированную;
     - не стоит задавать излишнее количество вопросов,  поскольку  это
может помешать Вам обрести необходимое доверие;
     - безудержная очевидная хвастливость,  как правило, неэффективна,
и  прибегать  к  ней  есть какой-то смысл только тогда,  когда доверие
партнера уже обретено;
     - красивый энергичный жест, подчеркивающий главенствующую мысль -
обычно не помеха,  но избегайте  прибегать  к  рукам  для  привлечения
внимания;
     - для   вызывания   враждебности   вполне   хватает   сухости   и
сдержанности в обмене информацией;
     - для  обретения   дружественности   нужна   непринужденность   и
избыточность в сообщении разных сведений.
     *Ведя разговор не забывайте, что людей обыкновенно раздражают*:
     - негативный  эгоцентризм  (речь о своих сугубо личных и интимных
делах, будь то болезни или неприятности на работе);
     - банальность  (треп об известных всем вещах,  повторение избитых
шуток и афоризмов);
     - пассивность  (поддакивание  собеседнику и нежелание высказывать
обдуманное мнение);
     - самоуглубленность  (сосредоточенность  лишь  на своих успехах и
проблемах);
     - низкая    эмоциональность    (неизменяемое    выражение   лица,
однообразный голос, стремление не смотреть партнеру в глаза...);
     - угрюмость  (подчеркнутое  нежелание поддерживать беседу,  когда
нужно "клещами тащить каждое слово"...);
     - серьезность   (полное  отсутствие  улыбки  и  принимание  всего
всерьез);
     - льстивость   (заискивающий   тон,   искусственная  веселость  и
показное дружелюбие...);
     - отсутствие  тактичности  и  скоропалительные  выводы  (излишние
перебивания  собеседника  и  субъективные   оценки   по   первому   же
впечатлению; все это заставляет визави принять оборонительную позицию,
препятствующую нормальному общению);
     - повышенная   отвлекаемость   (увиливание   от   рассматриваемой
проблемы по любому поводу, использование в разговоре сленга...);
     - притворство (разыгрывание заинтересованности или сопереживания;
отсутствие  какого-либо  интереса  и  скука  отлично  вычисляются   по
выражению  лица,  как  бы  его  владелец ни изощрялся,  а это иной раз
воспринимается как оскорбление);
     - высокомерие   (надменность   и   пренебрежение  к  собеседнику,
"процеживание" слов сквозь зубы...);
     - грубость (отчетливое и достаточно неучтивое противоречие...);
     - болтливость ("владение разговором как личной вотчиной");
     - непрошенные  советы (дача советов,  когда об этом совершенно не
просят,  особенно  если   советующий   не   очень-то   разбирается   в
затрагиваемом вопросе);
     - решительность   утверждений   (безаппеляционные   замечания   с
небрежным   отметанием   чужого   мнения;   такое  отношение  вызывает
подсознательный протест и может привести к ссоре);
     - закрытые вопросы (т.е.  вопросы,  требующие однозначного - "да"
или "нет" - ответа;  они ведут  к  созданию  напряженности  в  беседе,
поскольку ограничивают у партнера пространство для маневра, и он может
почувствовать себя как на допросе).
     *Реализуя целевую установку, нелишне знать, что*:
     - первым чаще всего вынужден говорить более слабый;
     - для  поддержания  интереса  к  себе  можно интриговать партнера
своей осведомленностью;
     - тон  собственного  голоса полезно вымерять по тону собеседника:
когда последний повышает тон,  говорите тише,  что  вынудит  и  визави
понизить  силу  голоса;  при  этом  он  будет  сожалеть  о собственной
горячности, оставив таким образом победу в этом эпизоде за Вами;
     - в  конфликтных  ситуациях  накал эмоций зачастую удается снять,
дав человеку просто высказаться;
     - чтобы  с  успехом  что-либо внушить,  надо уметь заставить себя
слушать;
     - обман  целесообразен,  лишь  если  он  наверняка  не может быть
разоблачен;
     - малюсенькая ложь способна породить большое недоверие;
     - "вернейший способ быть обманутым,  - это  считать  себя  хитрее
всех других";
     - нечетко   сформулированный   вопрос    нередко    настораживает
собеседника;
     - опасно игнорировать предубеждения визави;
     - полезно давать партнеру шанс продемонстрировать свои познания в
любой области;
     - люди болезненно относятся к напоминаниям о тех ошибках, которые
они уже не совершают;
     - критические  замечания принимаются,  если объект осознает,  что
критикующий сочувствует ему, или критика выражается в тактичной форме;
     - одно  и  то  же  критикующее  замечание произнесенное спокойным
ровным тоном, способно вызвать: возбуждение у холерика, прилив энергии
у   сангвиника,  потерю  настроения  у  меланхолика  и  совершенно  не
воздействовать на хладнокровного флегматика;
     - не  следует  воспринимать  молчание  как внимание;  нередко это
может быть лишь погруженность человека в свои мысли.
     *Заканчивая диалог, учитывайте, что*:
     - нечеткий  и  невыразительный  конец  беседы  способен  развеять
благоприятное впечатление от всех ваших высказываний;
     - последние фрагменты разговора запоминаются прочнее всего;
     - необходимо  уметь  вовремя  остановиться,  иначе  эффективность
проведенного контакта значительно понизится.



     Чтобы добиться от  объекта  ожидаемого  реагирования,  необходимо
понимать особенности человеческого восприятия:
     - смысл фраз, составленных более чем из 13 слов (по другим данным
из  7  слов),  сознание обычно не воспринимает,  поэтому нет смысла их
применять;
     - речь  можно  понимать  лишь  при ее скорости не превышающей 2,5
слов в секунду;
     - фраза  произносимая  без  паузы  дольше  5-6  секунд  перестает
осознаваться;
     - мужчина  в  среднем слушает других внимательно 10-15 секунд,  а
после начинает думать, что бы ему добавить к предмету разговора;
     - любое эмоциональное возбуждение (но только не сопереживание...)
обычно затрудняет понимание других;
     - типичный  собеседник  как  "слышит",  так  и  понимает  намного
меньше, чем он хочет показать;
     - люди,  имеющие склонность к самоанализу,  неважно понимают тех,
кто не задумывается над своим внутренним миром;
     - беседуя  с  известным человеком в знакомых ситуациях,  партнеры
обычно слышат то,  что предполагают услышать,  а потому сообщение,  не
очень   характерное   для   него,  обычно  пропускают  мимо  ушей  или
воспринимают неверно;
     - неправильный язык оказывает отрицательное влияние на восприятие
сообщаемого;  несоответствие  употребляемого  выражения   стандартному
значению,  а  то и стилистическим канонам иной раз вызывает негативные
эмоции,  сводящие на нет всю  пользу  от  беседы  (излишне  выспренные
выражения - смешат,  банальные - нередко раздражают, ошибочная лексика
- настраивает на иронию...);
     - у  большинства  людей  есть  некие критические слова,  особенно
воздействующие  на  психику,  так  что  услышав  их  объект   внезапно
возбуждается и теряет нить ведущегося разговора;
     - мгновенный   переход   от   дружелюбия    к    немотивированной
враждебности способен вызвать растерянность,  оцепенение, страх и даже
эмоциональный шок;
     - когда  нужно  воздействовать  на чувства человека - ему говорят
преимущественно в левое ухо, когда на логику - в правое;
     - людей,  охваченных внезапным гневом,  заметно легче рассмешить,
чем в обычном настроении,  в этом  состоит  один  из  ценных  способов
нейтрализации конфликтов;
     - активность восприятия в огромной степени зависит от способности
полученной  информации  разбередить  в  памяти  человека  таящиеся там
воспоминания;
     - то,  что  всецело  ново  для  партнера  и  никаким  образом  не
стыкуется с его познаниями,  не вызывает у него и особого интереса,  а
чем  больше  индивид  знаком  с  предметом,  тем  более его интересуют
частности и нюансы;
     - когда   субъект   вообще   не  знаком  с  каким-либо  вопросом,
последующее  восприятие   предмета   обычно   сильно   обусловливается
первичным сообщением о нем;
     - известию, полученному первым, гораздо больше доверяют, чем всем
полученным в дальнейшем;
     - люди  обычно  преувеличивают  информационную  ценность  событий
подтверждающих  их  гипотезу и недооценивают информацию противоречащую
ей;
     - человек   высказывает  80%  из  того,  что  хочет  сообщить,  а
слушающие его воспринимают лишь 70% из этого, понимают - 60%, в памяти
же у них остается от 10 до 25%;
     - чтобы  партнер   смог   воспринять   передаваемую   информацию,
необходимо   постоянно   повторять  ему  главенствующие  там  мысли  и
положения;
     - чем лучше мы осознаем предмет беседы, тем легче ее запоминаем;
     - "средний человек" удерживает в памяти не более  четверти  того,
что было сказано ему лишь пару дней назад;
     - лучше всего память работает между 8-12 часами утра  и  после  9
часов вечера, хуже всего - сразу после обеда;
     - лучше всего запоминается последняя часть информации,  несколько
хуже - первая, тогда как средняя - чаще всего забывается;
     - память человека способна сохранить до 90%  из того, что человек
делает, 50% из того, что он видит и 10% из того, что он слышит;
     - прерванные по тем или иным причинам действия запоминаются в два
раза лучше чем законченные;
     - слишком значительный объем наличной информации сбивает с  толку
и препятствует ее переработке;
     - интеллект лучше всего работает в положении человека сидя,  хуже
- стоя, совсем плохо - лежа;
     - пожилые люди лучше всего соображают утром, молодые - вечером;
     - люди, как правило, умнее и расчетливее в 8 часов утра;
     - стоящий человек имеет некое  психологическое  преимущество  над
сидящим;
     - взаимодействуя в условиях большого шума необходимо: смотреть на
говорящего,   использовать   лишь   хорошо   знакомые   слова,  слегка
растягивать слоги,  глаголы типа "запрещаю" ставить  в  начале  фразы,
типа "разрешаю" - в ее конце;
     - "мысль  изменяется  в  зависимости  от   слов,   которыми   она
передается";
     - "иначе расставляемые  слова  приобретают  другой  смысл,  иначе
расставляемые мысли произведут другое впечатление";
     - при импульсивном эмоциональном реагировании  обычно  понимается
не более чем треть от воспринимаемой информации, поскольку возникающий
при этом стресс готовит для активного  ответа  тело  (выбрасыванием  в
кровь  адреналина,  активизацией  дыхания  и  пульса,  задействованием
резервов сахара и жира...), блокируя "ненужную" работу мозга;
     - женщина   рассматривает   разговор   как   способ  устанавления
контакта,  высказывания чувств или симпатий - антипатий,  а главное  -
как способ поиска решения различных проблем;
     - мужчины  больше  любят  говорить  о  собственных  успехах,  чем
слушать о чужих, женщины - наоборот;
     - мужчина озабочен личным статусом во мнении окружающих и смотрит
на общение как на возможность обмена информацией,  а не переживаниями;
он жаждет утвердить здесь свою собственную независимость;
     - женщины   ориентируются   на   внутреннее   содержание  (мысли,
намерения, чувства и отношения) беседы, усматривая всевозможные намеки
во  всяких  безобидных репликах;  они верят словам обычно больше,  чем
поступкам.



     Любая беседа слагается из многочисленных элементов,  зависящих от
внешних  обстоятельств и сцепленных продуманной стратегией.  Различные
аспекты эффективного общения представлены  в  разделах  обрисовывающих
вербовку  и методы воздействия на человека,  здесь же мы приведем лишь
некие ориентирующие рекомендации.
     *Готовясь к беседе, примите во внимание, что*:
     - необходимо превосходно ориентироваться в той проблеме,  которую
вы  собираетесь серьезно обсуждать;  воздерживайтесь от необоснованных
суждений;
     - располагаясь  за столом друг против друга вы создаете атмосферу
конкуренции, снижая этим шансы на успех переговоров;
     - ненужное    присутствие   незаинтересованных   лиц   и   всякие
непредусмотренные  отвлечения  (звонок  по  телефону,  внезапный  шум,
случайный   посетитель...)   мешают   доверительному   общению,  ломая
устанавливаемый Вами настрой беседы;
     - сидящий человек обычно откровеннее стоящего, но если поручается
задание,  рассчитанное на решительность  и  быстроту  -  пусть  визави
всегда стоит;
     - желая,  чтобы собеседник запомнил некоторый факт,  подайте  ему
эту информацию в самом начале разговора,  если же Вы хотите,  чтобы он
нечто сделал - оставьте просьбу на конец беседы.
     *Общаясь с человеком, осознавайте, что*:
     - люди нередко начинают мыслить лишь  в  тот  момент,  когда  они
заговорят;
     - чем меньше  у  партнера  уверенности  в  себе,  тем  больше  он
расхаживает вокруг да около, пока решится и приступит к главному;
     - с взволнованным и возбужденным человеком  нет  смысла  говорить
по-деловому;
     - опасно поддаваться  влиянию  эмоций  собеседника,  иначе  можно
утерять весь смысл сообщения;
     - испытывая прессинг спешки или сильнейшего желания отправиться в
туалет, субъект оказывается не в состоянии разумно мыслить;
     - "прикидываясь будто мы попали в расставленную нам  ловушку,  мы
проявляем  истинно изысканную хитрость,  поскольку облапошить человека
легче всего тогда, когда он хочет обмануть нас";
     *Рассчитывая получить какую-либо информацию, не забывайте, что*:
     - в ответе на фактическое  утверждение  партнер  сообщает  больше
сведений, чем отвечая на обычный вопрос;
     - для женщин характерно восприятие мелких событий как крупных;
     - ошеломляя   человека,   иной   раз  удается  получить  довольно
неожиданные материалы;
     - перемежая  своей  фразой "не может быть" высказывания партнера,
вы провоцируете его на  откровенность:  "люди  только  тогда  сообщают
интересующие нас сведения, когда мы противоречим";
     - если создать  убедительное  впечатление,  что  ведаете  гораздо
больше собеседника, последний сам расскажет все, что знает;
     - выслушивая эмоциональные  слова  и  выражения,  вникайте  в  их
реальный смысл, а не оформление;
     - у всех так называемых закрытых вопросов (т.е. требующих простых
-  "да"  или  "нет"  -  ответов),  есть  свойство  нарушать ход мыслей
говорящего, а потому предпочитайте им открытые вопросы;
     - открытые  вопросы  хороши  при  положительном  либо нейтральном
отношении собеседника, когда Вам требуются дополнительные сведения или
необходимо  прояснить  реальные  мотивы  и позиции объекта;  поскольку
инициатива здесь передается партнеру,  следите,  чтобы он не  захватил
контроль над ходом всей беседы.
     *Для сохранения  нужной  Вам  доброжелательности  визави  полезно
знать, что*:
     - субъекта можно привести в хорошее расположение духа,  пойдя ему
на некие уступки,  которые по существу заметно меньше,  чем кажутся на
первый взгляд;
     - при   всяком  подходящем  случае  активно  признавайте  правоту
партнера,  что может быть полезно даже тогда,  когда он  в  чем-то  не
прав;
     - чем критичнее к  себе  Вы  отнесетесь  при  ошибке,  тем  более
обезоруживается противник;
     - учтивость обхождения не  приуменьшит  ясности  ни  просьбы,  ни
приказа,  но явно воспрепятствует возникновению у партнера подспудного
сопротивления;
     - весьма  нехорошо  на  атмосферу делового разговора воздействует
презрительное отметание аргументов  собеседника  без  всякого  желания
понять их настоящий смысл;
     - когда высказывается всецело неприемлемая для  Вас  позиция,  не
стоит  отвергать  ее  огульно,  лучше  сказать,  что  Вам она пока что
непонятна.
     *Выстраивая композицию контакта учитывают, что*:
     - в выборе тактики и техники беседы  надо  учитывать  своеобразие
мышления  собеседника  и  его  психофизические особенности (к примеру,
женщине целесообразно показать, что сделано, а не как делается);
     - в   любом   общении   надобно  предусмотреть  как  "взлеты"  (с
концентрацией внимания визави), так как - и "спады" (для организации и
закрепления его мыслей и ассоциаций) разговора;
     - беседу следует периодически перемежать  обоснованными  паузами,
чтобы давать возможность передохнуть и закрепить достигнутое;
     - умело  расставляемые  паузы  иной  раз  могут  оказать  заметно
большее влияние, чем общий поток слов;
     - темп подачи материала и  размещение  остановок  определяются  с
учетом  психологии партнера,  при этом наиболее эффективен "квантовый"
(т.е. дозируемыми порциями) посыл фактуры;
     - не  очень  приятные  моменты  и  факты  желательно чередовать с
благоприятными,  а  начало  и  конец  беседы  должны  быть  несомненно
позитивными;
     - по мере приближения к завершению,  насыщенность  контакта  чаще
всего рекомендуется повысить;
     - желательно не допускать впечатления,  что собеседник сдался или
заметно отступил от собственных позиций.
     *Желая убедить партнера в чем-то*:
     - старайтесь   выявить   у  собеседника  все  пункты  внутреннего
колебания,  или же те,  где разыгрывается борьба мотивов,  и именно на
них сконцентрируйте свое воздействие;
     - воздействуйте лишь теми  аргументами,  какие  человек  способен
воспринять;
     - не ограничивайтесь голым приведением фактов и доводов,  а четко
раскрывайте весь их смысл;
     - сначала попытайтесь дать ответ на аргументы визави,  а после уж
высказывайте собственные доводы;
     - не  игнорируйте  противные  резоны,  а  загодя  предполагая  их
продумайте свои контраргументы;
     - всегда имейте про запас один хороший аргумент,  на  тот  случай
если объект в момент принятия решения вдруг станет колебаться;
     - полезно придавать  отдельным  утверждениям  форму  нейтрального
вопроса (иной раз риторического,  а то и на обдумывание...), тогда ваш
визави не ощутит стороннего давления и  связанного  с  ним  глубинного
контекста и сможет воспринять подобную подачу как собственное мнение;
     - воздерживайтесь от вопросов,  на кои собеседник может  ответить
"нет"  (когда субъект публично сообщил о своем мнении,  оно становится
довольно стойким ко всем последующим атакам на него...);
     - склоняя  человека  на  свою сторону,  смотрите ему между глаз и
представляйте именно ту реакцию, которую вы ожидаете от собеседника;
     - не отступайте до тех пор, пока партнер неоднократно и отчетливо
не повторит решительное "нет";
     - отслеживайте    невербальные    реакции   объекта   подстраивая
собственное поведение к его психическому состоянию (так,  если  визави
заинтересовался предлагаемой проблемой,  он вынет сигарету изо рта или
склонит голову набок;  теряя интерес к беседе он станет  разрисовывать
бумагу  либо  забросит  ногу на подлокотник кресла;  в момент принятия
решения партнер поглаживает подбородок,  а оказавшись в затруднении  и
неуверенности  -  почесывает  ухо,  щеку  или  нос,  а  также потирает
глаза...).
     *В манипулировании фактами используют такие способы, как*:
     - замешивание клеветы на правде;
     - подсовывание  ложного  факта  или намека к сообщению о реальных
событиях;
     - отвлечение внимания (игрою на эмоциях или побочной фактурой...)
от важных данных;
     - подмена фактов эмоциями;
     - выстраивание ложных выводов из верных фактов;
     - ложные обобщения (общие выводы на частном факте);
     - пренебрежение временными и логическими связями между фактами;
     - использование многозначных слов;
     - ложные ссылки на авторитеты;
     - игра на ассоциациях ("почтение к науке"...);
     - игра на самолюбии ("Как Вы конечно знаете...").
     *Чтобы рассеять   решимость   объекта   и  помешать  ему  принять
нежелательное для Вас решение,  используют нетактичные  приемы,  такие
как*:
     - опаздывание на встречу;
     - насмешки, оскорбления, обвинения;
     - демонстративное пренебрежение;
     - сообщение чего-то неприятного;
     - разыгрывание "непонимания";
     - давление "нехваткой времени";
     - ошеломление напором;
     - установление нереальных сроков;
     - затягивание переговоров...
     Когда по  позе  человека  Вам  станет  совершенно  ясно,  что  он
намеревается окончить разговор, берите инициативу в свои руки и первым
предложите   завершить  контакт,  поскольку  это  позволяет  сохранить
психологическое преимущество и Ваш контроль над ситуацией.





     Люди как  правило  высказывают  одно,  а  думают  совсем  другое,
поэтому очень важно понимать их истинное состояние.
     При передаче информации лишь 7%  от  нее  сообщается  посредством
слов   (вербально),   процентов   30   выражается   звучанием   голоса
(тональностями, интонацией...) и более 60% идет по прочим невербальным
(взгляд, жесты, мимика...) каналам.
     Для правильного  понимания  говорящего   оценивать   произносимое
желательно  в  неразрывной  связи  слов,  речи,  пантомимики  и других
"сопроводителей"  общения,  доводя  свое   восприятие   до   некоторой
завершенности.
     *Испытываемые в душе эмоции люди обычно выражают*:
     - конвенциально  (стандартно  принятым  в  данной  среде  общения
способом);
     - спонтанно (непроизвольно).
     Когда партнер  стремится  не  выдать  то,  как  он  относится   к
сообщаемому,    все    может   ограничиться   простым   конвенциальным
невербальным  намеком,   бывающим   иной   раз   истинным,   но   чаще
дезориентирующим.
     Люди нередко взвешивают свои слова и контролируют мимику,  однако
человек  способен  следить одновременно не более чем за двумя-тремя из
всех рождаемых внутри реакций. Благодаря такой "утечке информации" при
наличии  у  Вас  соответствующих  знаний  и  опыта имеется возможность
выявлять те чувства и стремления, которые объект предпочел бы утаить.
     Непроизвольно возникающие  у людей реакции сугубо индивидуальны и
хорошо читаются лишь при отменном знании  партнера.  Непонимание  сего
момента  способно  привести к фатальному самообману в познании другого
человека.
     Оценивая персональную   экспрессию,   в   учет  берут  не  только
врожденные различия,  но и влияние традиций, воспитания, среды и общей
жизненной культуры.
     Осознавать желательно   как   фоновое   состояние    (настроение)
индивида,  так  и  его  реакцию  на некий появляющийся стимул (зондаж,
поступок, ситуацию...).
     Значительно отчетливее,     чем    у    мужчин    просматриваются
наличествующие эмоции у женщин,  которые обычно  (хотя  и  не  всегда)
легко читаемы.
     Успешность в сокрытии своих чувств  зависит  от  натуры  человека
(холерику это труднее, чем флегматику...), сопутствующих обстоятельств
(затрагиваемости, неожиданности...) и опыта воспринимающего.
     При стимулировании личных чувств,  для большей убедительности все
экспрессивные средства обычно применяют в избытке.  Не забывайте  этот
факт  оценивая  искренность  других  людей  и  пробуя  изображать свои
переживания.
     Эмоциями человека повелевает правое из полушарий мозга, а логикой
и речью - левое.  Вдобавок каждое из этих полушарий координирует  свою
всегда  разноименную  сторону  тела.  Поэтому:  все  то,  что  человек
старается продемонстрировать другим,  отображается на правой  половине
его тела, а то, что он в реальности переживает - на левой.
     Переживания, возникающие    в    душе    какого-либо    человека,
высвечиваются в его облике и движениях вполне определенным образом,  и
то как это происходит мы здесь подробно рассмотрим.



     Под действием    испытываемых    индивидом    чувств    рождаются
скоординированные   сокращения   и   расслабления   различных  лицевых
структур,  которые определяют  выражение  лица,  прекрасно  отражающее
переживаемые   эмоции.  Поскольку  состоянием  лицевых  мышц  несложно
научиться  управлять,  отображение  эмоций  на  лице  нередко  пробуют
маскировать, а то и имитировать.
     Об искренности человеческой эмоции  обычно  говорит  симметрия  в
отображении чувства на лице,  тогда как чем сильнее фальшь,  тем более
разнятся мимикой его правая и левая половины.
     Даже легко  распознаваемая  мимика  иной раз очень кратковременна
(доли секунды...)  и  зачастую  остается  незамеченной;  чтобы  суметь
перехватить  ее  нужна порядочная практика или специальная тренировка.
При этом  положительные  эмоции  (радость,  удовольствие...)  узнаются
легче, чем отрицательные (печаль, стыд, отвращение...).
     Особой эмоциональной выразительностью отличаются  губы  человека,
читать  которые  совсем несложно (усиленная мимика рта или закусывание
губ,  к примеру,  свидетельствуют о беспокойстве,  ну а скривленный  в
одну сторону рот - о скепсисе или насмешке...).
     Улыбка на  лице,   как   правило,   выказывает   дружелюбие   или
потребность в одобрении.  Улыбка для мужчины - это хорошая возможность
показать,  что он во всякой ситуации  владеет  собой.  Улыбка  женщины
значительно правдивее и чаще соответствует ее фактическому настроению.
Так как улыбки сплошь и рядом отображают разные мотивы,  желательно не
слишком полагаться на их стандартное истолкование:
     - чрезмерная улыбчивость - потребность в одобрении;
     - кривая улыбка - знак контролируемой нервозности;
     - улыбка при приподнятых бровях - готовность подчиниться;
     - улыбка при опущенных бровях - выказывание превосходства;
     - улыбка без подъема нижних век - неискренность;
     - улыбка с  постоянным  расширением  глаз  без  их  закрывания  -
угроза.
     Типичные выражения  лица,  сообщающие  об  испытываемых  эмоциях,
таковы:
     - *радость*:  грубы искривлены и их уголки оттянуты назад, вокруг
глаз образовались мелкие морщинки;
     - *интерес*: брови немного приподняты или опущены, тогда как веки
слегка расширены или сужены;
     - *счастье*:  внешние уголки губ  приподняты  и  обычно  отведены
назад, глаза спокойные;
     - *удивление*:  поднятые брови образуют морщины на лбу, глаза при
этом расширены, а приоткрытый рот имеет округленную форму;
     - *отвращение*:  брови опущены, нос сморщен, нижняя губа выпячена
или приподнята и сомкнута с верхней губой, глаза как бы косят; человек
словно подавился или сплевывает;
     - *презрение*, бровь приподнята, лицо вытянуто, голова возвышена,
словно человек смотрит на кого-то сверху вниз;  он как бы отстраняется
от собеседника;
     - *страх*:  брови немного подняты,  но  имеют  прямую  форму,  их
внутренние  углы сдвинуты и через лоб проходят горизонтальные морщины,
глаза расширены,  причем  нижнее  веко  напряжено,  а  верхнее  слегка
приподнято,  рот  может  быть  открыт,  а  уголки  его оттянуты назад,
натягивая и распрямляя губы над зубами (последнее как раз и говорит об
интенсивности  эмоции...);  когда  в наличии лишь упомянутое положение
бровей, то это - контролируемый страх;
     - *гнев*:   мышцы   лба   сдвинуты  вовнутрь  и  вниз,  организуя
угрожающее или нахмуренное выражение глаз,  ноздри расширены и  крылья
носа приподняты, губы либо плотно сжаты, либо оттянуты назад, принимая
прямоугольную форму и обнажая стиснутые зубы, лицо часто краснеет;
     - *стыд*:  голова опущена,  лицо отвернуто, взгляд отведен, глаза
устремлены вниз или "бегают" из стороны в сторону,  веки  прикрыты,  а
иногда  и  сомкнуты;  лицо  довольно  покрасневшее,  пульс  учащенный,
дыхание с перебоями;
     - *скорбь*:  брови сведены, глаза тусклы, а внешние углы губ иной
раз несколько опущены.
     Знать выражения  лица при различных эмоциях полезно не только для
того,  чтобы понимать других, но и для тщательнейшей отработки (обычно
перед зеркалом) своих рабочих имитаций.



     Откровенно говорят  о внутренних переживаниях человека его глаза,
недаром опытные "игроки" пытаются скрывать их  выражение  за  стеклами
темных очков.
     *Людей обычно выдают*:
     - какие-либо  изменения  в обычном выражении глаз - возникновение
некой эмоции, сигнал реагирования на стимул;
     - непроизвольные  движения  глаз  (заметно  "бегающие  глаза")  -
тревога, стыд, обман, страх, неврастения;
     - блестящий взгляд - горячка, возбуждение;
     - остекленелый взгляд - чрезвычайная слабость;
     - увеличение зрачков - ощущение интереса и получение удовольствия
от информации,  общения,  фотографии,  партнера, пищи, музыки и прочих
внешних  факторов,  принятие чего-либо,  но также и сильное страдание;
употребление некоторых лекарств и наркотиков (марихуаны, кокаина...);
     - сужение зрачков - накатывание раздражения,  злобы,  ненависти и
сходных   отрицательных   эмоций,   непринятие   чего-либо;   действие
определенных наркотиков (морфия, героина...);
     - сумбурные движения зрачков - знак опьянения (чем больше таковых
движений, тем человек пьянее);
     - усиленное моргание - возбуждение, обман.
     Люди всегда   предпочитают   смотреть   на   тех,  кем  они  явно
восхищаются,  или на тех,  с  кем  у  них  близкие  взаимоотношения  с
близкого  расстояния;  женщины  при  этом проявляют больший визуальный
интерес, чем мужчины.
     В ходе общения чаще всего смотрят партнеру в глаза когда слушают,
а не когда говорят,  хотя осуществляя  внушение,  иной  раз  применяют
прямой взгляд в глаза в момент произнесения диалога.
     Субъект, который смотрит Вам в глаза заметно меньше  одной  трети
всего периода общения либо не честен, либо пытается скрыть что-то; тот
же,  кто нескрываемо упорно вглядывается  в  глаза  испытывает  к  Вам
повышенный   интерес   (зрачки   расширены),   выказывает  откровенную
враждебность (зрачки сужены) или стремится доминировать.
     Модификации контактов глаз имеют следующую расшифровку:
     - "отсутствующий взгляд" - сосредоточенное размышление;
     - переведение  взгляда  на  окружающие  предметы  и  в  потолок -
падение интереса к беседе, излишне длинный монолог партнера;
     - настойчивый  и  пристальный  взгляд  в  глаза (зрачки сужены) -
признак враждебности и явного желания доминировать;
     - настойчивый  и  пристальный взгляд в глаза (зрачки расширены) -
знак сексуальной заинтересованности;
     - отвод  и  опускание  взгляда  - стыд,  обман;  - взгляд сбоку -
недоверие;
     - взгляд   то  отводится,  то  возвращается  назад  -  отсутствие
согласия, недоверие.



     Значительную информацию  о  внутреннем  настрое   человека   дает
статическое  положение  его  тела.  При  этом  часто  повторяемая поза
сообщает об устойчивых особенностях личности.
     Поскольку в  перепадах чувств люди обычно лучше контролируют свое
лицо, чем тело, нередко вовсе не мимика, а поза способна рассказать об
истинных переживаниях индивида.
     *Возможные привязки  положений  тела  к  психическому   состоянию
человека таковы*:
     - руки заложены  за  спину,  голова  высоко  поднята,  подбородок
выставлен - чувство уверенности в себе и превосходства над другими;
     - корпус подан вперед, руки (подбоченясь) на бедрах - уверенность
в  своих  силах  и  готовность  к  активным действиям,  агрессивность,
взвинченность при разговоре,  стремление отстаивать  свою  позицию  до
конца;
     - стояние,  опираясь руками о стол или стул - ощущение  неполноты
контакта с партнером;
     - руки с расставленными локтями заведены за  голову  -  осознание
превосходства над другими;
     - закладывание  больших  пальцев  рук  за  пояс  или  в   прорези
карманов; - знак агрессивности и демонстрируемой уверенности в себе;
     - высовывание  больших   пальцев   рук   из   карманов   -   знак
превосходства;
     - скрещенные конечности - скептическая защитная установка;
     - нескрещенные  конечности  и  расстегнутый  пиджак  -  установка
доверия;
     - наклон головы в сторону - пробуждение интереса;
     - наклон головы вниз - отрицательное отношение;
     - легкий отклон головы назад - знак агрессивности;
     - сидение на кончике стула - готовность вскочить в  любой  момент
чтобы:  либо уйти, либо действовать в создавшейся ситуации, либо унять
скопившееся возбуждение,  либо привлечь к себе внимание и подключиться
к разговору;
     - закидывание ноги на ногу со скрещиванием рук на  груди  -  знак
"отключения" от разговора;
     - забрасывание  ноги  на  подлокотник  кресла  (сидя  на  нем)  -
пренебрежение к окружающим, потеря интереса к разговору;
     - скрещенные лодыжки у сидящего  -  сдерживание  неодобрительного
отношения, страх или взволнованность, попытка самоконтроля, негативное
защитное состояние;
     - положение  (сидя или стоя) с ногами ориентированными на выход -
явное желание прекратить разговор и уйти;
     - частая перемена поз, ерзанье на стуле, суетливость - внутреннее
беспокойство, напряженность;
     - вставание  -  сигнал о том,  что некое решение принято,  беседа
надоела, что-то удивило или шокировало...;
     - сцепленность  пальцев  рук  -  разочарование  и  желание скрыть
отрицательное отношение (чем  выше  расположены  при  этом  руки,  тем
сильнее негатив);
     - кисти  рук  соединены   кончиками   пальцев,   но   ладони   не
соприкасаются  -  знак  превосходства  и  уверенности в себе и в своих
словах;
     - руки  опираются локтями о стол,  а их кисти расположены - перед
ртом  -  скрывание  своих  истинных  намерений,  игра  с  партнером  в
кошки-мышки;
     - поддерживание головы ладонью - скука;
     - пальцы,  сжатые в кулак расположены под щекой, но не служат для
опоры головы - признак заинтересованности;
     - подпирание большим пальцем подбородка - знак некоей критической
оценки;
     - обхватывание  своего  бокала  двумя  руками  -  замаскированная
нервозность;
     - выпускание  дыма  от  сигареты  вверх  - положительный настрой,
уверенность в себе;
     - выпускание  дыма  от  сигареты  вниз  - негативный настрой,  со
скрытыми или подозрительными мыслями.



     "Жест есть не движение тела,  а движение  души".  Он  сообщает  о
желании  человека  и  о  том,  что  тот  в  этот момент испытывает,  а
привычный для кого-то жест - свидетельствует о черте его характера.
     Внешне одинаковые   жесты   у   различных  людей  могут  означать
совершенно непохожие вещи, но существуют и тождественные моменты:
     - активная  жестикуляция - частый компонент положительных эмоций,
понимаемый другими как выказывание дружелюбия и заинтересованности;
     - чрезмерная    жестикуляция    -    признак   беспокойства   или
неуверенности.
     При определении  мыслей  и  эмоций индивида следует отмечать лишь
непроизвольную жестикуляцию:
     - демонстрация открытых ладоней - показатель откровенности;
     - сжатие кулаков -  внутреннее  возбуждение,  агрессивность  (чем
сильнее сжимаются пальцы, тем сильнее сама эмоция);
     - прикрывание рта рукой (или бокалом в  руке)  в  момент  речи  -
удивление,   неуверенность   в   произносимом,   ложь,   доверительное
сообщение, профессиональная подстраховка от чтения по губам;
     - прикосновения к носу или легкие почесывания его - неуверенность
в сообщаемом  (как  собой,  так  и  партнером),  ложь,  поиск  в  ходе
дискуссии нового контраргумента;
     - потирание  пальцем  века  -  ложь,  но  иной  раз  -   ощущение
подозрительности и лжи со стороны партнера;
     - потирание и почесывание различных фрагментов головы (лба,  щек,
затылка, уха...) - озабоченность, смущение, неуверенность;
     - поглаживание подбородка - момент принятия решения;
     - суетливость    рук   (теребление   чего-либо,   скручивание   и
раскручивание авторучки, троганье частей одежды...) - настороженность,
нервозность, смущение;
     - пощипывание ладони - готовность к агрессии;
     - покусывание ногтей - внутреннее беспокойство;
     - всевозможные  движения  руки  поперек  тела  (поправить   часы,
прикоснуться   к   запонке,   поиграть   пуговицей  на  манжете...)  -
маскируемая нервозность;
     - собирание "ворсинок" с одежды - жест неодобрения;
     - оттягивание  от  шеи  явно  мешающего  воротничка   -   человек
подозревает,  что  другие  распознали его обман,  нехватка воздуха при
гневе;
     - протирание  стекол очков либо помещение дужки их оправы в рот -
пауза для обдумывания, просьба подождать;
     - снятие очков и бросание их на стол - чрезмерно острый разговор,
трудная и неприятная тема;
     - гашение   или  откладывание  сигареты  -  период  максимального
напряжения;
     - слишком частое сбивание пепла с сигареты - тягостное внутреннее
состояние, нервозность;
     - наклон головы набок - пробуждение интереса;
     - быстрый  наклон  или  поворот  головы  в  сторону   -   желание
высказаться;
     - постоянное  отбрасывание  якобы  "мешающих"  волос  со  лба   -
беспокойство;
     - явное стремление  опереться  на  что-либо  или  прислониться  к
чему-либо  -  ощущение  сложности и неприятности момента,  неразумение
того, как выкрутиться из создавшегося положения (всякая опора повышает
уверенность в себе...).



     Голос довольно  точно  сообщает  окружающим  о  текущем состоянии
человека (о его переживаниях,  отношении  к  фактам,  самочувствии,  а
нередко - и о темпераменте, о чертах характера).
     Уловить эмоции  объекта  (гнев  и  печаль  -  легче,  ревность  и
нервозность - сложнее...) позволяет ТОН его голоса.
     В состоянии тревоги или нервного напряжения у партнера  несколько
меняется  и  голосовой  ТЕМБР.  Этот факт нашел достойное применение в
бесконтактных  (т.е.  всецело  незаметных  для  собеседника)  образцах
"детектора лжи".
     Расшифровывая сообщение, обращайте внимание как на СИЛУ, так и на
ВЫСОТУ голоса:
     - явно высокий - энтузиазм, радость, недоверие;
     - высокий,  в широком диапазоне силы, тональности и высоты - гнев
и страх;
     - чрезмерно высокий, пронзительный - беспокойство;
     - мягкий  и  приглушенный,  с понижением интонации к концу каждой
фразы - горе,  печаль,  усталость;
     - форсирование звука - напряжение, обман.
     *Значительно информативны невербальные звуки*:
     - свист (явно не художественный...) - неуверенность или опасение;
     - несоответствующий моменту хохот - напряжение;
     - неожиданные спазмы голоса - напряжение;
     - постоянное  покашливание  -  лживость,  неуверенность  в  себе,
обеспокоенность.



     Более всего о внутреннем  психоэмоциональном  состоянии  человека
может  сообщить  анализ  его  связной  речи:  как  в  ней  расставлены
логические ударения, как быстро произносятся слова, как конструируются
фразы,  какие  имеются  отклонения  от нормы (неуверенный или неверный
подбор слов,  обрывание фраз на полуслове,  изменение слов,  появление
слов-паразитов, исчезновение пауз...). При этом:
     - быстрая речь - очевидная  взволнованность  или  обеспокоенность
чем-то,  страстное  желание убедить или уговорить кого-то,  разговор о
личных трудностях;
     - медленная речь - высокомерие,  усталость, угнетенное состояние,
горе;
     - прерывистая речь - неуверенность;
     - появление особой "гладкости" речи - возбуждение;
     - лаконичность и решительность речи - явная уверенность;
     - заикание - напряженность или обман;
     - нерешительность в подборе  слов  -  неуверенность  в  себе  или
намерение внезапно удивить чем-то;
     - появление речевых недостатков (повторение или  искажение  слов,
обрывание фраз на полуслове...) - несомненное волнение,  но иной раз и
желание обмануть;
     - опускание речевых пауз - напряжение;
     - слишком удлиненные паузы - незаинтересованность или несогласие;
     - появление в речи пауз, заполняемых словами-паразитами ("ну...",
"так сказать"...,  "э"...) - нерешительность и затруднение в выражении
мысли, поиск выхода из положения;
     - вклинивание  в  произносимое  слово  уменьшительно-ласкательных
суффиксов ("ясненько"...) - эмоциональное или физическое напряжение;
     - возрастание числа  тривиальных  наборов  слов,  проговариваемых
быстрее чем обычно - эмоциональное возбуждение, напряжение;
     - умолкание или скупость в словах - обида;
     - постоянное прерывание других - напряжение;
     - переход внутренней речи во внешнюю ("мысли вслух") - чрезмерное
волнение.



     Эти реакции  обычно  плохо  поддаются  контролю  (хотя различными
приемами  пытаются  их  маскировать)  и  потому  весьма  информативны.
Отдельные   из   них   выявляют  при  аппаратной  диагностике  обмана,
осуществляемой  приборами,   известными   под   обобщающим   названием
"детектор лжи" (а также "полиграф").
     *Стандартное прочтение этих реакций таково*:
     - покраснение лица (иной раз пятнами) - стыд, гнев;
     - побеление лица - страх, признак виновности;
     - расширение зрачков - интерес,  удовольствие,  согласие, сильная
боль;
     - сужение зрачков - неудовольствие, отвергание;
     - усиленные  биения  пульса  на  венах  рук  или   артериях   шеи
(поддергивание  галстука  на  шее  из-за  активного сердцебиения...) -
тревога, страх, стыд, обман;
     - снижение частоты пульса - повышенное внимание;
     - быстрое или поверхностное дыхание - внутреннее напряжение;
     - короткое дыхание через нос - злость;
     - нарушенность   дыхания,   спазматические   движения   горла   и
рефлекторные сглатывания слюны - тревога, стыд, обман;
     - пересыхание рта  (сглатывания,  облизывание  губ,  жажда...)  -
страх, обман;
     - внезапное обнажение зубов - признак ярости, агрессивность;
     - испарина, пот - гнев, смущение, нервозность, обман;
     - дрожь (в пальцах  рук  и  ног,  мышцах  лица...)  -  внутреннее
напряжение, страх, обман;
     - частое моргание - возбуждение, обман;
     - урчание в животе - страх (не всегда, разумеется...);
     - скрип  зубами  -  сильнейшая  нервозность,  стресс,  отсутствие
возможности осуществить задуманное.
     Подобные реакции обычно  проще  обнаружить  у  мужчин,  нежели  у
женщин, которые к тому же лучше охмуряют и детектор лжи.



     Представленная здесь  привязка отслеживаемых внешних проявлений к
тому,  что индивид фактически переживает, неполна и не совсем надежна,
поскольку каждый человек хоть чуточку, да уникален.
     - *Осознание своей силы* (уверенность в себе).  Стабильная прямая
поза  дополненная  выставленным  подбородком,  руки  при  этом  могут:
сцепляться  за  спиной,  располагаться  на   бедрах   ("подбоченясь"),
засовываться в карманы при оставлении больших пальцев снаружи, активно
демонстрировать тылы кистей,  в то время как большие пальцы помещаются
за пояс...  "Оседлывание" стула, или небрежное забрасывание одной ноги
на подлокотник кресла...  Руки  порой  закладываются  за  голову  либо
соединяются  концами  пальцев  при разведении ладоней...  Глаза подчас
почти прикрыты веками,  так что смотреть приходится  при  запрокинутой
назад  голове...  Улыбка  с  приспущенными бровями...  Решительность и
лаконичность  речи...  Скупость  в  передаче  деловой   информации   и
расточительство  фактурой  при  устанавливании контакта...  Повышенная
заинтересованность  проблемами,  целями  и   обязанностями   других...
Спокойствие...
     - *Осознание своей слабости*  (отсутствие  уверенности  в  себе).
Чрезмерная жестикуляция, а также убирание рук за спину с захватыванием
одной рукой запястья другой;  стремление  опереться  на  что-либо  или
прислониться   к   чему-либо...  Улыбка  в  сочетании  с  приподнятыми
бровями... Сомнения в подборе слов и прерываемая речь... Поспешность и
готовность  в  выдаче  информации,  а  также склонность обстоятельно и
досконально аргументировать свои поползновения... Суетливость...
     - *Воля  к  сопротивлению*.  Средняя  громкость  голоса,  твердый
холодный тон,  четкая артикуляция,  медленный темп и ритмичное течение
речи, точная дикция...
     - *Внутреннее  напряжение*.  Зажатость  в  позах   и   движениях,
стремление опереться или прислониться к чему-либо,  скрещенные лодыжки
у сидящего.  Предельно сцепленные между  собой  руки,  излишне  частое
сбивание   пепла   с  горящей  сигареты...  Изменение  тембра  голоса,
форсирование звука,  внезапные спазмы гортани, скрип зубами, заикание,
несоответствующий  моменту  хохот,  постоянное  перебивание  других...
Увеличение числа шаблонных фраз,  высказываемых быстрее,  чем  обычно,
пренебрежение   речевыми   паузами,   использование   в  речи  слов  с
ласкательными и уменьшительными суффиксами.
     - *Усталость  или  угнетенность*.  Тусклый и остекленелый взгляд,
замедленная речь,  мягкий и приглушенный голос, с падением интонации к
концу отдельной фразы...
     - *Враждебность*.  Отодвигание от партнера,  сжимание кулаков при
скрещенных  руках,  отклон всей головы назад и обрывание чужой речи...
Пристальный или  настойчивый  взгляд  в  глаза  с  резко  уменьшенными
зрачками...  В возможном варианте смотрят искоса при опущенных бровях,
лоб нахмурен, уголки губ опущены.
     - *Нервозность  и  неуверенность*.  Суетливость,  частая перемена
позы,  чрезмерная жестикуляция,  движения руки поперек тела (взять или
поправить  что-то...),  покусывание  ногтей,  отбрасывание  "мешающих"
волос со лба,  усиленная мимика  рта,  закусывание  губ...  Высокий  и
пронзительный  голос,  быстрая  речь,  "высказывание  мыслей вслух"...
Испарина, пот...
     - *Хорошее  настроение*  (положительные эмоции).  Улыбка на лице,
активная жестикуляция, расширенные зрачки, расстегнутый пиджак, бодрое
насвистывание  какой-либо мелодии...  Пускание дыма от сигареты вверх,
общительность...
     - *Плохое   настроение*   (отрицательные   эмоции).   Походка   с
волочением  ног,  заметно  суженные  зрачки,  взгляд  устремленный   к
земле...  Пускание  дыма от сигареты вниз,  замедленная речь,  угрюмое
молчание,  раздраженный  голос...  Придирки  к  совершенно  безобидным
словам и провоцирование на ссору, враждебность неконтактность...



     Если до  этого  были  рассмотрены типические проявления более или
менее устойчивого фонового психоэмоционального  настроя  человека,  то
теперь   мы   уделим   внимание  автоматическим  реакциям  объекта  на
неожиданно возникший раздражитель (слово,  поступок, ситуацию...). Как
и всегда,  на учет берут либо набор из приводимых ниже признаков, либо
единственный, но характерный для конкретного субъекта отклик:
     - *удовольствие,  принятие*  -  значительное  расширение зрачков,
активно расплывающаяся по лицу улыбка и мелодичный голос;
     - *неудовольствие,  отвержение*  - сужение зрачков,  резкие удары
ногой по земле или воздуху;
     - *заинтересованность*  - склонение головы набок,  взгляд искоса,
сопровождаемый при  этом  улыбкой  или  слегка  приподнятыми  бровями,
вытаскивание сигареты изо рта;
     - *скука* -  смещение  взгляда  на  соседствующие  предметы  и  в
потолок,  сугубо механическое рисование чего-то на бумаге,  сидящая со
скрещенными ногами женщина вдруг начинает вяло покачивать ногой;
     - *смущение,  стыд*  -  закрытие,  а  также опускание и отведение
глаз,  покраснение (иной раз пятнами)  лица,  усиленный  пульс  крови,
отслеживаемый  в  венах  рук  или  артериях шеи,  затруднения дыхания,
испарина, пот;
     - *недоверие*  -  складывание  рук на груди,  почесывание пальцем
спинки носа, отвод и возвращение взгляда назад;
     - *неодобрение  и  несогласие* - покачивание головой из стороны в
сторону,  сбивание "ворсинок" с  одежды,  скрещивание  рук  на  груди,
растягивание речевых пауз;
     - *ложь* - отводы взгляда в сторону  и  книзу,  почесывание  века
пальцем и растирание ладонью затылка,  прикрывание рта рукой в моменты
речи,  "бегающие глаза", частое моргание, пересыхание рта (сглатывание
слюны, облизывание губ, жажда...), судорожные движения горла, проблемы
с дыханием,  усиленные пульсации крови,  отмеченные в  венах  рук  или
артериях   шеи,   испарина   и  пот,  дрожь  в  мышцах  тела  (пальцах
конечностей,  фрагментах лица...),  возникновение  в  диалоге  речевых
недостатков  вроде  повтора  слов  или обрыва фраз на полуслове (перед
обманом),  форсирование   громкости   речи,   а   также   заикание   и
покашливание;
     - *страх* - заметно выраженное побледнение лица,  пересыхание рта
(сглатывание  слюны,  облизывание губ,  жажда...),  проявленное биение
пульса в венах рук или артериях шеи,  дрожь в  пальцах  рук  и  мышцах
лица, "урчание" в животе, высокий голос, "бегающие глаза";
     - *виновность* - некие изменения в цвете лица (побледнение);
     - *злость   (гнев)*   -   сжатие   кулаков,  пощипывание  ладони,
"свирепое" раздавливание сигареты в  пепельнице,  пинание  или  грубое
отбрасывание чего-либо, испарина и пот, значительное покраснение (иной
раз пятнами) лица, короткое и шумное дыхание через нос;
     - *вероятность  нападения*  -  резкое  побеление лица,  внезапное
сужение зрачков, оскаливание зубов.
     Для точного  улавливания  "обнажающих"  объект  реакций  *следует
приобрести привычку непроизвольно отмечать все  возникающие  изменения
в*:
     - выражении глаз;
     - величине зрачков (сужение или расширение);
     - цвете лица (побеление или покраснение);
     - биении пульса (на шее, на висках и на запястьях рук...);
     - дыхании (по колебаниям грудной клетки,  а  также  по  ямочке  у
основания шеи...);
     - сухости рта (по сглатыванию слюны или облизыванию губ...);
     - потливости кожи (на ладонях рук и лице...);
     - треморе  мышц  (дрожь  в  руках,  в  пальцах  конечностей  и  в
некоторых частях лица...).



     Нейролингвистическое программирование   (НЛП)   считается   очень
эффективным способом почти  неуловимого  проникновения  в  подсознание
человека  и  организации  на этой основе эффективного взаимодействия с
ним.



     Все люди  обладают  сознанием   (внутренним   осознанным   миром)
стыкующимся   с   подсознанием   (внутренним   неосознанным  миром)  и
функционируют в определенной среде (внешнем окружающем мире).
     Субъектом управляют  образы,  обычно  возникающие из его прошлого
опыта, а также созданные воображением и хранимые в подсознании.
     И внешний  мир,  и  подсознание  поддерживают  связь  с сознанием
посредством  трех  основополагающих   систем   образов,   ощущений   и
представлений:
     - аудиальной (слух);
     - визуальной (зрение);
     - кинестетической (мышечные ощущения, вкус и обоняние).
     Основываясь на  системах  представлений (которые здесь называются
"модальностями"...) всех индивидов можно подразделить на три группы:
     - визуалистов (мыслящих преимущественно образами);
     - аудиалистов (мыслящих преимущественно словами);
     - кинестетиков (мыслящих преимущественно ощущениями).
     Люди неточно понимают друг друга, если обмениваются информацией в
терминах разных модальностей; использование же одной общей модальности
способно   обеспечить   доверительные   отношения   автоматически   на
подсознательном уровне.
     *Распознать главенствующую модальность  человека  обычно  удается
по*:
     - своеобразию употребляемых им  слов:  глаголов,  прилагательных,
наречий (которые здесь называются "предикатами");
     - движениям его глаз;
     - некоторым особенностям личности.
     *Типичные варианты возможных предикатов таковы*:
     - Визуальные:  видеть,  сфокусировать, мелькать... яркий, темный,
туманный... расплывчато, отчетливо, ясно...
     - Аудиальные:  слышать,  звучать, кричать, оглушать, настраивать,
согласовывать... громкий, тихий... звонко...
     - Кинестетические:      чувствовать,      орудовать,     хватать,
притрагиваться... теплый, гладкий, твердый, тяжелый, вкусный, пресный,
острый, горький, свежий, ароматный... пахнуть, пробовать...
     - Нейтральные:  думать,  знать,  понимать, воспринимать, помнить,
верить... уважительный, изменчивый...
     *Перерабатывая информацию,   субъект   обычно   двигает   глазами
следующим образом*:
     - Визуалист - налево-вверх или направо-вверх, а также прямо-вверх
или по центру (на месте);
     - Аудиалист - налево-вбок или направо-вбок, а также влево-вниз;
     - Кинестетик - направо-вниз и прямо-вниз.
     *По некоторым    характерным     признакам     людей     пытаются
диагностировать так*:
     - *Визуалист*:  плечи расправлены,  в общении  склонен  сохранять
дистанцию,  фразы  предпочитает начинать с местоимения "ты" или "Вы" и
разговаривает быстро и громко  со  многими  паузами...  оценивает  все
вокруг не относя это к себе... в конфликте зачастую обвиняет...
     - *Аудиалист*:  малоподвижный,  с  минимальной   жестикуляцией...
предпочитает   не   смотреть  в  глаза,  а  говоря  рассматривает  лоб
партнера...  речь монотонна и как бы на одной ноте...  обычно  говорит
"те...",  "тот..."  редко  применяет  местоимение "я"...  старается не
брать ответственность на себя...
     - *Кинестетик*:  плечи  и  шея устремлены вперед...  предпочитает
быть поближе к партнеру и  любит  прикасаться  к  нему  руками,  долго
держать  его  руку в своей...  заметно злоупотребляет словом "я"...  в
конфликтах склонен к извинениям...
     Умение слышать  предикаты  и определять по рефлекторным движениям
глаз  глубинные  переживания  человека  дает  возможность   установить
доверительный  контакт  на бессознательном уровне и направлять энергию
объекта туда, куда Вам надо.



     Движения глаз любого человека способны рассказать не только о его
модальности, но и о том, как он работает с текущей информацией.
     *Рассмотрим 9   направлений   взгляда    и    их    рекомендуемую
расшифровку*:
     - направо-вверх - визуальное конструирование (ВК);
     - прямо вверх - визуальное воспоминание (ВВ);
     - налево-вверх - визуальное воспоминание (ВВ);
     - налево-вбок - аудиальные воспоминания (АВ);
     - налево-вниз - аудиальные представления (АП);  диалог  с  самим
собой;
     - прямо вниз - кинестетические представления (КП);
     - направо-вниз - кинестетические представления (КП);
     - направо-вбок - аудиальное конструирование (АК);
     - прямо  вперед  -  визуальные  представления (ВП),  "навязанные"
извне или берущиеся из памяти.

     
                            r153.tif

     (Для облегчения ориентаций  удобно  применять  уже  упоминавшееся
свойство левой стороны,  которая "правдивее" правой.) При столкновении
с левшой, прослеживаемая картина как правило зеркально противоположна.
     Стратегия работы  с  информацией  при  поиске  ответа  на  вопрос
слагается из трех последовательных этапов:
     - поиска  информации  в  подсознательной  памяти  (используя т.н.
ВЕДУЩУЮ систему представлений);
     - предоставления  извлеченной информации сознанию (используя т.н.
РЕПРЕЗЕНТАТИВНУЮ систему представлений);
     - оценки  истинности  этой  информации  сознанием (используя т.н.
РЕФЕРЕНТНУЮ систему представлений).
     На каждом  из  этих  этапов  действует  своя модальность,  обычно
выявляемая по направлениям движения глаз,  учитывая, что в характерной
серии  из  трех  движений начальное обычно соответствует "выуживанию",
второе - представлению, а третье - оценке.
     Модальности этапов   прослеживаются   и   в  речи  человека  -  в
последовательности конкретных  предикатов  проскальзывающих  в  единой
фразе. К примеру: "когда мы согласованно настроимся (поиск аудиальный)
на эту  проблему,  то  ясно  увидим  (репрезентация  визуальная),  что
разрешить ее будет довольно тяжело (оценка кинестетическая)".
     Стратегия объекта иной раз меняется в  зависимости  от  ситуации;
она  отображается  в движениях глаз довольно быстро,  и потому,  чтобы
засечь ее нужна определенная подготовительная тренировка.
     Движения глаз    нередко    сочетаются    с    побочными   сугубо
индивидуальными реакциями, сообщающими о реальном отношении человека к
возникшим  перед ним ментальным образам (глаза пошли налево,  а зрачки
при этом сузились - неприятное аудиальное воспоминание о чем-либо...).



     Для получения максимума пользы  от  всякого  контакта  желательно
уметь:
     - определять   по   некоторым   внешним   признакам   ход   мысли
собеседника;
     - осознавать его эмоциональные состояния;
     - ориентироваться в правдивости его высказываний;
     - незаметно внедрять в его сознание и подсознание свои идеи.
     Чтобы хорошо  понимать  мыслительные,  эмоциональные  и оценочные
отклики партнера, необходимо провести его отчетливую "калибровку".
     Калибрование объекта   осуществляется  через  вплетение  в  ткань
беседы каких-либо ненастораживающих вопросов,  ответы  на  которые  Вы
несомненно   знаете   и   точное   улавливание  различных  несловесных
реагирований на них.  Большую помощь в детальной  калибровке  индивида
способна оказать фактура, подробно приводимая в разделе, затрагивающем
чтение мыслей и эмоций.
     Чтобы понять  свидетельства  "согласия  и  отрицания"  используют
простейшие  вопросы,  предписывающие  однозначные  ("да"  или   "нет")
ответы,  и выявляют некие различия в конкретном реагировании на них. В
конце концов Вам должен быть понятен ожидаемый ответ еще до  получения
его в словах.
     Для понимания   эмоциональных   реакций   человека    затрагивают
тщательно отобранные темы (или упоминание людей) приятные и неприятные
объекту.
     Для уяснения движений глаз партнера (а вдруг они не соответствуют
стандартной схеме...) задают легкие тестирующие вопросы, затрагивающие
поочередно то  визуальную  ("как  выглядит..."),  то  аудиальную ("как
звучит..."),  то  кинестетическую  ("как  ощущается"...)  системы  его
внутренних представлений.
     Чтобы понять,  когда  объект  сообщает   о   реалиях,   а   когда
придумывает информацию, используют различные вопросы, рассчитанные как
на явное воспоминание ("какая прическа у жены?"),  так и на применение
фантазии ("как выглядит ваш идеал?").
     Прислушиваясь к  речи  индивида   внимательно   отслеживают   все
проскальзывающие  там  модальные  предикаты  и  их  последовательность
(стратегию работы с информацией) в структуре проговариваемых при  этом
фраз.



     Осуществив калибровку  объекта,  Вы сможете постичь его глубинный
мир и Вам останется лишь заполнить его своими личными идеями.
     Слова высказываемые   человеку   оказывают   на   него   какое-то
воздействие только  благодаря  тем  ментальным  образам,  которые  они
способны породить в его сознании в текущий момент.
     Для получения требуемого эффекта  приходится  "подстраиваться"  к
индивиду,  что  осуществляется  путем  синхронизации,  а  проще говоря
отображением  его   жестикуляции   и   речи   в   активном   поведении
манипулятора.
     Манера подачи слов (оттенки голоса  и  интонация...)  значительно
важнее  их  общепринятого  смысла;  ритм  речи  должен  быть  ровным и
подгоняться к частоте дыхания собеседника.
     Для проведения   нужной   мысли  или  идеи  необходимо  захватить
внимание партнера,  живописуя с помощью его модальных слов все то, что
он  действительно  переживает  в сей момент.  Затем,  через переходные
слова  ("если",  "таким  образом",  "следовательно"...),   подсовывают
(используя исходную модальность) навязываемые представления, которые в
таких условиях покажутся ему "своими"  и  вполне  убедительными,  хотя
могут быть совсем неоднотипными с идущими вначале утверждениями.
     Классическая схема   исподвольного   внедрения   в   сознание   и
подсознание человека выглядит при этом так: подстроечные предложения -
переходное слово - фраза ведущая в намеченном направлении.
     Высказывания строятся   с   использованием  внутренней  стратегии
партнера (определяемой  по  выявленным  предварительно  движениям  его
глаз)   с   употреблением   тех   же   слов   и   в  той  же  фразовой
последовательности, как это делает он.
     В ходе  осуществления  воздействия  внимательно  следят за каждой
возникающей реакцией объекта на все произносимые слова, и корректируют
свой образ действий до тех пор, пока в сознании визави не сформируется
вполне устраивающий Вас отклик.







     Воздействовать на  ум  и  поведение  человека  можно   различными
путями,  одни  из  которых  требуют  лишь специфичной подготовленности
специалиста  (убеждение,  внушение,  подкуп...),  а  другие  -  еще  и
специальной   аппаратуры   (технотронные   приемы,   секс-мероприятия,
зомбирование...).
     Методы прицельного  влияния  могут  быть щадящими (внушение...) и
агрессивными (шантаж),  простенькими  (запугивание...)  и  изощренными
(зомбирование...),      трудно     уловимыми     (нейролингвистическое
программирование...) и дополняющими (фармакоуправление...).
     *Выбор применяемой методики зависит от*:
     - реальной  уязвимости  объекта  (черт  его  характера,  эпизодов
биографии, наличной ситуации...);
     - цели намечаемого воздействия (изменение мышления, привлечение к
сотрудничеству,    получение   информации,   одноразовое   содействие,
воспитующее наказание...);
     - собственных возможностей (обладание временем, умением, знанием,
техаппаратурой,      должными      химпрепаратами,       компетентными
помощниками...);
     - персональных  установок  исполнителя  (его   уровня   моральной
допустимости...).
     *В практике чаще всего используются*:
     - убеждение;
     - внушение;
     - гипноз;
     - нейролингвистическое программирование;
     - нарковоздействия;
     - секс-мероприятия;
     - фармакоуправление;
     - технотронные  приемы  (ультразвук,  инфразвук,   СВЧ-излучения,
электрошок,   подпороговая  стимуляция,  торсионные  излучения...);
     - зомбирование;
     - подкуп;
     - запугивание;
     - пытки...
     Некоторые из отмеченных методик были обрисованы в других разделах
(НЛП...), здесь мы разберем остальные.





     Убеждение подразумевает   "мягкое"   воздействие   на   индивида,
ставящее целью радикально скорректировать его взгляды, чтобы тем самым
повлиять  на  последующее  поведение.  Данный  вариант  является самым
этичным способом влияния,  ибо здесь нет грубого насилия или коварного
внедрения в подсознание объекта.
     *Метод убеждения задействуется для*:
     - долговременного  изменения представлений и установок человека в
требуемом направлении;
     - привлечения к сотрудничеству;
     - побуждения объекта к нужному поступку.
     По техническому  исполнению  убеждение  представляет собой явную,
иной  раз  и  скрытую  дискуссию,  дополняемую   неким   стимулирующим
воздействием.
     Каждый человек  имеет  свой  настрой  (точнее  -   установку)   в
отношении к чему-либо или кому-либо. Существуют три градации подобного
настроя:
     - явная симпатия (склонность к принятию чего-либо);
     - безразличие (с легким смещением в ту или иную сторону);
     - отрицание  (неприятие).
     Всякая попытка грубо навязать желаемое  мнение  приведет  лишь  к
отрицательному   результату,   ибо   человек   всегда   сопротивляется
ограничению свободы выбора.
     *Для изменения    отношения    индивида    к   чему-либо,   нужно
переориентировать его настрой. Следует учитывать, что*:
     - в поединке разума и установки чаще побеждает установка;
     - в ходе перемены установок человеку надо показать направленность
и содержание необходимых изменений;  все это должно быть им воспринято
и понято;
     - изменения   произойдут   тем   успешнее,   чем   созвучнее  они
потребностям и мотивациям объекта;
     - проще   всего   перестраиваются  установки,  которые  не  имеют
принципиального (жизненно важного) значения для человека;
     - в  случае  полностью  негативной  установки,  переориентация ее
обычно требует специальных  усложненных  методов  перепрограммирования
психики (т.е. "промывания мозгов"...) персоны.
     В зависимости  от  условий  ситуации  и  конкретных  особенностей
объекта,  его  *можно  попытаться  убедить* прямо (в ходе беседы) либо
косвенно (через инспирированные акции), *действуя при этом*:
     - акцентированно-логично;
     - императивно (категорично);
     - эксцитативно (растравливанием эмоций);
     - альтернативно (сведением проблемы к выбору "или-или").
     Всякое воздействие   содержит  в  себе  элементы  и  внушения,  и
убеждения, но в разных пропорциях.
     *Проще убеждать тех, кто имеет*:
     - яркое живое воображение;
     - ориентацию скорее на других, чем на себя;
     - несколько заниженную  самооценку  (робкие  и  слабо  доверяющие
своему собственному мнению субъекты).
     *Трудно поддаются убеждению лица с*:
     - явной   враждебностью   по   отношению  к  другим  (проявляемое
сопротивление,  кстати,  часто может возникать как  следствие  желания
доминировать над окружающими...);
     - сильным духом критицизма;
     - готовностью  к  переиначиванию  своих  взглядов  (проще говоря,
стремлением всегда иметь еще одну позицию про запас...).
     Перед проведением  активной  акции  следует  добротно подготовить
человека  рядом  подводящих  предварительных  бесед,   с   тем   чтобы
последующее акцентированное воздействие не явилось для него неприятной
неожиданностью.
     *При планировании эпизода убеждения надо*:
     - тщательно выбрать место, окружение и момент для контакта;
     - рассчитать,  как  приступить  к  беседе,  как  снять  начальное
напряжение, как вызвать некоторый интерес;
     - хорошо продумать, как направить разговор в желаемое русло;
     - отработать  всю  свою  аргументацию  сообразно  с  психологией,
мотивами и устремлениями объекта;
     - выбрать ритм беседы и порядок предъявления аргументов;
     - вычислить   возможные   контраргументы,   и  продумать  как  их
нейтрализовать;
     - наметить  запасные  варианты  продолжения беседы,  если партнер
решительно заявит "нет!";
     - четко представлять себе как завершить беседу.



     - место,   где   осуществляют  убеждение  по  возможности  должно
способствовать благодушному  настроению  человека,  ибо  это  улучшает
восприимчивость  к  сопутствующему  влиянию;  так,  если  в  "рабочей"
комнате есть картины,  ублажающие взор объекта,  звучит нравящаяся ему
музыка, а на столе любимый напиток - он будет более сговорчив;
     - присутствие каких-то посторонних лиц обычно нежелательно,  хотя
иной   раз   отдельные  персоны  (некие  авторитеты,  заинтересованные
близкие...)  прямо  либо  косвенно  могут   участвовать   в   процессе
убеждения;
     - время проведения основной беседы следует сообразовывать с такой
ситуацией,   при   которой  некие  потребности  и  настроения  объекта
сближаются с подбрасываемыми ему  идеями  (разочарование  в  чем-либо,
затруднения  в карьере,  разные события,  которые можно трактовать как
вероятную  угрозу  с  определенной  стороны...)  либо  когда  он   уже
подготовлен предварительными собеседованиями.



     *При вхождении в разговор необходимо избегать*:
     - извинений и других проявлений неуверенности;
     - скучного начала;
     - проявления малейшего неуважения к собеседнику;
     - непосредственного приступа сразу к делу.
     *Для снятия напряженности и обретения доверия полезно*:
     - иметь  приятный для визави внешний вид (одежду,  головной убор,
прическу...) и выражение лица;
     - обращаться  к  собеседнику  по  имени,  наклоняясь  в разговоре
несколько к нему;
     - сказать  пару  комплиментов  об  отменном  вкусе,  репутации  и
деловых способностях объекта;
     - высказать какую-либо шутку (анекдот),  заставляющую собеседника
искренно рассмеяться.
     *Для усиления интереса к беседе можно*:
     - задавать    ненастораживающие    вопросы     (профессиональные,
житейские,  хоббийные),  на  которые  субъект  с удовольствием захочет
отвечать;
     - разговаривать  с  позиций  интересов  собеседника или коснуться
темы явно связанной с его проблемами...



     - привлекая  ассоциации,  перебросить   мостик   между   началом,
затравкой и проталкиваемой идеей;
     - описать какое-то житейское наблюдение,  уличную оценку  или  же
анекдотичный  случай,  как  бы  между  прочим  увязав  это  с желаемым
предметом;
     - упомянуть  несколько  важных  для партнера вопросов,  кои через
должное смещение акцентов соотносятся с намеченной тематикой.

(4). Выбор аргументации сообразно с личностью и настроениями объекта:

     - проводимая идея всегда обязана находить свой путь не  только  к
разуму, но и к эмоциям объекта;
     - материал для проведения аргументации подбирается в  зависимости
от  типа  (образное  -  логическое) вкупе с качеством (гибкое, косное,
конформное, самостоятельное...) мышления собеседника;
     - имеет  смысл  применять  лишь  те  аргументы,  каковые  в  виду
личностных  настроев,  образа   мышления,   интеллекта   и   имеющейся
информации данный человек способен воспринять;
     - в  ходе  убеждения  желательно  использовать  как   абстрактные
выводы, так и зримую конкретную фактуру, на которой легче убеждать лиц
не владеющих абстрактным мышлением;
     - с   конформистами  проходят  ссылки  на  авторитеты,  красочные
выспренные фразы и упор на чувство общности с другими;
     - при  самостоятельности  мышления  человека в ход пускают логику
обоснования с намеком на возможность личной выгоды как морального, так
и материального плана;
     - при заметной косности мышления перспективно разжигание эмоций с
опиранием на эмпирику.

 (5). Установление ритма разговора и порядка предъявления аргументов

     - нужно твердо верить в истинность того,  в чем Вы хотите убедить
других,  ибо люди подсознательно  улавливают  отношение  говорящего  к
сообщаемому, а всяческая фальшь отталкивает;
     - ритм речи должен быть  довольно  ровным  и  подстраиваться  под
частоту дыхания собеседника;
     - для начала обеспечьте одинаковое понимание ведущих  терминов  и
выражений Вами и объектом;
     - не  давайте  отвлекать  себя  от  намеченной  тематики   и   не
отвлекайтесь от нее сами;
     - в  ходе  приведения  аргументации  первым   делом   говорят   о
преимуществах, и только после - о недостатках;
     - эффективен  "квантовый"  посыл  сообщения,  при  котором  после
выдачи  очередного  факта или аргумента делается небольшая пауза,  для
осознания и закрепления услышанного;
     - каждый   последующий   аргумент   должен   быть   весомее,  чем
предыдущий;
     - для  лучшего восприятия новых идей надо подавать их так,  чтобы
они ассоциировались с уже усвоенными;
     - никогда   не   ограничивайтесь   лишь   простым   перечислением
аргументов,  а старайтесь раскрывать  их  логический  и  эмоциональный
смысл сточки зрения собеседника;
     - приводите тот же самый аргумент  несколько  раз,  но  при  этом
повторяйте его новыми словами;
     - всегда имейте пару аргументов про запас  для  употребления  при
заметных колебаниях в позиции объекта;
     - тщательно отслеживайте  все  словесные  и  несловесные  реакции
партнера,   и   основываясь   на  них  корректируйте  свою  дальнейшую
аргументацию;
     - вычислите  по  реакции  объекта  те моменты,  где разыгрывается
"борьба его мотивов" и сосредоточьте на них все свое воздействие,  раз
за   разом   подавая  те  аргументы,  каковые  произвели  на  партнера
максимальное впечатление.



     - заранее   предположите   все   возможные   резоны   визави   и,
ориентируясь на них, подготовьте собственные контраргументы;
     - аргументацию объекта лучше разбивать перед высказыванием  своих
посылов, причем следует анализировать как реальность самих фактов, так
и те выводы, которые на них основываются;
     *Доводы партнера можно нейтрализовать*:
     - логикой опровержения;
     - игнорированием;
     - высмеиванием;
     - кажущимся принятием с последующим неожиданным развенчиванием;
     - изменением акцентов (выставляя  их  слабые  места  и  предельно
снижая сильные);
     - хитроумным превращением их в свои собственные;
     - подавлением логики эмоциями;
     - впечатляющей  дискредитацией  их  автора  (но  не  собеседника,
естественно!);
     - ссылкой на авторитеты (иной раз вымышленные)...



     - никогда не отступайте до тех пор, пока визави не скажет четкого
решительного "нет!";
     - осознав,  что  собеседник  принял  окончательное  решение,   не
пытайтесь   его   переубедить,   а  искусно  перебросьте  разговор  на
нейтральную и по возможности приятную для него тематику.



     - уяснив,  что визави воспринял проводимую идею,  не  затягивайте
дальше контакт,  а,  конспектно обозначив основные положения, дружески
распрощайтесь с ним;
     - постарайтесь,  чтобы  у  партнера не возникло ощущение,  что он
вроде бы насильно подчинился чужой воле;
     - при  возможной  неудаче  в убеждении следует не сразу завершать
беседу,  но умело переправить ее в увлекательное для объекта русло,  а
затем  при  расставании еще раз,  но ненавязчиво помянуть свои главные
аргументы и без явного давления предложить обдумать их на досуге.
     Дополнительные рекомендации  относительно  беседы-убеждения можно
отыскать в разделе, посвященном технике общения.



     Под внушением подразумевается передача  информации  с  внедрением
заключенных  в ней идей без какой-либо критической оценки и логической
переработки  предлагаемого.  О  том,  что  сработало  внушение,  а  не
осознанный  выбор  говорит  сугубо  эмоциональная  реакция на малейшую
попытку обсуждения "заветной истины",  причем  все  противоречащее  ей
отвергается   с   порога,  и  чем  убедительнее  доводы,  тем  сильнее
возмущение.
     *Методы внушения используют*:
     - для блокировки нежелательного поведения или мышления  человека;
     - для склонения индивида к требуемому действию;
     - для быстрого распространения полезной информации и  необходимых
слухов.
     *Хорошо подвержены внушению те, кто*:
     - проявляют   себя   слабой   личностью  (робкие,  стеснительные,
пугливые...);
     - некритично воспринимают других (простодушные, доверчивые...);
     - склонны зависеть от других (ищут  себе  хозяина,  исключительно
услужливые...).
     *Трудно поддаются внушению те, кто*:
     - обладают деловой активностью (энергичные и инициативные...);
     - являются   сильной   личностью   (а   также    самолюбивые    и
высокомерные...);
     - противопоставляют себя другим (замкнутые и угрюмые...);
     - исключительно  активно  проявляют свои чувства (эксцентричные и
откровенные...);
     - не  зависят  от  других,  а  наоборот,  имеют  кого-то  в своей
зависимости...
     *Проведению внушения способствуют*:
     - полное отсутствие  или  чрезвычайная  противоречивость  текущей
информации;
     - очень авторитетный (как живой,  так и печатный...) и  при  этом
"свой" источник;
     - внутреннее ощущение зависимости;
     - сильное психофизическое истощение и переутомление объекта;
     - некая психологическая напряженность (гнев, экстаз, страх, поиск
выхода из сложной ситуации...);
     - явная желательность или приятность внушаемого;
     - жесткая категоричность заявлений и требований;
     - шоковая неожиданность сообщения;
     - повторяемость подсовываемой информации;
     - абсолютная логичность и особая эмоциональность сообщаемого;
     - некоторые   болезни   и   особенности   личности   (психопатия,
импотенция,    слабость     логического     мышления,     суеверность,
наркомания...).
     *Проведению внушения иной  раз  мешают  специфические  внутренние
барьеры, таковые, как*:
     - критически-логический (отвергание всего,  что кажется логически
необоснованным);
     - интуитивно-аффективный  (отметание  всего,  что   не   вызывает
подсознательного доверия или уверенности);
     - этический      (неприятие      того,      что      противоречит
нравственно-этическим воззрениям личности).
     Преодоление барьеров подразумевает лишь умелое подстраивание  под
них.
     Так, для  воздействия  на  лиц  со  слабым  интеллектом,   нужное
внушение лучше сочетать с усиленными отрицательными эмоциями,  а ежели
данное лицо вполне интеллектуально  или  же  заведомо  внушаемо  -  то
использовать положительные эмоции.
     В случае когда объект  подавлен  или  слишком  неуверен  в  себе,
должное   внушение   выполняют  эмоциональным  повелительным  тоном  с
привлечением мимики и  жестов,  оформляющих  неоднократно  повторяемые
резкие, короткие, как бы "вколачиваемые" фразы.
     Если объект  излишне  возбужден  и  значительно  обеспокоен,   то
внушают  успокаивающим  тоном,  с применением неоднократно повторяемых
мягких, убаюкивающих, длинных фраз.
     Главное - не вызвать ни малейшей настороженности,  но очаровать и
словно бы заворожить персону.
     Когда визави избыточно тщеславен,  то имеет смысл "атаковать" его
любовью,   безудержно   расхваливая    и    высказывая    комплименты,
способствующие   представлению   объекта   о   своей   значительности;
параллельно с этим удается косвенно внушать нужные идеи.
     Так как   эффективное   внушение   обусловливается  подсознанием,
перспективной  является  попытка  разбудить   фантазию   (к   примеру,
эротическую...) у человека,  каковой при этом погружается в себя,  так
что грани между подсознанием и сознанием стираются. Психика в подобном
случае  становится  податливой  ко  всяким  изменениям  и к восприятию
любого знания.  О вхождении в такое состояние говорит  расслабленность
лица со всецело отрешенным и остановившимся взглядом.
     Оптимальную методику      искусного      внушения      предлагает
нейролингвистическое    программирование   (НЛП),   техника   которого
рассмотрена в части 3.
     В некоторых   ситуациях   применяют   незаметное  для  окружающих
подпороговое   внушение,   каковое   осуществляется   тихим   шепотом,
невоспринимаемым сознанием объекта.
     Превосходным каналом передачи нужного внушения  служат  тщательно
отобранные  слухи,  представление  о которых можно получить в разделе,
повествующем о получении информации.  Здесь  работает  тот  факт,  что
подслушанные или вскользь уловленные идеи часто действуют сильнее тех,
что навязываются впрямую.



     Под гипнозом подразумевают состояние специфического  сна  или  же
зауженного осознания с совершенным отключением критического восприятия
и повышенной чувствительностью к внешнему внушению.
     *Техника гипноза может быть использована*:
     - для получения информации (гипнодопрос);
     - при секретной пересылке сообщений;
     - для забрасывания дезинформации;
     - с  целью программирования на желаемое поведение (эпизодно или в
методах зомбирования).
     *Хорошо гипнотизируются*:
     - лица художественного типа;
     - социально адаптированные общительные личности;
     - очень тревожные и значительно потеющие люди;
     - все хронические алкоголики и наркоманы;
     - те,  кто болен энурезом (ночным недержанием мочи) или  страдает
астмой.
     *Трудно загипнотизировать*:
     - лиц мыслительного типа;
     - психастеников,   зацикленных   на   всяческих    сомнениях    и
перетасовывании своих переживаний.
     *Различают три стадии гипноза*:
     - легкую (сонливость):  объект может с легкостью и тотчас же, как
пожелает оборвать сеанс;
     - среднюю  (гипотаксия):  полная  расслабленность  при сохранении
уверенности в том,  что есть возможность побороть  сонливость,  правда
делать этого совсем не хочется;
     - глубокую  (сомнабулизм):  человек  не  реагирует  ни  на  какие
раздражения,  и поддерживает речевой контакт (раппорт) только со своим
ведущим;  в данном состоянии кодируют на действие  (сроком  до  одного
года), а подчас расщепляют личность на несколько отдельных "Я", каждое
из коих  в  состоянии  жить  своей  особой  жизнью,  не  подозревая  о
существовании  других:  все переживания в этой фазе четко амнезируются
(как бы забываются).
     Для введения  объекта  в  гипнотический транс требуется создавать
условия благоприятствующие  последнему  и  ориентируясь  на  ситуацию,
применять  подходящие  приемы,  тщательно  отслеживая внешние признаки
вхождения в трансовое состояние.
     *Хорошо содействуют,  а  порой  и  сами по себе вводят человека в
транс*:
     - сильная усталость и сонливость;
     - пасмурная и дождливая погода;
     - полусумрак вечера и тишина;
     - поза удобная для сна или же,  наоборот,  предельно неудобная  и
непривычная позиция;
     - ритмичные раскачивания и вращательные  движения  всего  тела  и
головы;
     - полное отсутствие реальных раздражителей (сенсорный голод) либо
монотонные   ритмичные  воздействия  физической  природы  (зрительные,
тактильные и слуховые);
     - ритмичная "шаманская" или "космическая" музыка;
     - резкий и сверхмощный раздражитель (удар гонга,  вспышка  света,
неожиданная пощечина, выкрик-приказ...);
     - интенсивный  эмоциональный  подъем,   в   том   числе   половое
возбуждение;
     - состояние страха и ярости;
     - пережимание сонных артерий и надавливание на глазные яблоки или
прочие фрагменты тела (ухо, локоть, лоб, запястье...);
     - небольшая   выпивка   или   прием  за  полчаса  до  намеченного
мероприятия барбамила (0,2-0,3 г),  веронала (0,5 г),  ноксирона (0,25
г), пирамидона (0,1 г) или 4-5 капель хлороформа...
     Для углубления гипнотического состояния нужно очень тихим голосом
внушать    красочные    образные    представления    покоя,   мышечной
расслабленности и полного отключения от окружающих с восприятием  лишь
слов внушения.
     *О том, что человек вошел в гипнотический транс сообщают*:
     - ровное спокойное дыхание и расслабленное лицо;
     - вид как у спящего и отсутствие реакций на окружающих;
     - полное  отсутствие  дрожания  век  (дрожь  говорит о неглубоком
погружении,  а их исчезновение -  о  глубоком,  вплоть  до  вероятного
впадания в обычный сон).
     Чтобы уяснить  в  гипнозе  ли  объект  или   притворяется,   надо
предложить ему вести себя вполне нормально,  зная,  что при измененном
состоянии сознания это невозможно убедительно проделать.
     Проще всего вызвать гипнотический транс у нормально спящего,  ибо
у  последнего  отсутствует  какая-либо  воля  к   сопротивлению.   Это
осуществляют  в  фазах  специфического "быстрого сна",  первая из коих
наступает через 45-90 минут после засыпания. Данных фаз в течении ночи
отмечают   несколько,   и   перед   началом   их  индивид  каждый  раз
поворачивается  в  постели.  Увеличивает  количество  и   длительность
подобных   фаз  применение  снотворного-барбитурата  (барбитал-натрия,
барбамила,  нембутала...) в ночь  предшествующую  "рабочей",  а  также
выпивка   за   день-другой  до  акции.  Все  воспринимаемое  во  время
контролируемого сна внешне не осознается, а внутренне не забывается.
     *Чтобы перевести обычный сон объекта в гипнотический, следует*:
     - где-то через полчаса после  того  как  человек  заснет  или  за
час-два  перед  пробуждением  тихо  разместиться  возле  изголовья его
постели;
     - посидев   немного,   сделать   медленные   пассы  руками  вдоль
поверхности его тела,  в направлении от головы к ногам и на расстоянии
полутора-двух сантиметров от кожи;
     - две,  а то и три минуты тихим шепотом и  в  ритме  его  сонного
дыхания изрекать: "Спите глуб-же, спи-те глуб-же";
     - постепенно начать то замедлять, то ускорять ритм слов; если при
этом ритм дыхания спящего сходным образом изменится, то значит контакт
с ним установлен;
     - увеличивая  постепенно  громкость  речи  и  настраиваясь на тон
внушения,  заявить:  "Вы крепко спите... Вы отлично слышите мой голос,
но  Вы  продолжаете уютно спать...  Засыпайте еще глубже...  Теперь вы
хотите отвечать на все вопросы,  оставаясь спящим...  Как ваше  имя...
Отвечайте  продолжая  спать,  как вас зовут..." (все начальные вопросы
должны быть просты и не вызывать ни малейшей тревоги);  если объект не
просыпаясь отвечает на вопрос,  то раппорт (т.е.  словесный контакт) с
ним установлен;
     - теперь можно приступать и к конкретному внушению,  повторяемому
нечетное (5 или 7) число раз  с  краткими  (не  более  5  секунд),  но
обязательными интервалами между повторами;
     - выполнить 5 или 7 подобных  серий,  заполняя  промежутки  между
ними  формулами,  обеспечивающими  сохранение  необходимого состояния:
"Спите глубже... еще глубже...".
     Все внушения  в  гипнозе  делают  негромким  голосом,  с  помощью
коротких, повторяемых по несколько раз, фраз с незначительными паузами
между ними.  Ключевые слова подают в тот момент,  когда человек делает
очередной вдох. Весь сеанс обычно длится не более 15-20 минут.
     Чтобы индивид впоследствии не вспомнил о происшедшем, ему следует
внушить,  что перед пробуждением он увидит яркий сон,  но  как  только
сновидение появится, он незамедлительно проснется; сон при этом хорошо
ему запомнится, а все что было до того - забудется.
     *Частные методики решения специальных задач с применением гипноза
таковы*:
     *(1). Гипнодопрос*.  Человека  вводят  тем  или  иным  способом в
гипнотический транс и,  установив  раппорт,  настраивают  отвечать  на
задаваемые вопросы,  причем первые из них должны быть самые простые (о
погоде,  имени,  профессии...),  чтобы  не   возбудить   даже   легкой
настороженности.   Профессиональному   солдату  или  служащему  хорошо
внушить,  что  перед  ним  его  начальник,  ждущий  самого  подробного
доклада.  Иногда используют методику свободных ассоциаций, при которой
произносят ключевое слово и  желают,  чтобы  визави  сообщил  то,  что
придет   ему   на   ум.   Следует  воздерживаться  от  вопросов,  явно
настраивающих на конкретные ответы,  ибо под гипнозом индивид способен
выдать   вымышленную   информацию  даже  при  легком  непреднамеренном
давлении со стороны допрашивающего.
     *(2). Пересылка    тайной    информации*.   Человека   вводят   в
гипнотический транс и сообщают некоторую информацию,  развивая амнезию
на   представленное.   После   этого  он  окажется  способен  передать
услышанное только будучи опять же погружен в гипноз и в этом состоянии
уловит  установленное  в основном сеансе кодовое слово (или фразу) как
пароль, вскрывающий его память.
     *(3). Сотворение  дезинформации*.  Загипнотизированному  субъекту
тщательно внушают,  что он якобы участвовал в  какой-то  акции,  видел
некое событие, слышал закулисную беседу, добыл ту или иную информацию.
Выйдя из кодируемого состояния человек  верит,  что  рассказанное  ему
было на самом деле и с уверенностью сообщает это другим.
     *(4). Программирование на нужное поведение*.  Данный трюк  обычно
удается только при глубокой стадии гипноза.  После погружения в транс,
объект применением определенных слов и представлений трансформируют  в
желаемую   личность,  как  бы  имитирующую  известный  из  литературы,
кинофильма,  либо реальной жизни персонаж.  Такую акцию осуществляют с
помощью специально установленных кодовых фраз,  причем новых личностей
здесь   может   быть   несколько   (многоуровневое    программирование
применяемое при зомбировании...) Сходным образом возможно закодировать
объект на конкретное деяние,  каковое он обязан будет совершить,  если
услышит  кодовое  слово  или же возникнет некоторая ситуация.  Следует
учитывать,   что   "лобовое"   поствнушение,    явно    противоречащее
нравственному  принципу  объекта чаще всего не реализуется,  а поэтому
приходится использовать причудливые обходные  (скажем,  имитацию  игры
или обман...) маневры.  Автоматика срабатывания по конкретному сигналу
сохраняет силу в продолжении примерно одного года.



     Наркотиками почитают вещества, рождающие в малых дозах эйфорию, а
в  больших - оцепенение и глубокий сон с полным отключением сознания и
болевой чувствительности.
     Такие вещества  бывают как природными (опий,  анаша,  белена...),
так  и  синтезированными  (амфетамины,  "мулька",  "экстази",  "винт",
ЛСД...).
     Ввиду специфики  воздействия  все  нарковещества  используются  в
широком спектре, в частности для:
     - получения  информации   (наркодопрос,   вызов   болтливости   в
беседе...);
     - кодирования объекта на требуемое поведение;
     - ломания воли человека со всевозможными целями (техника "сажания
на игру"...);
     - шокирующих  изменений  в  поведении  человека с расчетом на его
дискредитацию;
     - разлаживания психики объекта в процессе "промывания мозгов" или
зомбирования;
     - нейтрализации   возможного   сопротивления   персоны   при   ее
похищении.
     *Рассмотрим упомянутые варианты немного подробнее*.



     В технике  профессионального  допроса  наркотики  используют  для
создания в сознании индивида определенной "сумеречной зоны".  Наркотик
обеспечивает  растормаживание  конкретных сдерживающих центров мозга и
человек не может ясно рассуждать и что-либо придумывать, хотя память о
прошлом у него обычно сохраняется.
     Если воздействие наркотика было не очень сильным и у  объекта  не
исчезло  сознание,  чтобы  понять  то  чем у него спрашивают,  то он в
состоянии скрыть правду. Сложность поэтому лежит в подборе оптимальной
рабочей   дозы  препарата,  которая  должна  исключить  способность  к
сознательному  сопротивлению  (возможного  при  скудной  дозе),  и  не
допустить,  чтобы  объект  "нес околесицу" (при слишком большой дозе).
Ввод нарковещества обычно прекращают  тогда,  когда  веки  у  человека
начинают дрожать, а речь становится нечеткой.
     Сопротивляемость наркотику довольна субъективна и,  в  частности,
зависит от физического состояния,  психического типа, имеющегося опыта
и других сугубо индивидуальных факторов.  Иной раз человек выкладывает
информацию  лишь  после  получения третьей - четвертой порции любой из
"сывороток правды".
     Конкретные вопросы  обычно  формулируют  предельно  кратко (чтобы
допрашиваемый не забыл их начало при изложении  конца  (и  еще  в  них
должна  отсутствовать  внушаемость).  Последнее  особенно  относится к
невротикам, которые чрезвычайно склонны к фантазиям.
     Освободившись от влияния наркотика допрошенный,  как правило,  не
помнит о содержании выданной им информации и не имеет представления  о
продолжительности сеанса.
     *В технике наркодопроса используют следующие приемы*:
     - подмешивание  в  питье  настоя  беладонны  (бешеной  вишни  или
красавки) с целью уловить скрываемое в сонном бреду;
     - замедленное  внутривенное  введение  небольшой  (0,5-1 мл 0,05%
раствора) дозы скополомина; излишне быстрое введение препарата или его
большие   дозы   считаются   опасными   для   жизни   (резкое  падение
артериального давления,  ослабление сердечной деятельности,  остановка
дыхания...). Эффект обычно проявляется в чувствах парения и уменьшения
веса;  субъект не контролирует себя, становится избыточно общительным,
предельно  благодушным  и очень откровенным,  выбалтывая то,  что он в
обычном состоянии скрывает;
     - введение   в   вену   2-8   мл  10%  раствора  тиопентал-натрия
(пентотала) с мизерной (1 мл за 1 минуту) скоростью;  при  этом  через
10-15 минут "свет явственно тускнеет, предметы уменьшаются в размерах,
скрываемые мысли выскакивают на поверхность,  сметая помыслы о  всякой
осторожности и необходимости владеть собой, хотя потребности в общении
обычно нет".  При малой дозе надо использовать период засыпания, а при
большой - период пробуждения;
     - замедленное введение в вену 0,5-8 мл 10% раствора амитал-натрия
(барбамила),   воздействие   которого  проявляется  в  снижении  общей
активности и замедлении речи;  при  этом  ощущается  головокружение  и
сухость   во  рту,  а  окружающие  предметы  теряют  очертания.  Затем
возникает эйфория (хоть изредка возможна  и  депрессия)  с  повышенной
общительностью   и   дружелюбием   в   сопровождении   многословия   с
исчезновением сдержанности, что длится от 10 минут до 1 часа, сменяясь
оглушением  и  сном  на время от нескольких минут до нескольких часов.
Для продления нужной эйфории,  наркотик вводят с максимально малой (за
4-20 минут) скоростью, а передозировку устраняют уколом кофеина;
     - замедленное (за 3-5 минут) внутривенное  введение  2-8  мл  10%
раствора амитал-натрия (барбамила), а после погружения в наркотический
сон,   введение   мощной   дозы   психостимулятора    (амфетамина...).
Форсированное  пробуждение спящего дает ему прилив энергии и страстное
желание говорить;  звуки и все образы вокруг становятся яркими и очень
рельефными,  пульс и дыхание учащаются, все мысли проясняются, хочется
кричать  от  осознания  своей  силы.  Поскольку  человека  перед  этим
связывают,  вся  мощь  двигательной энергетики активно сублимируется в
неудержимые словесные потоки.
     Химпрепараты подавляющие  волю  можно обнаружить в крови не далее
чем через несколько часов после укола,  а след иглы обычно виден  пару
дней,  хотя  имеются  иглы  (к примеру,  инсулиновые),  не оставляющие
никаких следов.
     Всегда надо  учитывать,  что  многие  наркотики сильнее действуют
весной и летом, а также на рассвете, утром или в бурю.
     Если воздействию    наркотика    принудительно   подвергли   Вас,
желательно  определить  его  ведущий   тип,   фиксируя   внимание   на
доминирующее   ощущение   (блаженство,  безразличие  и  разные  нюансы
восприятия),  значительных изменениях в величине и четкости предметов,
а также в насыщенности освещения...).
     *Для преодоления   прессинга   от   "сывороток   правды"    можно
попробовать*:
     - сосредоточить  внимание  на  определенной  реальности  (тиканье
часов,  пятно  от влаги на стене...) и осознав по этому фиксированному
эталону,   что   реалистичность   мышления    ухудшается,    предельно
сконцентрироваться  на необходимости преодолеть накатывающее состояние
и очень четко мыслить;
     - зациклиться  на  воспоминаниях  о  неких  эмоциональных,  но не
существенных  с  позиций  безопасности   вещах   (таких,   как   секс,
переживания вины,  зависти, злобы...), отстраняясь подобным образом от
нежелательной опасной исповеди;
     - сосредоточиться  на  воспоминаниях  чего-либо  (или  кого-либо)
особо дорогого;
     - пробовать  запутать  мысленный  процесс,  высказывая  всяческие
несуразности...



     В реализации подобной цели  используется  свойство  наркотических
веществ  заметно растормаживать психику,  что часто вызывает эйфорию с
повышенной общительностью и дружелюбием при исчезании  настороженности
и сдержанности.
     Для этого можно:
     - предложить  человеку  сигарету,  в  которой  к табаку подмешано
немного (около горошины) сушеных листьев и верхушек конопли;
     - добавить  в  алкоголь  0,05  г  барбамила  (поскольку  барбамил
блокирует переработку алкоголя,  избыток его дозы  способен  оказаться
жизненно опасным для организма...).



     Химпрепараты и  техника  введения  в  транс здесь те же,  что и в
случае наркодопроса, а схема выполнения внушения - как при гипнозе.
     Внушение делается резким и энергичным императивным тоном в период
засыпания (когда  используемая  доза  препарата  мала)  или  во  время
пробуждения (если доза велика).
     Известный недостаток наркопрограммирования заключается в том, что
оно  менее  стойко,  чем  гипнотическое,  а  удобство  - что его можно
применять против желания объекта.
     В работе  с наркоманом,  конкретное внушение осуществляется перед
уходом его в обычный наркотический сон (опий...) или на фоне спонтанно
возникающих, а затем направляемых галлюцинаций (гашиш...).



     Подобная задача  реализуется использованием исключительно тяжелых
физиологических реакций организма на резкое лишение его  ставшего  уже
привычным наркотического препарата. Такое состояние, обычно называемое
абстиненцией или "ломкой",  немедленно устраняется, если субъект снова
употребит  желаемый  продукт.  Сия  неодолимая  физическая  тяга  дает
возможность направлять и контролировать поступки наркомана.
     На продолжительность   и  интенсивность  абстиненции  влияют  тип
употребляемого наркотика,  длительность приема,  дозы,  индивидуальные
особенности личности.
     Кроме физической,   нередко   говорят   и    о    психологической
зависимости,  где  желание  наркотика  не связано с тяжелыми телесными
реакциями, а потому иной раз преодолимо.
     Самая мучительная  ломка  бывает  при употреблении героина,  чуть
слабее - от морфия и пантолмона при их введении в  вену,  еще  слабее,
когда морфином колят в мышцу или под кожу,  затем идут инъекции других
морфеподобных синтетических веществ,  таких как  промедол  и  омнопон.
Заметно   легче  переносится  лишение  опия,  амфетаминов,  "экстази",
"крэка", гашиша и кокаина.
     Привычка к   героину  и  "китайскому  белку"  (триметилфантанилу)
обычно наступает после реализации 3-4 инъекций,  а к  морфию  -  после
10-12 уколов при постепенно увеличивающейся дозе.
     Ломка как  правило  накатывает  через  2-3  часа  после  инъекции
героина,  через  5-6 часов после последнего укола морфия и через 10-12
часов после использования опия.
     *"Сажание на иглу" обычно происходит*:
     - добровольно        (любопытство,        ритуал,         попытка
самоусовершенствования...);
     - насильственно (после намеренного похищения...);
     - путем обмана (подменой медицинских препаратов...).
     Для наркомана  характерен  постепенный  переход  от   потребления
"слаболомающих" веществ к все более опасным (героин, опий, "винт"...).



     Наркотики способны  быстро  отключить  сознание человека на точно
прогнозируемое время и потому весьма удобны в процессе похищения.
     Возможны  следующие  варианты  действий:
     - налив на  тряпочку-перчатку  немного  фторотана  (классического
средства  для  операционного  наркоза...)  перекрывают  ею  рот  и нос
объекта,  сознание которого  полностью  отключается  в  пределах  5-20
минут;
     - объект  грубо  оглушают   ударом,   скажем,   по   голове   или
пережиманием  сонных  артерий,  а  после  усыпляют инъекцией барбамила
(5-10 мл 10%  раствора в мышцу или вену) на 6-8 часов;  при этом время
сна несложно регулировать подбором соответствующего препарата;
     - персону на несколько секунд обездвиживают и  вкалывают  в  этот
момент  смесь  нейролептика  тиоридазина  (сонапакса) со спиртом,  что
вызывает у нее мгновенное обессиливание,  падение  давления,  учащение
пульса,   расширение   зрачков,   т.е.   пассивное  состояние,  внешне
напоминающее глубокий шок.



     Поскольку половое  влечение  (либидо)   является   очень   мощным
мотиватором  людского  поведения,  было  бы глупо не использовать этот
инстинкт.
     *Интимные мероприятия обычно применяют для*:
     - получения информации;
     - контроля за объектом;
     - подсовывания персоне своего агента  (врача,  интим-партнера...)
при проведении сложной комбинации;
     - завязывания тесных  отношений  с  человеком  ("разыгрывая  роль
специалиста по наслаждениям"...);
     - побочного воздействия на  поведение  и  мысли  индивида  (через
котируемого секс-партнера);
     - получения компромата на человека;
     - ломания   психики   объекта   (посредством  вызова  импотенции,
заражения болезнью...).
     *Считается, что сила либидо сугубо индивидуальна, но*:
     - мужчины наиболее сексуально озабочены в возрасте 23-35  лет,  а
женщины - в 35-45 лет;
     - чем жарче климат места,  где родился человек,  тем ярче у  него
проявляется половой инстинкт;
     - брюнеты более чувственны, чем блондины;
     - у низкорослых людей влечение сильнее чем у высоких;
     - худые люди обладают большим влечением, чем полные;
     - люди  ведущие  сидячий  образ  жизни  и  домоседы заметно более
подвластны половым инстинктам,  чем находящиеся в непрерывном движении
или на свежем воздухе;
     - у половины алкоголиков отсутствует половое влечение, а треть из
них - импотенты.
     *Хорошо стимулируют инстинкты пола*:
     - диета  (сельдерей,  жареный лук,  желтки яиц,  крабы,  устрицы,
сушеные фрукты, грибы, клубни ятрышника...);
     - запахи (корицы, можжевельника, мяты, сандала, имбиря, гвоздики,
чабреца...):
     - определенное   поведение   (излишне   частые  сношения,  резкое
прекращение активной половой жизни...).
     Сильно возбуждает   половое   влечение  желание  освободиться  от
мощного давления стресса,  естественного или  запрограммированного,  к
примеру:
     - неожиданное спасение от близкой смерти;
     - уход   от  угрозы  финансового  разорения  или  других  крупных
неприятностей;
     - удачное завершение сложного мероприятия...
     *Для полового     возбуждения     можно     использовать*     как
фармакологические (подмешивание  препаратов в питье и пищу...),  так и
народные (сглаз...) средства, в частности:
     - специальную пептицидную сыворотку крови (аэрозоль и порошок);
     - лекарство имизин (он растворим в воде и спирте...);
     - йохимбин (в различных сочетаниях);
     - метилтестостерон (для женщин);
     - наркотик "экстази";
     - спирт в смеси с кокаином;
     - мускус;
     - кору гранатового дерева и ягоды мирты;
     - льняное семя с  перцем...
     Женщины для  привлечения  партнеров  могут   использовать   такие
простенькие трюки, как:
     - натирание тела и одежды смесью вербены, зори и руты;
     - смазывание секретом своих интимных желез волос и кожи за ушами;
     - специальную технику дыхания с эквивалентным подключением  обеих
ноздрей...
     Эти приемы,  впрочем,  не срабатывают,  если  объект  повышенного
интереса страдает насморком.
     *Уменьшить половое влечение способны*:
     - про-бантин (противоязвенный препарат);
     - варапамил (сердечный препарат);
     - метилдофа, верошпирон (лекарства от гипертонии);
     - трихопол (лекарство от трихомонадоза);
     - ацетат ципротерона;
     - настойка ковыля...
     *Классические схемы отдельных секс-мероприятий таковы*:



     - использование  естественного,  либо  инспирированного  удобного
момента (разрыв с прежним партнером,  беременность жены, командировка,
отдых в одиночестве,  удачная презентация...) для подведения к объекту
опытного и соответствующего его вкусам агента нужного пола, задействуя
при этом факторы стимулирующие половое влечение;
     - любые  способы  знакомства,   отобранные   в   соответствии   с
рекомендациями   раздела   "о   завязывании   контакта",   дополненные
приведенными здесь приемами усиления половых эмоций...



     - вызов  сильной   вспышки   сексуального   желания   посредством
применения    ситуационного    (освобождение    от   стресса...)   или
фармакологического   (химпрепараты...)   трюка,   с   участием   лица,
согласного отдаться в обмен на нужную фактуру;
     - подключение  объекту  превосходно   ориентирующейся   в   сексе
партнерши,  с  перспективой долговременного интимного общения,  в ходе
которого как бы между прочим выуживается желаемая информация;
     - выслеживание  любовницы  объекта  и вербовка ее,  либо оснастка
комнаты свиданий подслушивающей и видео аппаратурой;
     - шантаж секс-компроматом...



     - выявление   посредством   наблюдения  либо  опроса  старательно
скрываемых сексувлечений объекта,  с последующей фиксацией  фрагментов
их взаимоотношений на фотопленку либо на видео- и аудиокассеты;
     - подключение к объекту своего агента, с запечатлением их половых
контактов в оснащенной различной спецаппаратурой комнате;
     - подсовывание  объекту  сексуального  партнера  и  "официальное"
(взаправду либо ложно) "взятие его с поличным";
     - подкладывание под объект девицы,  которая затем заявит,  что он
ее изнасиловал...
     - разыгрывание эпизода группового  изнасилования  с  присутствием
при этом разрабатываемой персоны.
     Более сложные  варианты  могу  включать   в   себя:   "признание"
любовницы в двойной игре,  вызов у человека импотенции,  подстраивание
всевозможных  ситуаций  с  целью  создания  компромата,  использование
полового возбуждения для кодирования подсознания...
     Не надо  забывать,  что  щекотливая  фактура  способна  оказаться
компроматом лишь в некоторых, но вполне определенных ситуациях.



     Современная наука   предложила  много  специфичных  способов  для
управления поведением,  мыслями  и  чувствами  человека.  При  этом  в
частности используют:
     - нижепороговое аудиовизуальное раздражение;
     - электрошок;
     - ультразвук;
     - инфразвук;
     - сверхвысокочастотное (СВЧ) излучение;
     - торсионное излучение;
     - ударные волны...
     Рассмотрим эти воздействия немного подробнее:



     В данном  случае  используется  свойство  различных  очень слабых
(т.е.  нижепороговых)  раздражителей  практически  не   восприниматься
сознанием,  но глубоко внедряться в подсознание.  Поскольку критика со
стороны сознания тут полностью отсутствует, подобные воздействия могут
совершенно  незаметно  ориентировать  мышление  и поведение человека в
конкретном направлении. Особенно подвержены таким внушениям сердечники
и потенциальные сердечники.
     Удобнее всего внедряться удается через  аудиальный  (слуховой)  и
визуальный (зрительный) каналы.
     АУДИОСТИМУЛЯЦИЯ. При перезаписи какой-либо приятной  для  объекта
мелодии  на  музыку  посредством  микшера  накладывается  неоднократно
повторяемый словесный текст рабочего внушения в  стандартной  технике,
но с замедлением в десять-пятнадцать раз.  Транслируемые таким образом
слова воспринимаются как  глухой  вой  и  после  наложения  становятся
совершенно незаметными.
     ВИДЕОСТИМУЛЯЦИЯ. В запись видеофильма вклинивают  очень  короткие
(0,04  секунды)  врезки картинок внушаемого текста или образа,  упорно
повторяемые через каждые 5 секунд. Техника изготовления спецкассеты по
существу  не  очень сложна и представляет из себя обычную перезапись с
одного видеомагнитофона на другой, прерываемую посредством простенькой
радиосхемы  каждые  5  секунд  на 1/25 секунды с подсоединением в этот
момент  к  пишущему  устройству  монитора,  дающего  картинку  нужного
внушения.  Слабым  моментом здесь является возможность случайного (при
остановке  записи)  обнаружения  спецкадра  тем,   кто   просматривает
подобный  фильм,  а также некоторое замедление психофизических реакций
подопытного человека.



     Действие электрошока  на  живые  организмы  подробно  изучено,  и
техника электрошока активно применяется для:
     - разрушения памяти в ходе зомбирования;
     - вызова боли в процессе пытки или допроса;
     - надежного обездвиживания при похищении...
     Все приведенные  задачи  базируются  на использовании дозируемого
напряжения,  конкретного  периода  воздействия  и,  разумеется,  учете
состояния объекта.
     Ток меньший чем 10 мА воспринимается довольно слабо или вообще не
ощущается.  Ток около 20 мА обычно нарушает дыхание,  а в 70 мА сильно
его затрудняет. Ток в 100 мА возбуждает фибриляцию волокон сердца, что
может  привести  к  возможной  смерти,  а  ток  более  200  мА надежно
обеспечивает сильный ожог и останавливает дыхание.
     Наружное сопротивление кожи колеблется от 1 кОм (влажная...) до 5
кОм (сухая...),  сопротивление внутрителесных тканей - от 100  до  500
Ом.  Ток напряжения выше 240 Вольт пробивает кожу,  причем энергия в 3
Джоуля останавливает сердце.
     Импульсы прямоугольной   формы   с   отвесным   фронтом  способны
обеспечить раздражение при явно (в 3-5  раз)  меньшей  амплитуде,  чем
импульсы  с  пологим  (треугольные,  трапецивидные...)  фронтом,  хотя
случаются  исключения.  Необычайно  тягостную  боль  обычно   вызывают
импульсы, имеющие частоту 5 Гц и подаваемые в кисть руки.
     При разрушении  нейронов  памяти  используют  пропускание   через
голову   очень  болезненных  электроимпульсов  величиной  в  150  В  и
мощностью в десятки раз больше, чем при обычной судорожной терапии.
     Для обездвиживания  человека  используется  напряжение  более  50
тысяч вольт при чрезвычайно  низком  (доли  миллиампер)  токе  и  всей
энергии   электроимпульса   примерно   в   0,3   джоуля.   Разряды  на
поверхностных участках кожи приводят  к  резким  сокращениям  мышечной
ткани,  причем чем длительнее будет временной контакт,  тем на большее
число   волокон   воздействует   электроток.   Чтобы   лишить   объект
подвижности,  электроимпульсы необходимо подавать примерно 5 секунд. В
реальной практике можно использовать как выпускаемые промышленно,  так
и    изготовленные    кустарно    (см.    рис.    18   в   приложении)
электрошокеры-парализаторы,  добротно обездвиживающие человека на 5-10
минут.



     В этом   случае  используют  как  тепловые,  так  и  механические
воздействия упругих колебаний с частотами свыше 100  кГц.  Даже  малая
интенсивность  подобных концентрированных колебаний значительно влияет
на мыслительные структуры и нервную систему,  вызывая  головную  боль,
головокружение,  расстройства зрения и дыхания, конвульсии, а иногда и
отключение сознания.  Приборы для таких воздействий  несложно  сделать
самому.
     "Прокаливание" избранных участков  мозга  хорошо  сфокусированным
ультразвуком  иной раз применяется для невозвратного изъятия из памяти
каких-то  нежелательных  воспоминаний,  но  это   удается   лишь   при
эксплуатации   отлично  подготовленного  персонала  и  спецаппаратуры,
используемой в медицине.



     Довольно эффективно, в смысле влияния на человека, задействование
механического  резонанса  упругих  колебаний  с  частотами ниже 16 Гц,
обычно  невоспринимаемыми  на  слух.  Самым  опасным  здесь  считается
промежуток от 6 до 9 Гц.
     Значительные психотронные эффекты сильнее всего  выказываются  на
частоте 7 Гц,  созвучной альфаритму природных колебаний мозга,  причем
любая умственная работа в этом случае делается невозможной,  поскольку
кажется, что голова вот-вот разорвется на мелкие кусочки.
     Звук малой интенсивности вызывает тошноту и звон в ушах,  а также
ухудшение  зрения  и  безотчетный  страх.  Звук  средней интенсивности
расстраивает  органы  пищеварения  и  мозг,  рождая   паралич,   общую
слабость,   а   иногда  слепоту.  Упругий  мощный  инфразвук  способен
повредить,  и даже  полностью  остановить  сердце.  Обычно  неприятные
ощущения начинаются со 120 дБ напряженности, травмирующие - со 130 дБ.
     Инфрачастоты около 12 Гц при силе в 85-110 дБ,  наводят  приступы
морской  болезни  и головокружение,  а колебания частотой 15-18 Гц при
той же интенсивности внушают чувства  беспокойства,  неуверенности  и,
наконец, панического страха.

      (5). Сверхвысокочастотное (СВЧ) неионизированное излучение

     Это электромагнитное   микроволновое  излучение  воздействует  на
биотоки,  имеющие частоту от 1 до 35 Гц.  В итоге возникают  нарушения
восприятия реальности,  подъем и снижение тонуса, усталость, тошнота и
головная боль;  возможны полная  стерилизация  инстиктивной  сферы,  а
также повреждения сердца,  мозга и ЦНС.  Волны, активно модулируемые в
частотах альфа-ритма мозга,  способны вызвать необратимые "заскоки"  в
поведении.
     СВЧ излучения внедряют информацию прямо в  мозг,  и  в  их  полях
заметно   ускоряется  любая  психообработка  подсознания.  В  качестве
антенных передатчиков  таких  волн  вполне  используемы  телефонные  и
радиолинейные   проводки,  трубы  канализации  и  отопления,  а  также
телевизор,   телефон   и   противопожарная   сигнализация...   Рабочую
аппаратуру,  по существу,  реально изготовить в кустарных лабораторных
условиях.
     Направленное облучение СВЧ обычно проявляется в подергивании ног,
жжении в подошвах,  боли в ушах,  рези в глазах,  щелчках в  "гудящей"
голове, ударах в носоглотку в сопровождении кашля, чихания и насморка,
в возможной аритмии сердца и онемении рук.  Подобные  симптомы  обычно
исчезают после ухода человека из зоны излучения.



     Этот особый  вид физического излучения не экранируется природными
средами  и  потому  используя  его  можно   легко   разжечь   какое-то
заболевание,  снять нежелательное возбуждение,  понизить или увеличить
психофизическую активность,  усугубить различные желания,  подсунуть в
подсознание объекту необходимую программу...
     Специальная аппаратура  прикладного  применения   засекречена   и
требует кроме того участия умело подготовленного оператора. Задействуя
"подпольную" науку,  всегда есть крупный шанс нарваться  на  обманщика
или шизофреничного фаната.



     Под термином    "зомбирование"    подразумевается   форсированная
обработка  подсознания   человека,   благодаря   которой   он   теряет
направляющий   контакт   со   своим   прошлым   и  программируется  на
безоговорочное,  притом  неосознаваемое  подчинение  приказам   своего
хозяина.  Известны "жесткое" и "мягкое" психопрограммирование,  причем
"жесткого" зомби нередко удается определить по "экстерьеру"  и  манере
поведения  (отрешенность  на  лице,  не  соответствующая  выражаемым в
словах эмоциям, необычность цвета белков глаз, вялые интонации голоса,
неправильная    речь,    отсутствие    способности    сосредоточиться,
замедленность реакций  и  провалы  в  памяти,  нелепая  стереотипность
поведения...),   тогда   как  "мягкий"  зомби  по  существу  ничем  не
отличается от всех других людей.
     Профессиональное зомбирование  по  "мягкой" категории чрезвычайно
сложно  и  требует  досконального  изучения  психофизиологии  объекта,
использования   специальной  медицинской  и  компьютерной  аппаратуры,
задействования кодировщиков-гипнотизеров, виртуозно владеющих техникой
многоступенчатого гипноза.
     Для ориентирующего    ознакомления    с    типичными     приемами
зомбирования, представим пару простеньких, но отработанных на практике
методик "жесткого" психического перепрограммирования человека.



     - персону  изымают  из  ее  прежней  среды,  контакты  с  которой
полностью прерываются;
     - режим дня должен целиком противоречить ее прежним привычкам;
     - активно  провоцируется  недоверие ко всем,  кто жертву окружает
(ее нагло обманывают, на нее подло доносят, ей злобно угрожают...);
     - осуществляются  непрерываемые  акции дискредитации (подтасовка,
высмеивание...) всего, чем человек дорожит;
     - диета преимущественно углеводная и безбелковая, с подмешиванием
отупляющих   сознание   препаратов   (аминазин...)   и    обязательным
недосыпанием;
     - по  достижении   состояния   тупого   безразличия,   проводится
необходимое кодирование приемами активного внушения или гипноза.



     Этот вариант слагается из трех последовательных ступеней,  таких,
как:
     - промывание  мозгов  (очистка памяти от некогда ею воспринятого,
ломание временно-пространственных ориентиров, создание безразличия и к
прошлому, и к будущему...);
     - словесное  кодирование  (активное  воздействие  на  психику,  в
которую внедряют определенные идеи и представления...);
     - закрепление (контроль усвоенности внедренного...).
     *Техника реализации этих фаз обычно такова*:
     - используя гипноз и сильные снотворные (к  примеру,  барбамил  с
подмешенным  к нему аминазином...) объект погружают в длительный (дней
на 15) сон,  причем два раза в  сутки  его  шокируют  электротоком  (в
манере  судорожной  терапии  при  амплитуде  импульсов  до 150 вольт),
который пропускают через голову;
     - в  течение 10-15 дней круглые сутки через наушники прокручивают
запись необходимого внушения,  а в завершение каждого сеанса для более
рельефного   воспринимания  внедряемого,  объект  подвергают  действию
электрошока, но электроды здесь подведены к ногам;
     - объекта пичкают наркотиками и нейролептиками,  подавляющими его
волю (аминазин...);  на этом фоне  проводят  многочасовые  беседы,  во
время которых проверяется, насколько хорошо усвоено внушенное.



     Это -  взаимовыгодный  обмен,  где  за  реальное  содействие либо
согласие сотрудничать объект получает определенное вознаграждение.
     *Подкуп чаще всего используется для*:
     - привлечения к сотрудничеству;
     - получения информации;
     - склонения  к  одномоментному   действию   (или   к   служебному
бездействию);
     - создания компромата (техника провокации...).
     Подкуп нередко  сочетают  с  шантажом (подслащивание пилюли...) и
убеждением (дружеская поддержка...).
     Зондируя объект  на  успешность  подкупа просматривают его досье,
выискивая *все моменты, свидетельствующие о готовности взять взятку*:
     - конкретные   черты   характера   (завистливость,   беспечность,
импульсивность, жадность, внушаемость...);
     - рискованность;
     - намеки и слухи;
     - имеющиеся прецеденты в прошлом;
     - выказываемые притязания и реальные возможности;
     - значимых  лиц  в  окружении  (жена,  дети,  любовница...)  и их
предполагаемые нужды;
     - наличествующие бытовые и материальные условия;
     - сегодняшнюю ситуацию  (карьерные  и  материальные  затруднения,
внезапная необходимость в чем-либо...);
     - хобби и мании.
     *В качестве вознаграждения при подкупе обычно выступают*:
     - значительные  материальные  ценности  и  недвижимость  (валюта,
деньги,  антиквариат, произведения искусства, автомобили, электроника,
жилье, земельный участок, дело и фирма...);
     - содействие  объекту и его близким (выгодное трудоустройство или
рабочий  контракт,  устройство  в  престижный  вуз,  продажа  дорогого
предмета   по  очень  низкой  цене,  обеспечение  визой,  значительное
продвижение по службе...);
     - различные  потребности  (коллекционные  или хоббийные предметы,
наркотики, престижные знакомства, желаемая информация...).
     *Основываясь на фактуре досье, можно*:
     - вызвать (или поймать) момент острой потребности объекта  и  его
близких в деньгах (проигрыш в азартной игре, требование старого долга,
внезапная возможность приобрести нечто весьма  желанное,  исчезновение
или порча взятой на время ценной вещи...);
     - предложить,  ограничивая  срок,  какую-то  весьма  интересующую
объект (или его любимых...) вещь;  при этом предлагающий и подкупающий
могут как будто бы не знать друг друга, или же выступать в одном лице;
     - растравливая  шаг за шагом аппетиты объекта,  его приваживают к
деньгам (учитывая,  что привычку легче создать,  чем  поломать...),  а
после требуют за новые "инъекции" определенные услуги;
     - оттачивая  зависть  объекта  и  его  близких  к  преуспевающему
коллеге   либо   соседу,   подсовывают   ему   шанс  достичь  высокого
материального либо престижного уровня последних;
     - прося объект о мелочной услуге,  благодарят его в той форме,  к
которой затруднительно придраться и  отказаться  (подарок  для  детей,
билеты  на концерт,  бутылка хорошего вина...);  это ломает внутренний
барьер и облегчает возможность последующего подкупа.
     При подкупе  карьерой,  наградой,  контрактом  или пристраиванием
куда-либо проходит блефовый  вариант,  когда  от  побочного  источника
заранее  узнают  о  намечаемом событии,  но подают его как пробиваемое
вознаграждение за ожидаемую услугу.
     Готовность "взять на лапу" определяют по глазам и реагированию на
скользящие намеки, а также по словам доверенных посредников.
     Процесс передачи  взятки  (впрямую из рук в руки,  через курьера,
подсовыванием  в  стол  или  в  карман,   посредством   третьих   лиц,
официальным переводом по контракту за невыполненную работу...) зависит
от реальной ситуации и  места  действия  (на  юбилее,  на  работе,  на
отдыхе...)  и  должен  быть  неоскорбителен  (хотя  не  всегда...) для
получателя.
     При этом  следует не исключать и непредвиденного поворота событий
(внезапное нападение,  формальное задержание,  грубый обман...) и быть
всегда готовым к самым неприятным неожиданностям.
     Факт передачи взятки желательно надежно зафиксировать (распиской,
помеченными   вещами,   свидетелями,   аудио-  или  видеозаписями...),
организуя компромат для применения его в дальнейшем.



     Под шантажом  подразумевается  популярный  метод  воздействия,  в
процессе которого субъекта ставят перед выбором:  либо он выполнит все
требования  шантажирующего,  либо  порочащая  его   информация   будет
представлена определенным лицам.
     *Подготовление и осуществление шантажа требуют  реализации  таких
мероприятий, как*:
     - поиск сфер реальной уязвимости объекта;
     - выбор конкретного предмета шантажа;
     - установление тех людей,  которым по суждению объекта  предельно
нежелательно знать очерняющие его данные;
     - подбор и оформление компромата, наличествующего либо специально
создаваемого;
     - определение тактики и стиля шантажа,  включая форму  и  порядок
предъявления компромата;
     - планирование и проведение эпизодов по подрыву воли объекта;
     - выбор удобного момента и места осуществления центральной акции;
     - продумывание поведения при разных (в том  числе  маловероятных)
реакциях  объекта  и  прочих  затруднениях,  возможных в ходе основной
попытки.
     Рассмотрим эти аспекты немного подробнее.



     Все, чем   объект  дорожит  и  что  опасается  внезапно  потерять
(карьера,  положение в  обществе,  любовь  какой-то  женщины,  счастье
детей,  свой бизнес,  поддержка и уважение конкретных лиц,  физическая
безопасность,  включая  безопасность   привязанностей,   имущественное
обеспечение...)   составляет   сферу   его  личной  уязвимости.  Чтобы
определить их надобно:
     - просматривая  персональное досье,  отметить основные мотивации,
привычки,  устремления,  желания  и  привязанности  объекта,  а  также
оценить  его  психические,  моральные  и  волевые  качества  (слабости
характера,  сообразительность,  непредсказуемость,   умение   хитрить,
упрямство, импульсивность, самолюбие...);
     - обдумать сложившуюся ситуацию,  прикидывая,  как  она  способна
усилить  уязвимость объекта (к примеру,  ожидая продвижения по службе,
субъект становится более чувствителен к любому компромату,  чем  в  те
периоды, когда такая перспектива по существу отсутствует...).



     Досконально оценив   имеющуюся   информацию  и  свои  собственные
возможности в приобретении (или фабрикации) необходимых фактов,  можно
выйти на тему намечаемого шантажа, с использованием:
     - порочащих материалов,  способных помешать карьере  или  бизнесу
объекта (скрываемые  факты  биографии,  утаиваемые ошибки и упущения в
работе,  хищение служебной  информации,  различные  злоупотребления  и
преступления, сомнительные связи, моральная нечистоплотность...);
     - компрометирующих  данных,  могущих   испортить   отношения   со
значимыми  лицами  (их  очернение или же предательство,  потеря личной
репутации, "грехи" близких людей...);
     - скандальных   фактов,  явно  способных  загубить  личную  жизнь
(порочащие интимные связи, шокирующие поступки...);
     - очерняющих   материалов  на  близких  для  объекта  лиц  (некую
женщину,  близких друзей,  родных,  детей...) могущих изгадить им  всю
жизнь;
     - реальных  или  сфабрикованных  компрометирующих  данных  сугубо
уголовного характера.
     Удар по одной  зоне  чувствительности  обычно  переносится  и  на
другие зоны.  К примеру, компрометация на работе способна привести и к
ухудшению отношений со значимыми лицами (в виду потери репутации), и к
краху в личной жизни (из-за утраты социального статуса).


               зрения  объекта  предельно нежелательно
                      знать чернящие его данные.

     Объект может  совсем не волноваться,  если порочащие его сведения
узнает постороннее лицо, но в то же время он готов будет пойти на все,
только бы об этих фактах не узнал другой, вполне определенный человек.
     Готовясь к шантажу,  необходимо четко  уяснить,  кому  по  мнению
объекта  знать  данный компромат предельно нежелательно (начальству на
работе,  партнеру в бизнесе,  значимым лицам, скандальным журналистам,
жене,  друзьям  и  недругам,  потенциальным врагам,  органам налоговой
полиции,  внутренних дел и  службы  безопасности...)  и  акцентировать
возможность передачи материала именно в те руки.


               включая разработку и  проведение акций,
                       дискредитирующих объект

     *Факты нацеленные на компрометацию объекта бывают*:
     - полученными в ходе разработки человека;
     - предполагаемыми, но никем не подтвержденными;
     - частично  или  же  всецело  сфабрикованными,  но   в   общем-то
правдоподобными;
     - умело инспирированными (т.е. подстроенными).
     *Задействование каждой    из   этих   групп   имеет   собственные
особенности*:
     - полученные  факты должны быть по возможности задокументированны
(аудио-  и  видеозаписи,  схемы  и  фотографии,  копии  важных  бумаг,
свидетельства  определенных  лиц...),  чтобы  не  вызывать  ни  у кого
оправданных сомнений;
     - предполагаемые  факты  выводятся на основании побочных данных и
применяются чаще всего как дополнительные;
     - искусно   сфабрикованные  факты  изготовляют  выхватыванием  из
контекста  действительных  высказываний  и   поступков   индивида   со
специфичной их интерпретацией,  смещающей акцент в нужную вам сторону;
добавленные сюда вымышленные факты  в  свете  предшествующих  истинных
кажутся очень реальными (добавленные факты могут быть и подлинными, но
извлекаемыми из другого  времени  и  ситуаций;  довольно  перспективен
такой вариант  когда  фон  обеспечивают вымышленные факты,  а реальные
оказываются при этом компроматом;
     - умело  инспирированные факты являют оптимальный вид компромата,
если в прошлом и в настоящем данного человека не видно явных "зацепок"
или  нет  времени  (либо  возможностей)  на  скрупулезную проверку его
жизни.  Тип  инспирированного   факта   зависит   от   психофизических
особенностей   объекта,   его   привычек,   обстановки,   возможностей
манипулятора и намечаемого направления  компрометации,  учитывая,  что
"пугающее"  одного  может  совсем  не волновать другого.  Некоторые из
инспирированных фактов удобны в качестве удерживающих  и  дополняющих,
причем  все  созданные  ситуации  должны  быть  четко  зафиксированы и
задокументированы.
     *Простейшими подстроенными   ситуациями  могут  служить,  скажем,
такие*:
     - втягивание   объекта  в  дела  какой-то  совершенно  безобидной
неформальной  организации   (кружка,   клуба...),   которая   внезапно
оказывается враждебной обществу или конкретной группе;
     - просьба к объекту о незначительной услуге  (зайти  куда-либо  и
передать  что-либо...),  которая посредством изменения акцентов уже не
будет выглядеть так безобидно;
     - подбрасывание   объекту   (в   квартиру,   офис,   портфель...)
каких-либо    компрометирующих    вещей    (наркотики,    дискета    с
конфиденциальной информацией, орудие убийства...), о чем сообщается на
пике шантажа,  так что избавиться от них уж просто нет возможности;
     - изъятие   у   человека   различными  путями  (кража,  обман...)
неразглашаемых рабочих документов,  исчезновение каковых  чревато  для
него  большими  неприятностями  (с них при этом может быть снята копия
или они будут возвращены при шантаже...);
     - подсовывание   объекту   сексуального  партнера  с  последующей
фиксацией интимного общения или угрозой обвинения в изнасиловании;
     - инсценировка     уголовной    ситуации    (аварии,    убийства,
изнасиловании,  грабежа,  торговли   наркотой,   поджога,   кражи...),
активное участие в которой внешне правдоподобно приписывается объекту;
     - фальсификация  различных  документов  о  якобы  имевшем   место
предательстве объекта...



     При шантаже   обычны   методы   "горячего"  (под  своим  именем),
"холодного" (под чужим именем) и "бесконтактного" (всецело анонимного)
подходов.
     *Чтобы "прижать объект к стене" необходимо*:
     - продемонстрировать     серьезность     и    документированность
компромата;
     - уверить   человека   в  твердой  решимости  задействовать  этот
компромат, если объект будет артачиться;
     - убедительно доказать ему, что этому сообщению поверят;
     - доступно    описать     реальные     последствия     поспешного
неосмотрительного отказа;
     - сообщить объекту, как он мог бы попытаться защититься, и почему
это бессмысленно (т.е. "убить надежду");
     - предельно ограничить вариативность его выбора;
     - давить фактором времени;
     - подстраховаться дополнительным свежим компроматом.
     Тактика манипулирования    материалами    определяется   природой
фигурируемых   фактов,   их   задокументированностью,   характером   и
опытностью  шантажируемого,  а  также  особенностями  ситуации.
     *Факты обычно предъявляют*:
     - внезапно (ошарашивая объект);
     - поочередно (по степени нарастания их силы).
     От тактики  подачи  материала  иной раз зависит успех всей акции.
Так как,  если "волевой" объект перенесет внезапность нападения, то он
в  дальнейшем  будет  слабо реагировать на остальные,  а если подавать
наличную  фактуру  по  мере  нарастания   серьезности,   то   вероятно
адаптирование  к  ней,  и  самый  сильный  факт уже не окажет должного
эмоционального воздействия.
     При предъявлении  каких-то документов лучше всего демонстрировать
их копии,  чтобы субъект внезапно не изъял (с уничтожением) оригиналы,
даже если опасность этого кажется предельно незначительной.
     При отсутствии реальных документов возможно  блефовать,  сообщая,
что  они  наличествуют  (хотя  если объект уверен,  что их нет,  такие
заявления лишь  усилят  вероятное  сопротивление...),  либо  конкретно
указать  их  местонахождение,  произнеся  с  усмешкой,  что  он  может
попробовать изъять сей компромат (это довольно эффективно, ибо рождает
впечатление,   что   шантажирующий   уверен  в  своих  силах).  Всегда
остерегайтесь блефовать, если на этом могут изловить.
     При использовании предполагаемых фактов манипулировать необходимо
предельно  осторожно,  реально  ограничиваясь  намеками  и  шуткам   с
внимательным  отслеживанием  реакций  объекта.  Довольно  перспективно
"раскачивание" человека намеками на некий очень вероятный,  но  совсем
не явный факт;  к решительному прессингу при этом переходят лишь после
появления соответствующей  реакции  объекта.  В  предъявляемом  наборе
щекотливых  материалов,  предполагаемое  надо  размещать  между вполне
надежным.
     Активно оперируя   умело  сфабрикованными  фактами,  можно  и  не
скрывать,  что это - фабрикация,  а иной раз  утверждать,  что  это  -
истинная  правда.  Важно  продемонстрировать взаимосвязь поддельного и
пошлинного  и  указать  на   невозможность   обоснованного   отрицания
"фактуры",  а также на то,  что все воспримут материал именно так, как
полагает шантажирующий.
     При "атаке"  инспирированными  фактами  полезно  в  пике  шантажа
сообщить объекту об подсунутом ему каком-то компромате,  заметив,  что
сие  лишь  один  мелкий  эпизод  из  серии подобных.  Объект может без
промедления  оценить  правдивость  сообщенного  либо   впрямую,   либо
позвонив по телефону.
     При выраженных колебаниях индивида иной раз  не  мешает  показать
ему  свою решимость афиширования компромата путем звонка по телефону в
"опасное" для  шантажируемого  место  либо  вкладывания  документов  в
конверт,  на  котором  пишется  конкретный  нежелательный для человека
адрес,  с угрозой опустить его в почтовый ящик  или  вручить  курьеру.
Возможен, впрочем, здесь и блеф с пустым, уже заклеенным конвертом.
     Обоснование того,    что    порочащей     информации     поверят,
осуществляется  лишь  в  случае,  если она не очень надежна или объект
слишком самоуверен.  Здесь поначалу  объясняют  ввиду  чего  сообщению
поверят,  а  после  уж,  для  большей  убедительности,  высказывают  и
возможные сомнения, включая то, как все они опровергаются.
     Описание неприятностей,   полученных  от  разглашения  компромата
имеет смысл лишь в том случае, если у объекта ограниченное воображение
и  ясно,  что  он  просто  не  способен  самостоятельно оценить угрозу
шантажа.  Чаще всего,  однако,  запросто хватает намека, учитывая, что
воображение активно дорисует остальное.
     В контакте с целью шантажа следует  внимательно  отслеживать  все
проявляющиеся  в  лице,  движениях,  голосе  и фразах человека реакции
надежды  и,  уловив  их,  тут  же  нейтрализовать  последние   заранее
подобранной аргументацией.  Можно опередить объект,  обрисовав ему как
бы   препятствующие   шантажу   мероприятия,   после    чего    вполне
аргументировано провернуть их.
     Получив согласие  объекта  на  сотрудничество,  надо  тотчас   же
задокументировать   этот   факт   (видео-   и  аудиозапись,  расписка,
фотография...) и (в частности, при сфабрикованной фактуре) попробовать
разжиться  у  него  добавочной  компрометацией  на  самого  себя  либо
авторитетных лиц в качестве свидетельства искренности согласия.


                     по подавлению воли человека.

     Чтобы намеченный   объект  стал  несколько  покладистее,  полезна
предварительная подготовка,  ориентированная на подавление  его  воли.
При этом применяются такие трюки, как:
     - грубое терроризирование человека телефонными звонками (и  днем,
и   ночью),   частыми   анонимками   и   непосредственным   физическим
воздействием;
     - распространение  ложных слухов о якобы имеющемся сотрудничестве
жертвы с конкурентами;
     - фабрикация   посланий  от  деловых  партнеров  и  соратников  с
угрозами расправиться за некое предательство;
     - фабрикация  посланий  от любимых лиц,  сообщающих о неожиданном
разрыве отношений;
     - инсценировка случаев, расцениваемых как зловещие приметы;
     - воздействие на слуховую, нервную и зрительную системы объекта с
помощью  деморализующих  сообщений (смерть или арест близких,  кража и
изнасилование  ребенка,   уход   любимой   жены,   крушение   реальных
надежд...),  психоделичной музыки, шокирующих изображений (фото жены в
интим-контакте с кем-либо...);
     - различные    мероприятия    представленные   в   подразделе   о
запугивании...
     Можно довольно   эффективно   подавлять   чужую  волю  с  помощью
стандартных медицинских  препаратов  (дурмана,  трифтазина,  василька,
корня ипекакуаны, йохимбина, гидрохлорида...). Такие вещества украдкой
добавляют в питье  и  пищу,  в  растворе  с  димексидом  внедряют  при
контактировании   с   кожей,  а  иногда  подсовывают  вместо  обычного
лекарства.

      (7). Выбор момента и места осуществления центральной акции

     Благоприятный момент для проведения шантажа обычно возникает при:
     - кратковременном  снижении  волевых  качеств  объекта  (в  итоге
подготавливающих    мероприятий,    биоритмичности    или     наличной
ситуации...);
     - предельной нежелательности компрометации для  человека  (период
продвижения в карьере, блаженство расслабления после успеха...).
     *Место осуществления  основного  эпизода*  обычно  выбирается   в
зависимости   от   обстоятельств,  но  в  соответствии  со  следующими
требованиями:
     - полное отсутствие лишних людей;
     - нюансы   обстановки   нисколько   не   должны    способствовать
психологической поддержке шантажируемого;
     - у исполнителя должна быть четкая  возможность  ускользнуть  при
атакующей реакции объекта или других возникших неожиданностей;
     - здесь не должно быть  никакой  потенциальной  неприятности  для
жизни  и  здоровья  шантажирующего (близость железнодорожного полотна,
место тусовки наркоманов...);
     Акция шантажа   на   ярком  фоне  тонизирующей  ритмично-маршевой
мелодии нередко  вызывает  усиление  волевого  сопротивления  объекта,
тогда как  фон  рок-музыки  рождает  агрессивные тенденции.  Напротив,
мероприятия при посещении дискотеки бывают очень эффективны, поскольку
громкое   звучание  и  цветомузыка  воздействуют  подобно  алкоголю  и
подавляют волю человека, лишая его должной собранности.
     *Работая в "холодном" варианте возможно*:
     - договориться  о  свидании  по  телефону,  действуя   от   имени
значимого лица;
     - "подъехать"  к  индивиду  на  улице  или  подсесть  к  нему   в
ресторане;
     - зайти к объекту напрямую домой;
     - разжигая   любопытство   человека,   позвать   его   на   некую
таинственную  встречу  письмом,   подписанным   каким-то   неизвестным
адресатом.
     При бесконтактных способах, как правило, используют односторонний
канал  факса  и  телефона,  включая  сотовую  и  космическую  вязь,  с
обеспечением  незасекания  своего  номера   ("анти-АОН"...)   либо   с
использованием  посторонней  абонентской линии без ведома ее реального
хозяина.  В  последнем  случае  проще  всего   приобрести   какой-либо
радиотелефон  и  выбрав бизнес-центр или "богатый дом",  расположиться
возле него и начинать менять рабочую частоту,  пока  она  не  совпадет
(ориентируясь по появлению гудка...) с параметрами одного из аппаратов
стоящих в  данном  здании  и  действующих  без  пароля.  Еще  надежнее
использовать   почти  не  засекаемого  "двойника"  зарегистрированного
кем-то сотового радиотелефона.


                     при  разных реакциях объекта
                        и вероятных сюрпризах

     Хотя предвидеть все практически невозможно,  полезно  рассмотреть
вероятные  реакции  объекта  на  шантаж,  ориентируясь  по  складу его
психики и некоторым прецедентам  в  прошлом.  Для  каждой  из  реакций
человека продумывается и соответствующее ответное поведение.
     *Всегда желательно предусмотреть*:
     - план ускользания с места событий;
     - правдоподобные объяснения на случай задержания;
     - копии вместо подлинников;
     - физическое превосходство над объектом.
     *При неудаче шантажа возможны*:
     - полная дискредитация объекта (создание прецедента...);
     - частичная дискредитация объекта, чтобы тот хорошо прочувствовал
серьезность собственного положения);
     - законсервирование  ситуации (с каналом связи для объекта на тот
случай, если он вдруг передумает).



     Запугивание -  это  драматизированная  угроза   физического   или
психологического   насилия  над  человеком  и  его  близкими  с  целью
подчинения объекта чужой воле.  В отличии от рафинированного  шантажа,
компроментирующая информация при этом не задействуется.
     Запугивание чаще всего используют для:
     - получения информации;
     - вербовки;
     - насильственного принуждения к какому-либо действию;
     - приструнивания    "зарвавшегося"     объекта...     Стандартным
мотиватором   людского   поведения  при  акциях  запугивания  является
реальное опасение за:
     - физическую безопасность (себя и своих близких);
     - сохранность своей собственности;
     - нормальное функционирование своего дела (бизнеса, хобби...).
     *Используя чужое чувство страха полезно знать, что*:
     - известны  несколько  градаций страха:  испуг (первая реакция на
угрозу),    тревога    (чувство    неопределенности    при    ожидании
неблагоприятного  развития  событий),  боязнь (реагирование на реально
видимую опасность), паника (неконтролируемый животный страх);
     - у  каждого субъекта существует предел психической выносливости,
по превышении которого он  не  способен  на  дальнейшее  сопротивление
эмоции страха, впадая в хаотическое поведение или какое-то оцепенение;
     - шок, возникающий от страха, обычно длится от 15 до 30 минут;
     - физиологическими   проявлениями   страха   являются:  усиленное
сердцебиение,  дрожь,  слабость, мышечная заторможенность, пересыхание
рта и горла,  потливость,  тошнота,  головокружение, нехватка воздуха,
урчание в  животе,  частые  позывы  к  мочеиспусканию,  непроизвольное
опорожнение желудка и мочевого пузыря...;
     - воздействуя на психику,  страх вызывает  нарушения  восприятия,
расстраивает  память  и мышление и не дает возможности сосредоточиться
на выполняемой работе;
     - самый   сильный   страх   обычно  возникает  при  явной  угрозе
собственной жизни и жизням наиболее близких человеку лиц;
     - когда субъект считает,  что есть какой-то выход из создавшегося
положения, но он не может им воспользоваться - тогда возникает паника;
     - страх перед неизвестным всегда более мучителен, чем страх перед
видимой и понятной опасностью;  когда люди не знают,  что их  ожидает,
обычно ожидают худшего;
     - разжиганию страха способствует как вынужденное бездействие, так
и утрата надежды и неизвестность;
     - страх перед  смертью  значительно  усиливается  в  процессе  ее
ожидания;
     - более склонны всего опасаться люди с  расторгнутыми  в  прошлом
браками,   а   также   рано   женившиеся  или  совершившие  какое-либо
правонарушение.
     *Используя запугивание, учтите, что*:
     - резкое требование,  допустимое по отношению к  сангвинику  либо
флегматику,   способно   вызвать   взрыв   негодования  у  холерика  и
угнетенность у меланхолика;
     - уставшие  физически  или  морально  люди значительно покорнее и
податливее, чем отдохнувшие и самоуверенные;
     - субъекты  с  сильным  типом  нервной  системы при переутомлении
ведут себя как люди со слабым психотипом;
     - внезапный  сдвиг  в  установившихся  взаимоотношениях  у лиц со
слабым типом нервной системы обычно  вызывает  психическую  травму,  а
проще говоря,  растерянность,  страх и отчаяние; при сильном психотипе
подобные реакции обычно менее проявлены;
     - цыгане,  а также европейцы с темными глазами и волосами заметно
менее подвержены  страху,  чем  малые  народы  севера  (чукчи...)  или
голубоглазые блондины;
     - чувство бессилия и страха несложно  вызвать  химическим  путем,
подмешивая,  например,  в  табак  сушеный  василек  либо  вводя  любым
способом в организм (вместе с питьем,  уколом  или  через  контакты  с
кожей...) смесь люминала с лофофорой или гидрохлорид йохимбина.





     - просматривается  досье  объекта с оценкой его вероятной реакции
на явную угрозу;
     - если   он   трусоват,  планируется  и  выполняется  ряд  акций,
направленных на сокрушение  его  воли  (психологическое  и  физическое
терроризирование...),  причем  без  предъявления  человеку  каких-либо
условий и объяснений;
     - при  основном  контакте  физического  избиения  нет,  но  четко
говорят,  что оно будет,  если объект не подчинится предъявленным  ему
требованиям.



     - просматривая  досье  объекта,  определяют то,  чем он предельно
дорожит (к примеру, это - автомобиль...);
     - высказывается вежливое деловое предложение;
     - в случае отказа, осуществляется предупреждающая акция (канистра
с горючим на крыше гаража...);
     - при повторном отказе,  проводится форсированное  предупреждение
(еще одна канистра с горючим, плюс коробок со спичками...);
     - если опять отказ - угроза тут же реализуется (гараж  с  машиной
сжигают...) и делается уже не предложение, а требование.



     - просматривая досье объекта, отыскивают там особенно близких ему
людей;
     - против  отобранных  персон  осуществляют  терроризирующие акции
ступенчато усиливаемой агрессивности;
     - объекта  сталкивают с альтернативой:  жизнь и здоровье любимого
лица или...;
     - если  "любимое  лицо" имеет явное влияние на объекта,  подобную
альтернативу можно представить и ему;
     - продумываются  меры,  мешающие человеку воспользоваться помощью
официальных или криминальных структур,  либо куда-то спрятать значимое
лицо  (возможно,  впрочем,  рассчитать  так,  что  за  содействием или
советом объект сам обратится к вам...);
     - страхуясь   от  дальнейших  неприятностей,  у  жертвы  получают
компромат на самого себя или других.



     - просматривая  досье  объекта,  определяют  лиц   (дети,   жена,
любовница...) или  имущество  (животное,  коллекция...),  которые  ему
особо  дороги,  и  тщательно  прикидывают,  имеет  ли  какой-то  смысл
активность против них;
     - осуществляется (либо имитируется) попытка  похищения  избранной
персоны (или вещи...);
     - объекту сообщают о похищении,  поставив  перед  ним  конкретную
альтернативу;
     - продумывают меры,  препятствующие человеку прибегнуть к  помощи
других;
     - берутся под контроль  контакты  (прослушивание  телефона...)  и
поведение (слежка...) объекта;
     - объекту  доставляют  письма,  а  также  аудио-  и   видеозаписи
похищенного,  с  душещипательной  мольбой  последнего о помощи и неким
подтверждением  (фото  со   свежей   газетой,   краткий   контакт   по
телефону...), что тот пока еще жив;
     - объекта очень конкретно убеждают (отрезанная  мочка  уха...)  в
серьезности своих намерений;
     - пытаются добиться от объекта компромата на самого себя или  его
близких и удостоверяются в реальности полученного;
     - задействуют    разнообразные    меры    предосторожности     от
неприятностей со стороны похищенного человека как свидетеля;
     - по получении желаемого,  похищенный  освобождается,  а  объекта
контролируют через представленный им компромат;
     - (возможен утонченный вариант,  когда "любимое лицо"  само  дает
себя  "похитить",  пытаясь  отвести  от  главного объекта реальную или
надуманную угрозу).
     *При предварительном   терроризировании   человека   чаще   всего
используют такие акции как*:
     - "пустые" либо угрожающие и оскорбляющие звонки по телефону;
     - размещение специфичных объявлений в газете или расклеивание  их
на улице с указанием там адреса и телефона;
     - запугивание делового партнера;
     - избиение как самого объекта, так и того, кого он любит;
     - разыгрывание попытки похищения, или покушения;
     - обстрел из огнестрельного оружия окон квартиры;
     - порча или подрыв дверей квартиры либо офиса;
     - вторжение с порчей имущества;
     - поджог или подрыв здания (коттеджа,  дачи, гаража, офиса...), а
также личного автомобиля;
     - блокирование    телефона,    водоснабжения,     отопления     и
электричества...
     В импровизированных   вариантах   используют   сильно    пугающие
действия,  реально  угрожающие  жизни  данного человека и его близких,
причем период на  обдумывание  здесь  резко  ограничивают.  Конкретика
задействованного трюка определяется возможностями и изобретательностью
исполнителя, к примеру:
     - засовывание ствола оружия в ухо;
     - нож поперек гортани с возможным надрезанием кожи;
     - окатывание бензином и демонстрация зажигалки...



     Пытка - это целенаправленное агрессивное воздействие на индивида,
направленное на причинение ему сильного физического  или  психического
страдания.
     Пытку чаще всего используют для:
     - получения информации,
     - чувствительного наказания,
     - ломания  воли  человека.
     Приемы пыточного  воздействия  как  правило  сообразуются  с  его
потенциальной   целью,   фактором  времени,  наличными  возможностями,
пределом допустимости  и,  разумеется,  исходным  состоянием  объекта,
учитывая,   что   повышенное   выделение   адреналина   (типичное  при
проявлениях боли) активно разрушает сердце.
     Если в запасе много времени, гуманнее и эффективнее задействовать
мало-помалу нагнетаемое давление на психику в  сопровождении  телесной
боли,   когда  же  времени  почти  что  нет  -  проще  воспользоваться
примитивным физическим насилием.
     *Об отношении человека к боли полезно знать, что*:
     - цыгане,  негры, китайцы и злостные профессиональные преступники
пониженно  воспринимают  боль,  а многие народы Севера (чукчи,  якуты,
эвенки...) и голубоглазые светловолосые европейцы - переносят ее очень
плохо;
     - субъекты склонные к общению устойчивее  к  боли,  чем  те,  кто
любит одиночество;
     - кастраты и наркоманы,  не находящиеся под  влиянием  наркотика,
мучительно переживают боль;
     - стрельцы (23.11 - 21.12)  и  львы  (23.07-22.08)  очень  боятся
боли, тогда как козероги (22.12 - 20.01) - упорно игнорируют ее;
     - сильные эмоции (гнев,  горе, половое возбуждение, ненависть...)
обычно приглушают боль;
     - при ожидании болевого ощущения чувствительность на боль заметно
повышается,  особенно  если  субъект весьма ее не любит либо труслив и
малодушен;
     - значительная боль легко и надолго запоминается;
     - острее всего боль испытывается ночью (при  максимуме  в  1  час
ночи...), слабее - днем, еще слабее - вечером;
     - в  особенности  чувствительны  к  воздействию:  пульпа   зубов,
глазные яблоки, область подмышек, кожа век, кости ключиц и пах;
     - о том,  что человек переживает мучительную боль обычно  говорят
стиснутые  зубы  либо  пронзительные крики и стоны,  выпяченные глаза,
расширенные ноздри,  обильный пот, сильные расстройства кровообращения
и дыхания (при затруднениях с последним багровеет лицо...); когда боль
длится слишком долго, возможны также бледность кожи, упадок сил, дрожь
и, в конечном счете, обморок;
     - знаком  реальности  испытываемого  страдания  надо  считать  не
крики,  а  значительное  расширение  зрачков  (при явной симуляции они
заметно не меняются...).
     Любое пыточное  воздействие  должно  быть  точно дозируемым,  ибо
когда объект лишается  сознания,  оно  становится  бессмысленным.  Для
преодоления этой неприятности жертву окатывают холодной водой и вводят
ей фармакостимуляторы.



     При сокрушении воли человека  хорошо  действуют  побои,  а  также
унизительные  оскорбления  словом  и  делом (макание головой в сосуд с
дерьмом,  промазывание  половым  членом  по  губам,   так   называемое
"опусикание", или изнасилование...) внезапно заставляющие объект остро
прочувствовать свою беспомощность,  ничтожество и унижение.  Предельно
эффективен  вариант принуждения человека совершить какую-либо подлость
по отношению к своим близким.
     Эффективным приемом  подавления  воли  считается  также  создание
таких ситуаций,  при коих жертва причиняет себе боль сама.  Это  имеет
место, в   частности,  при  слишком  долгом  пребывании  в  навязанных
статических позах (стояние на носках,  и невозможность  опуститься  на
подошвы  из-за острых шипов под ними...) или когда свои же собственные
движения вызывают резкую  мучительную  боль  (бег  голыми  стопами  по
обломистым камням или колючкам...).  Иногда на голову объекта надевают
металлическое ведро,  отражающее возникающие в нем звуки,  и действуют
на  человека электрошоком,  при этом крики жертвы стократно отдаются в
ее мозгу и тем острее, чем сильнее она кричит.
     Хорошо ломает  волю  отключение  от  всех сенсорных раздражителей
(посадка  на  день-другой  в  темную  и  абсолютно  звукоизолированную
комнату...)  либо  значительный  избыток  света (использование бокса с
молочно-белыми    однообразными    стенами    и     ярко     светящими
прожекторами...), а также полное лишение объекта сна.



     Чаще всего  это осуществляется через банальное избиение,  которое
много раз производится импровизированными средствами,  не оставляющими
явных  внешних  следов  (кусок  резинового  шланга,  носок заполненный
песком...) либо специальными приспособлениями,  рождающими потрясающую
боль (сделанные из дерева лопатки со многими отверстиями в них,  плети
с "кровавыми" узлами....).
     На болевые  нервные  рецепторы  субъекта воздействуют какими-либо
раздражителями  либо  в  естественной  (хлесты  крапивой  по   половым
органам...),  либо в медицинской (впрыскивание под ногти или в мошонку
эфира...) манерах.  Эффективно действуют и влажные  кожаные  браслеты,
сжимающие при высыхании пальцы.
     Очень мучительно   блокирование   дыхания,   без   доведения   до
отключения сознания (не слишком длительные,  секунд по 30,  погружения
лица под воду;  резкое откидывание головы и заливание в  ноздри  воды;
засовывание   объекта   в   пластиковый   мешок,   непроницаемый   для
воздуха...).
     Хорошо зарекомендовало   себя  использование  электротока  строго
дозируемой  величины,  чтобы  излишне  мощный  разряд   не   обеспечил
отключение  сознания  или ненужную смерть (подробнее об этом сказано в
разделе  об  электрошоке).  Функционирующие  электроды  обычно  крепят
пластырем  к  самым  различным  частям тела,  выбор которых иной раз и
определяет  эффект,  реализуемый  в   итоге.   Так,   замыкание   цепи
посредством пальцев разных рук явно опаснее подобного же замыкания, но
пальцами одной руки,  ибо в последнем случае  ток  не  проходит  через
внутренние  органы.  После использования электротока всегда мучительно
болят все мышцы и суставы.



     Техника получения  информации  посредством  пытки  осуществляется
различными путями, такими, скажем, как:
     - отлавливание информации в процессе пытки;
     - подготовительное   пыточное   воздействие   на   человека   для
сокрушения  его  воли  без  задавания  вопросов,  а  после  уже   фаза
дознавания, без применения пытки;
     - допрос без пыточного насилия,  которое тотчас  же  применяется,
если объект не пожелает говорить или обманывает;
     Отлавливание информации в процессе пытки чаще всего  используется
при  недостатке  времени  либо  трусливости  объекта.  Иной  раз здесь
возможно ограничиться одной угрозой (поднесение зажженной  сигареты  к
телу...),    раскруткой    воображения   объекта   (наличие   пыточных
приспособлений и   наводящие   дрожь   звуки...)    либо    простейшим
воздействием  (пара  чувствительных  ударов  под  дых,  в  пах  или  в
печень...).
     Очень эффективно   внутривенное   введение   дозами   до   40  мг
миорелаксанта дитилина (он применяется при  операциях  с  наркозом,  а
также  при  отлове  всяческих животных,  включая,  кстати,  собак...),
который расслабляет мышцы тела и временно парализует  их.  Пройдет  не
более минуты, как сердце станет биться реже, мышцы конечностей охватит
паралич,  нейтрализующий  затем  всю   междуреберную   мускулатуру   и
диафрагму.   Объект  при  этом  пребывает  полностью  в  сознании,  но
явственно  испытывает  ощущение  надвигающейся  гибели,   с   активным
проявлением непередаваемого ужаса и страха, что продолжается от 2 до 5
минут.  В тот  момент  когда  появится  удушье,  от  человека  требуют
необходимых  сведений под сильнодействующей на него угрозой повторного
укола.
     В еще  одной  методике  допроса  субъекта  вежливо  усаживают  на
табурет в фиксированной позе на 2-3  дня,  а  находящиеся  рядом  люди
упорно  не  дают  ему  заснуть.  В  итоге  всего этого объект уже не в
состоянии отличить реальность от сна и машинально  отвечает  на  самые
коварные вопросы.
     Не надо забывать,  что сведения,  приобретаемые под пыткой,  иной
раз могут быть вымышленными;  и здесь приходится заметно полагаться на
интуицию и опытность допрашивающего.
     *В методиках преодоления пытки задействуют такие способы, как*:
     - сосредоточенность внимания на ярком ощущении  боли  с  активным
стремлением  увеличить  ее  до  максимума,  при  коем  она  больше  не
воспринимается ("пережигание нерва"...);
     - сосредоточенность  на  параллельном  раздражителе  (сдавливание
промеж зубов чего-либо...);
     - возбуждение  могучей  эмоции  (ярости,  ненависти...) способной
заблокировать импульсы боли;
     - обеспечение     отключения    сознания    изысканно-ментальными
(посредством концентрации и  мантр...)  или  грубо-физическими  (удары
головой о стену...) способами;
     - "выход в астрал" из своего  тела  приемами  буддийско-даосского
транса;
     - психическая трансформация себя в объект,  который не способен к
переживанию боли (облако, камень...).







     Не обладая  поддержкой  различных  политических,  коммерческих  и
официальных силовых структур качественно провести какую-либо серьезную
операцию  обычно  удается  только  скрыв  свою  истинную  деятельность
("нелегалы дела"), и свое истинное лицо ("нелегалы личности").
     Это относится   как   к   самодеятельному   индивиду,   так  и  к
неофициальной группировке,  специально созданной для решения  каких-то
щекотливых, не пользующихся всеобщим одобрением задач.
     Такая же проблема возникает и  тогда,  когда  по  некоей  причине
персоне    надо   скрываться   от   различных   служб   коммерческого,
государственного, криминального, политического рода.
     Типичным нелегалом  можно  стать  и  намеренно,  и вынужденно.  В
любом,  однако,  случае необходимо знать хотя бы  минимум  стандартных
тактик безопасности,  чтобы удачно проскочить этот период,  не потеряв
по явной глупости физической или психической свободы,  а  порой  самой
жизни.



     Уровень используемых  мер страховки сильно зависит как от степени
желаемой конспирации человека (или группы),  так и от ситуации,  среды
и, разумеется, от возможностей самих страхующихся.
     Отдельные приемы личной безопасности  должны  стать  естественной
привычкой  и  выполняться  вне зависимости от потребностей сиюминутной
ситуации.
     Представленное здесь  не  исчерпывает возможных средств обыденной
страховки,  критерием для применения которых всегда  являются  высокое
мнение о противнике, и, конечно, здравый смысл самих страхующихся. Нет
необходимости "палить из пушки по воробьям",  но не мешает помнить то,
что "береженого Бог бережет"...
     *Типичны следующие виды безопасности*:
     - ВНЕШНЯЯ (в ходе общения с посторонними);
     - ВНУТРЕННЯЯ (при контактировании в своей среде и группе);
     - ЛОКАЛЬНАЯ (в различных ситуациях и действиях).
     Рассмотрим все это немного подробнее.



     Различные неприятности могут возникнуть при  общении  с  обычными
людьми и госструктурами,  но многое здесь можно предвидеть и избежать,
используя банальный принцип трех "не":  не раздражать, не связываться,
не выделяться.
     *Необходимо*:
     1. Не  привлекать к себе излишнего внимания (тактика "растворения
в среде"):
     - не  выделяться  внешним  видом  (обыденная  стрижка,  приличная
одежда,  отсутствие  чего-либо  "крикливого";   если,   однако,   ваше
окружение экстравагантно, то - будьте как они...);
     - не ввязываться в ссоры и скандалы (это, во-первых, привлекает к
вам ненужное внимание,  а,  во-вторых,  может быть просто провокацией,
нацеленной на задержание или "наказание");
     - аккуратно вносить все коммунальные платежи и прочие госпошлины;
всегда оплачивать проезд в транспорте;
     - стараться  точно  следовать рисунку избранной социальной роли и
не  иметь  претензий  по  работе  (и  не  выделяться  там   на   общем
коллективном фоне...);
     - не  распалять  навязчивого  любопытства  соседей   необычностью
образа жизни или визитами разных людей;
     - не  проявлять  избыточной  осведомленности  в  чем-либо,  если,
конечно,  этого  не  требует  ваша  роль  (не  забывайте  древних:  "у
бдительного должен быть закон о трех нет:  "не знаю", "не слыхал", "не
понимаю").
     2. Не порождать какой-либо неприязни  в  соседях,  сослуживцах  и
знакомых, а вызывать у них симпатию:
     - не быть "белой вороной" (людей всегда располагает к  себе  тот,
кто раскрывается с понятной им стороны...);
     - выработать  манеру  поведения,  не  вызывающую   у   окружающих
возможной   настороженности   (излишним   любопытством,   "умом"   или
навязчивостью...) либо неприязни (бестактностью, занудством, гордыней,
грубостью...);
     - быть ровным и любезным со всеми окружающими и,  по-возможности,
оказывать им мелкие (но не лакейские!) услуги;
     - не делать ничего,  что может вызвать недовольство и любопытство
соседей (хлопанье дверью ночью, избыток посетителей, возвращение домой
на  такси,  визиты  женщин,  поздние  вызовы  по  телефону   в   общей
квартире...).
     3. Тщательно контролировать все свои связи и  контакты  (помнить,
что "опаснее всего тот враг, о коем не подозреваешь"...):
     - хранить тайны от своих ближних  (жены,  друзей,  родственников,
любовницы...);
     - с  привычной  настороженностью  ("зачем  и   почему?")   всегда
воспринимать  попытки сблизиться с Вами (случайное знакомство,  чьи-то
рекомендации...);
     - внимательно  относиться  ко  всем  работникам  ремонтных служб,
рекламы  и  сервиса,  просматривать  их  документы   и   вежливо,   но
обоснованно   сверять   идентичность   по   телефону,   а  затем  -  у
"сослуживцев";
     - быть осторожным со всеми,  кто предлагает как бы "бескорыстные"
услуги (дает деньги взаймы,  активно в чем-то помогает,  предоставляет
по дешевке что-либо нужное...).
     4. Выяснить собственные  уязвимости  и  знать,  как  можно  здесь
подстраховаться:
     - проанализировать всю свою  жизнь  и  выделить  те  сомнительные
моменты, которые могут использоваться для шантажа или дискредитации;
     - реально оценить возможные последствия от оглашения  сих  фактов
всем тем, кому они могут быть сообщены;
     - прикинуть, кто и по какой причине способен знать сей компромат,
и как возможно нейтрализовать подобную осведомленность;
     - определить объекты своей уязвимости (женщина,  дети,  моральные
устои...) поскольку через них на Вас могут осуществлять давление;
     - выявить  свои  слабости  (хобби,  вино,  секс,  деньги,   черты
характера...) и помнить, что их всегда могут использовать против Вас.
     5. Не ввязываться в  сомнительные  аферы  не  связанные  с  общим
делом.  В  рискованные авантюры,  имеющие отношение к делу,  встревать
только при разрешении свыше.



     Контакты в   собственной   среде   нельзя    рассматривать    как
гарантированно   безопасные.  Помните,  что  "наибольший  вред  обычно
получается  от  двух  условий:  от   разглашения   тайны   и   доверия
вероломным".
     1. Сохранение тайны личности:
     - взамен  подлинных  имен  всегда используются псевдонимы (обычно
именные,  но также цифровые,  буквенные или "прозвищные");  на  каждом
направлении "игроки" проходят под отдельным псевдонимом, хотя возможна
работа и под  несколькими  вариантами,  а  также  действие  под  общим
псевдонимом нескольких разных лиц;
     - члены команды,  по возможности,  знают друг  друга  только  под
псевдонимами;  о  подлинных  фамилиях,  домашних  адресах  и телефонах
должны быть осведомлены лишь доверенные лица;
     - при   нависающей   возможности   провала   и  расшифровки,  все
применявшиеся псевдонимы, как правило, меняются;
     - не  следует  давать  кому  бы  то ни было каких-либо интимных и
прочих сведений о собственной персоне;
     - пытаться создавать (используя намеки или слухи) вымышленную, но
внешне правдоподобную "легенду" о себе;
     - никто  в  группе  не  должен  проявлять  избыточного интереса к
занятиям, привычкам и интимной жизни своих товарищей;
     - никто  не  должен  сообщать  другим никаких данных о партнерах,
если того не требует насущная необходимость;
     - в  отдельных  случаях  имеет  смысл  визуально  изменять  облик
(прическа,  борода,  грим,  парики,  татуировки,  цвет  кожи,  очки  с
простыми или дымчатыми стеклами и разными оправами,  вставки, меняющие
голос и походку...);
     - необходимо  обрести привычку не оставлять после себя каких-либо
материальных следов,  свидетельствующих  о  том,  что  вы  здесь  были
(окурков,  брошенных  бумажек,  следов от обуви,  контрастных запахов,
заметных изменений в  обстановке...).
     2. Сохранение тайны дела:
     - активные рабочие контакты поддерживаются со строго ограниченным
набором  лиц  (система  троек  или  пятерок  в зависимости от решаемых
задач...),  при  этом  сотоварищи  не  должны  знать   чем   конкретно
занимаются партнеры;
     - каждый специализируется лишь в двух-трех областях,  после  того
как деятельностью в одной из них ему стало слишком опасно заниматься -
возможны передышка, а также переход на другое направление;
     - необходимо   строго   различать  оперативную  и  информационную
работы; пусть каждый занимается лишь своим делом;
     - лучше всего маскируют подготовку к конкретной акции мероприятия
по воплощению другой;
     - рассказывать  о  своей  деятельности  другим можно только в том
случае,  если сие необходимо им для дела;  помнить, что тайна хранится
максимум 5-ю людьми;
     - передавать  полученную  информацию  надо  лишь  тем,  кому  она
заведомо необходима (выказывание избыточной осведомленности в чем-либо
способно выявить источник информации,  а  это  может  привести  к  его
нейтрализации);
     - быть осмотрительным при задействовании  средств  связи,  дающих
явные возможности для перехвата информации (почтовые послания,  радио-
и телефонные переговоры...);
     - ни  в  коем  разе не писать открытым текстом в письмах реальных
адресов, имен и установок,  не упоминать их в разговорах ведущихся  на
улице или по телефону;
     - использовать  коды  и  псевдонимы  даже   при   внутригрупповом
общении, время от времени меняя их;
     - группа должна  иметь  2-3  отдельных  шифра,  известных  разным
людям;
     - больше рассчитывать на  память,  чем  на  запись;  в  последнем
случае надо употреблять свой личный код и шифр;
     - стараться   не   иметь   компрометирующих   бумаг,   написанных
собственным почерком или же отпечатанных на собственной оргтехнике;
     - в общении с "засвеченными" персонами воздерживаться  от  прямых
контактов,  используя,  если  понадобится,  побочных  лиц  или  другие
средства связи;
     - всегда   учитывать  и  помнить,  что  есть  возможность  утечки
информации  или  предательства  и  быть  готовым   к   соответствующим
контрдействиям.



     Лучшей гарантией  успеха  является обычно подстраховка,  и потому
любые  действия  желательно  осуществлять  с  учетом  всех   возможных
неприятностей   со  стороны  противника  или  случайно  подвернувшихся
свидетелей.
     Отдельные приемы   обеспечения   безопасности  (уход  от  слежки,
выявление  прослушивания...)  упоминались  нами  ранее,  а  здесь   мы
разберем еще несколько встречающихся в практике стандартных ситуаций и
некоторые меры, ориентированные на их прикрытие. Будут рассмотрены:
     1. Общие правила прямого общения.
     2. Использование телефона.
     3. Организовывание встреч.
     4. "Уход на дно".



     - стараться не вести информативные  беседы  открытым  текстом  на
людной улице или в общественном транспорте;
     - не следует упоминать в открытом  разговоре  подлинных  фамилий,
имен,   общеизвестных  прозвищ  и  адресов,  а  также  не  употреблять
"встревоживающую" терминологию;
     - использовать   для   обозначения   отдельных  действий  кодовые
наименования;
     - самые тайные аспекты разговора (подлинные адреса, пароли, даты)
пишутся на бумаге, которая затем уничтожается;
     - необходимо  ориентироваться  в  технических возможностях систем
подслушивания и знать элементарные меры противодействия им (см. раздел
о получении информации...);
     - при подмечании одним из собеседников во время разговора чего-то
настораживающего,  партнер  предупреждается  особым словом ("атас"...)
или  же  жестом  (палец  к  губам...)  и  вся  беседа  переводится   в
нейтральное русло;
     - если Вы знаете,  что Вас подслушивают, информативные переговоры
лучше не вести или использовать их для дезинформации;
     - когда Вас по всей видимости  "слушают",  а  пообщаться  все  же
надо,  то пользуются условным языком, где безобидные предложения имеют
совершенно другой смысл;  используются также фразы, которые не следует
учитывать  (о них обычно сообщается каким-либо обговоренным жестом,  к
примеру,  скрещиванием пальцев...),  а зачастую и  стандартные  приемы
(покашливание, вкладыши во рту...) затрудняющие опознание говорящего;
     - когда необходимо  обеспечить  полную  тайну  общения  в  людном
месте,  используют  методы условной (невербальной) связи,  такие,  как
язык жестикуляции,  телодвижений  и  жестов  пальцами,  а  также  коды
опирающиеся  на  атрибутику  одежды (разные положения головного убора,
галстучного  зажима,  носового  платка...)  или   на   манипулирование
подручными предметами (часами, сигаретами, ключами...).





     - стараться  обговаривать  время  чужих  и  собственных звонков и
ограничивать частоту контактов;
     - не  злоупотреблять  беседами по собственному телефону (учитывая
что его могут прослушивать) и не давать другим без явной необходимости
свой номер (зная, что по нему несложно выйти на Ваш адрес);
     - учитывать,  что слушать могут как весь телефонный разговор (при
подключении на линии...), так и лишь то, о чем говорите Вы (заложенный
"жучок" или соседка дверью...);
     - полезно встроить в аппарат простейшую "контрольку" (фиксирующую
падение напряжения...) на подключение к линии чужой аппаратуры;
     - использовать АОН (автоматический определитель номера),  а лучше
бы "анти-анти-АОН",  чтобы  не  афишировать  свой  номер  при  вызовах
других;
     - не полагаться на надежность любых радиотелефонов;
     - междугородние  и прочие фиксируемые контакты лучше осуществлять
с чужого "номера" по  сотовому  "двойнику"  или  радиоудлинителю  (см.
раздел  о  шантаже...),  а  также через непосредственное подключение к
любой паре контактов в распределительном щите;
     - для  большей  тайны  переговоров  можно задействовать шифраторы
(хотя бы простенькие импровизированные инверсоры и  скремблеры),  хотя
применение их способно резко стимулировать внимание других;
     - не следует особо доверять защите посредством  "зашумления"  или
"подъема напряжения в линии";
     - если вы не  хотите  "расшифровываться"  собеседнику,  то  можно
попытаться изменить свой голос (посредством механических и электронных
штучек либо простым покашливанием,  вытягиванием  и  разведением  губ,
пережиманием    носа...)    и    стилистический    рисунок   разговора
(использованием жаргона....);
     - не  забывать,  что иной раз прослушиваются и телефоны-автоматы,
расположение которых легко вычисляется, как и всех прочих телефонов;
     - если  чужой  звонок  Вам  нужен,  но  нет  желания  давать свои
координаты,  используется промежуточный - с автоответчиком  или  живым
"диспетчером",  который может либо знать, либо не знать (односторонний
вариант...) Ваш частный номер - телефон;
     - в   отдельных   случаях   возможно  бессловесное  использование
телефона, когда один, а чаще несколько "пустых" звонков в некоем ритме
являют некоторый код;
     - конкретным сигналом иной раз может служить просто  факт  звонка
определенного  лица  при  самом пустяковом разговоре,  а также кодовое
упоминание неких имен при "ошибке номером".



     - не проводить деловые разговоры открытым текстом;
     - не называть подлинных дат, фамилий, адресов;
     - использовать кодовые наименования отдельных действий;
     - пользоваться условным языком,  в котором безобидные фразы имеют
совершенно другой смысл;
     - звонить  только  по необходимости,  хотя возможен также вариант
частых разговоров "не по делу" с одним и  тем  же  человеком  (тактика
"растворения информации").



     - весь  диалог ведет партнер,  а Вы лишь говорите "да" или "нет",
чтобы рядом стоящие ни капельки не поняли и не узнали;
     - о том,  что рядом посторонние,  сообщается открытым текстом или
словесным кодом;  беседу после этого должен вести партнер, которому не
подобает задавать каких-либо вопросов, требующих развернутых ответов;
     - когда имеется прямой контроль  не  очень  дружественного  лица,
партнер  предупреждается  об  этом  обговоренной фразой-кодом (лучше в
приветствии...), после чего весь разговор ведется в пустопорожнем либо
в дезинформационном стиле;
     - если  один   из   собеседников   считает,   что   телефон   его
прослушивают,  он сразу же старается предупредить об этом звонящих ему
посредством  хорошо  известной  всем  им  фразы  ("зубы  болят"...)  и
разговор затем сворачивается в нейтральное русло.

      Г) ПОЛЬЗОВАНИЕ ОБЩИМ ТЕЛЕФОНОМ (В КВАРТИРЕ, НА РАБОТЕ...):

     - как  можно менее использовать подобный телефон (в особенности -
"на прием"),  если сие не связано с  разыгрываемой  ролью  (диспетчер,
агент по рекламе...);
     - звонить на данный телефон должен один и тот же человек;
     - стараться не звонить излишне поздно и слишком рано;
     - при попытке посторонних идентифицировать голос звонящего  ("Кто
спрашивает?"...), ответить вежливо-нейтрально ("Сослуживец"...) и если
вызываемого нет, тотчас прекратить дальнейшую беседу;
     - в сущности,  несложно сделать и отдельный телефон, используя, к
примеру,  кодовый разветвитель,  так что при этом специфический  набор
общего  номера  надежно  обеспечит  вызов только лишь Вашего аппарата,
нисколько не затрагивая соседний.



     Уровень требуемых в конкретных случаях мер  безопасности  зависит
от желаемой степени конспиративности контакта,  от степени легальности
его участников и полагаемой реальности контроля его чужаками.



     - присматривая  подходящие  места  для  контактирования,   обычно
опираются на принципы естественности, обоснованности и случайности;
     - частые  встречи  проще  всего  осуществлять  на  месте  фановой
тусовки  (вписываясь  в  ее рисунок...),  в зале спортивной секции,  в
рабочем помещении...;
     - особенно  серьезные  собрания  можно  реализовать  в охотничьих
угодьях,  специально снятых дачах,  в банях,  курортных санаториях, на
всяческих спортивных базах, на пляжах заграницы;
     - парные встречи назначаются в метро и скверах,  в туалетах  и  в
автомобилях,  на  мало  оживленных  улицах и зоопарках,  в музеях и на
выставках;  пересечения в сих местах не очень ожидаемы,  а потому  они
менее опасные;
     - следует воздерживаться от  конспиративных  встреч  в  известном
ресторане,  модном кафе и на вокзале, учитывая, что такие точки обычно
контролируются;
     - возможно  проведение  "случайных"  встреч  в  частных квартирах
третьих лиц  по  обоснованному  поводу  (похороны,  юбилей,  "обмывка"
некого события...);
     - не  следует  осуществлять  каких-то  встреч   (кроме   обыденно
привычных) в стереотипных коммунальных квартирах;
     - предельно   ограниченно   использовать   для    контактирования
собственные квартиры;
     - в   некоторых   случаях   имеет   смысл    снять    специальную
конспиративную   квартиру,   по  возможности  в  том  доме,  где  есть
дублирующий выход;
     - осматривая  место встречи,  всегда иметь в виду,  можно ли туда
неконтролируемо проникнуть,  и каким образом  оттуда  можно  незаметно
ускользнуть;  помните  старую  истину:  "Не  видя как уйти - не пробуй
входить!"



     - места возможной встречи обычно обговаривают заранее,  и всем им
придается   кодовое  -  буквенное,  цифровое  или  же  "обманчивое"  -
наименование, причем несколько на каждое;
     - о намечаемом контакте другим сообщается по телефону,  пейджеру,
письмом,  а также через связника;  - сговариваясь о встрече по  линиям
"открытой" связи,  используют кодовое наименование места,  шифрованную
дату  (к  примеру,  день  перед  указанным)  и  сдвинутое  время   (на
постоянное либо скользящее число);
     - до   наступления   намеченного    срока    необходимо    выдать
подтверждение контакта либо открытым текстом, либо сигнальной связью;
     - в случае,  если при встрече допустимо  ожидание  (на  остановке
городского  транспорта,  в  очереди  на  автозаправке...),  желательно
указать конкретный промежуток времени,  после которого  ждать  уже  не
надо.



     - на   многолюдные   собрания  следует  прибывать  не  скопом,  а
рассредоточившись и не оставляя в одном месте все личные автомобили;
     - стараться избегать присутствия на сборах каких-либо посторонних
и лишних лиц;
     - понимая,  что  о многолюдных тайных встречах скорее всего будут
знать и те,  кому  не  надо,  необходимо  никогда  не  брать  с  собой
каких-либо    явно    компрометирующих   вещей   (оружия,   поддельных
документов...), и помнить, что их могут иной раз подсунуть;
     - очень  желателен контроль места общения специальными людьми до,
во время и после встречи,  с тем,  чтобы при необходимости  они  могли
предупредить  о  возникающей  опасности по собственным "уоки-токи" или
используя какие-либо обговоренные (учитывая свой захват) сигналы;
     - при  всяческом контакте надо прикидывать,  каким же образом Вас
могут подглядеть или подслушать,  упрямо задавая себе краткие вопросы:
"Где? Как? Кто?";
     - особо тайные беседы надо осуществлять в локальных изолированных
точках,    проверенных    и   подстрахованных   на   все   возможности
подслушивания, подглядывания и подрыва;
     - желательно иметь хотя бы простенькие индикаторы,  сообщающие об
излучении радиомикрофонов или же  о  наличии  у  собеседника  пишущего
диктофона;
     - полезно применение даже "топорных" искровых глушителей, а также
генераторов стирания магнитной записи;
     - классические нелегальные парные встречи  всегда  рассчитываются
до минуты и проводятся как "случайные";
     - чтобы впритирку прийти на  точку  встречи,  необходимо  заранее
провести  хронометраж  движения  и  дать  некоторый  запас  времени на
всяческие неожиданности (перекрывание маршрутной трассы,  привязывание
постороннего, транспортная авария...);
     - когда  пересечение  запланировано  на  улице,  то   не   мешает
прогуляться   там   где-нибудь   за   час   до   встречи,  внимательно
приглядываясь к каждому прохожему и всем паркующимся автомобилям; если
Вас что-то настораживает,  то контакт необходимо отложить,  сообщив об
этом своему партнеру приемами закамуфлированной сигнальной связи;
     - при  встречах  с  незнакомыми  персонами  последних  узнают  по
описанию их внешнего вида,  конкретной позе или  жесту,  упоминанию  о
вещах  удерживаемых  в  руках,  а  лучше  всего  -  по  фотографии,  с
дальнейшим подтверждением идентичности словесным (и другим) паролем;
     - располагаться  в  стационаре  необходимо  так,  чтобы все время
контролировать явные места возникновения  угрозы  (скажем,  в  кафе  -
лицом ко входу, видя при этом то, что происходит за окном и размещаясь
недалеко от открытого служебного хода...);
     - помнить  и  выполнять  все  ранее  указанные правила словесного
общения.



     Бывают ситуации,  выкрутиться из которых возможно  только  в  том
случае,  если  временно  (а  то  и  навсегда) исчезнуть из поля зрения
отдельных лиц,  структур  или  организаций  Этот  аспект  мы  здесь  и
рассмотрим:
     - "уход   на   дно"   подразумевает   либо   полное   прекращение
каких-нибудь напоминаний о себе, либо элементарное скрывание со сбором
сил для нанесения победного удара;
     - решив уйти,  надо прикинуть:  кто,  как,  и с какой активностью
будет искать  Вас,  а  потом,  основываясь  на  таких  предположениях,
выработать способ ускользания и схему поведения в дальнейшей жизни;
     - уйти  можно  путем  простого  исчезновения,  либо   посредством
имитации  смерти  (несчастный случай,  самоубийство...),  а иной раз и
похищения;
     - при имитации смерти возможны варианты намеков (одежда на берегу
реки...) и свидетелей (разыгрывание трюка...),  подмены тела (с учетом
вероятности  попытки  идентификации...),  а  в изящной комбинации даже
инсценировка   кончины   с   наличием   Вашего   "трупа"   и    четкой
задокументированностью этого факта;
     - в простейшем случае обычно  ограничиваются  перебазированием  в
другое   место  жительства,  никак  не  связанное  с  любыми  прошлыми
контактами и биографией;  довольно перспективно ускользание за границу
либо туда, куда Ваши противники не очень-то хотели бы соваться;
     - на некий срок перерубаются все личные  и  резко  ограничиваются
деловые контакты;
     - вживание в новом месте возможно  через  женщину  (женитьба...),
работу  (котируемая  специальность...)  или  специально подготовленный
трюк (внезапно обнаружившийся родственник...);
     - полезно   изменить  все  паспортные  данные  (взять,  например,
фамилию жены или воспользоваться поддельными бумагами...)  и  хоть  бы
несколько - свой облик (прической,  бородой,  усами,  наличием и типом
очков...);
     - в   серьезных  случаях  возможны  пластическая  (лицо...)  плюс
хирургическая (походка...) операции, а также гипнотические воздействия
для устранения старых и обретения новых привычек);
     - не  надо  забывать,  что  современные  методики   (к   примеру,
генетическая...)  идентификации  способны  в  любом  случае установить
истину;  вопрос лишь в  том,  сочтут  ли  нужным  сим  заниматься  или
привычно  ограничатся  стандартными  расспросами вкупе с исследованием
документов и фотографий.



     Сохранность тайны  некоторых  сведений  всегда  являет  серьезную
проблему,  решить  которую  пытаются  самыми  различными  путями,  и в
частности - задействуя стеганографию и  криптографию.  Знать  хоть  бы
минимум подобных методик позволит Вам не только применять их для себя,
но и с успехом распознать попытки других персон скрыть что-либо важное
от окружающих.



     Искусство криптографии  имеет  дело  с  "затуманиванием" какой-то
информации.  Задачи  криптографии  просты:  сделать   понятное   (т.е.
"открытое")   сообщение   всецело  непонятным  (т.е.  "закрытым")  для
непосвященного.  Подобный трюк осуществляется при помощи кодирования и
шифрования, а то, что получается в итоге - зовется криптограммой.
     Любое шифрование  производится   с   использованием   какого-либо
алгоритма   (т.е.  последовательности  действий)  и  некоторых  данных
(обычно,  разнодлительного ряда определенных символов, к примеру, букв
и чисел),  известных под названием ключа и специфичных для конкретного
сообщения.  Расшифровать сокрытое послание играючи может лишь тот, кто
знает алгоритм и ключ для данной криптограммы.
     Противодействующая искусству криптографии  наука  носит  название
криптоанализа.   Она   пытается  помочь  раскрыть  шифр  или  код  без
предварительного знания конкретного ключа и алгоритма.  Такой  процесс
известен как дешифрование.



     Кодированием называется замена слова,  группы слов, а также целых
фраз каким-либо условным словом или знаком, группой символов. Открытые
слова  здесь  называются  кодовеличинами,  а их закрытые эквиваленты -
кодообозначениями.
     Набор кодовых   символов   обычно   составляет   кодовый  алфавит
(словарь),  причем в таблицах кодирования в алфавитном  порядке  стоят
кодовеличины, а в таблицах раскодирования - кодобозначения.
     Для избежания повторов в тексте и усреднения частот встречаемости
одному    кодовому   обозначению   нередко   соответствуют   несколько
кодовеличин,  а   одной   кодовеличине   (если   она   слишком   часто
применяется...) несколько (2-5) кодообозначений.
     Если при кодировании желательного слова в таблице не оказывается,
то оное кодируется побуквенно, причем каждая буква рассматривается как
некая самостоятельная кодовеличина.
     Для затруднения  декодирования  обычно  используют так называемые
"пустышки", т.е.  кодообозначения,  которые разбрасываются  по  тексту
криптограммы,   но   не  имеют  никаковского  значения.  Другой  мерой
предосторожности является последуюшее зашифровывание  (обычно  шифрами
перестановки) уже закодированного сообщения.
     Важнейшие кодовые соответствия полезно хранить в памяти, вкрапляя
их  при необходимости в открытый текст,  а также иной раз использовать
простейший акрокод - чтение первых букв слов,  строк или каких-то  там
частей  (скажем,  глаголов...) предложений (к примеру,  фраза "надобно
еще тренироваться" читается как "нет").  В отличие от истинного  кода,
защита в акрокоде минимальна.
     Для маскировки цифр и  дат  нередко  применяется  так  называемый
примитивный код, в котором буквы ключевого слова четко привязываются к
конкретным цифрам. К примеру, если слово-ключ

     "КНИГОИЗДАТЕЛЬСТВО",
     12345 67890,...
     то дата 03.06.97. запишется как "ЕИЬЕЗСТДВ".

     При декодировании кодовых посланий используется  логика  догадок,
основанная на анализе того,  чем занимаются пославшие, и что они могут
сказать о своем сообщении.  При этом иной  раз  используют  ловушки  с
подкидыванием  какой-то  информации,  которую  та  сторона  конечно же
захочет передать.  Рассматривая кодограмму, стараются понять структуру
ее   текста,   определив   кодообозначения   для   знаков  препинания;
учитываются также повторы и общепринятые выражения.
     Короткое кодированное  сообщение  без  обладания кодовой таблицей
вскрыть очень трудно, а порой и невозможно.



     Под шифрованием имеется в виду  переиначивание  открытого  дотоле
текста   в   закрытый   шифротекст   посредством   применения   вполне
определенных правил (алгоритмов).
     Известны две классических системы шифрования:  шифры перестановки
и замены, - которые при этом очень часто сочетаются.



     В шифрах  перестановки  буквы  (или  другие  символы)   исходного
сообщения  нисколько  не  меняются,  а  лишь переставляются по некоему
закону, делая весь текст стандартно нечитаемым.
     Известно множество программ подобных шифрований, но мы рассмотрим
характерный шифр двойной перестановки столбцов и строк.
     Такие шифры  хороши  для  подстраховки закодированного текста или
отдельных криптограмм многоалфавитного шифрования.
     Для зашифровывания двойной перестановкой необходимо:

     
                               r241.tif

     
                               r242.tif

     - построить некую таблицу, форматы каковой определяются размерами
двух ключевых слов (скажем,  "гевара" и "риск"),  которые выписываются
при этом сверху и сбоку таблицы;
     - в таблицу по определенному маршруту (к примеру,  "а") заносится
исходный   текст  (таблица  А),  а  неиспользованные  места  полностью
заполняются  любыми,  но  лучше  всего  часто  встречающимися  буквами
(здесь: "с", "в", "и");
     - переместить столбцы  в  порядке,  соответствующем  расположению
букв у верхнего ключа ("гевара") в обычном алфавите (таблица Б);
     - переместить все строки  в  соответствий  с  последовательностью
букв второго ключевого слова ("риск") в алфавите (таблица В);
     - выписать  последовательно  буквы   из   получившейся   таблицы,
стандартно  разбивая их на пятизнаковые группы,  причем если последняя
из них окажется неполной, она дописывается любыми часто встречающимися
буквами  (отсутствие  дописки  может позволить выявить размер таблицы,
тогда  как  использование  распространенных  букв  немного   затруднит
дешифрование). Наш шифротекст: "ПЕААН РСИЕС ВСЕМЕ ЕЖНМИ.)
     При расшифровывании криптограммы следует  действовать  как  бы  с
конца:
     - шифровка вписывается в  таблицу  определяемого  длинами  ключей
размера;  столбцы и строки в ней последовательно нумеруются, а избыток
букв отбрасывается (так получается таблица В);
     - строки  располагают  в  соответствии  с  порядком  номеров букв
бокового ключевого слова (так получается таблица Б);
     - столбцы  переставляются  согласно нумерации букв верхнего ключа
(так получается таблица А);
     - буквы  выписываются  в  строку,  следуя  обговоренному маршруту
заполнения-чтения.
     Для дешифрирования шифра такого типа необходимо:
     - предположить, что здесь использован обычный шифр перестановки в
его табличном варианте;
     - попробовать чтение через  фиксированное  или  скользящее  число
букв, пытаясь выявить какие-то закономерности;
     - прикинуть допускаемый размер таблицы,  ориентируясь, к примеру,
на количество букв в тексте;
     - выявить знаки характерных биграмм (ст, мс...) и сопоставить все
имеющиеся расстояния между их составляющими в закрытом шифротексте; те
расстояния, которые особо выделяются, равняются числу строк в шифровой
таблице;
     - учитывая  маловероятность  сочетания  отдельных   букв,   можно
попробовать найти реальную последовательность столбцов;
     - теперь нетрудно правильно расставить все  строки,  ориентируясь
по смыслу появляющихся фрагментов текста.
     Шифры перестановки не сложны для  опытного  дешифровщика  (а  тем
более  для  ЭВМ!),  хотя  при  кратких текстах возможно и неправильное
(анаграммное) осмысленное прочтение.



     В подобных шифрах каждая из букв в открытом тексте  подменивается
какой-то  другой  буквой  или символом,  причем порядок самих букв при
этом не меняется.
     Замена может  быть как однозначной (в шифрах простой замены,  где
каждой букве соответствует лишь один символ),  так и  многозначной  (в
шифрах   многоалфавитной   замены,   где  каждой  букве  соответствуют
несколько символов);  как однобуквенной (поочередная замена  буквы  на
букву),  так  и многобуквенной (системы с зашифровыванием одновременно
двух и более букв).
     Шифры простой замены легко дешифруются при длительности текста не
менее двух-трех алфавитов путем анализа частот  встречаемости  букв  и
через знание типичных сдвоенных знаков, сочетаний и окончаний.
     Шифры со сдвигом алфавита на некоторое фиксированное  число  букв
("шифр Цезаря") читаются предельно просто, используя, к примеру, метод
полосок,  на каждой из которых нанесен  стандартный  алфавит.  Полоски
здесь   прикладывают   друг   к   другу  так,  чтобы  вышло  слово  из
криптограммы,  после  чего  двигаясь  вдоль  них  находят  осмысленное
прочтение, определяя таким образом величину намеренного сдвига.
     На практике имеет смысл использовать многоалфавитное шифрование с
так называемым "текучим" алфавитом,  задействуя какую-либо книгу,  или
микрокалькулятор (МК).
     *а) При шифровании с применением книги обычно действуют следующим
образом*:
     - берется экземпляр определенной книги и раскрывается на ключевой
странице (подобный ключ может  привязываться  к  дате,  суммируемой  с
неким  числом,  указываться  где-нибудь  в  шифровке либо передаваться
другим путем);
     - идут расчеты с отметкой номера строчки и номера требуемой буквы
в этой строке (каждая буква таким образом кодируется вечно  меняющимся
четырехзначным числом, учитывая ноль у однозначных);
     - полученные числа группируются в пятерки;
     - для  некоторого  усложнения  шифра  можно начинать считать не с
первой, а совсем с другой (обговоренной, разумеется...) строки;
     - для  облегчения  нахождения  строк используют бумажную полоску,
прикладываемую вертикально к левому краю листа с проставленной  в  ней
нумерацией всех строчек.
     *б) Использование при шифровании микрокалькулятора*  основано  на
получении с его помощью последовательности случайных чисел,  тогда как
процедура зашифровывания проводится по  принципу  системы  одноразовых
шифроблокнотов. Действуют здесь по стандарту так:
     - открытый текст выписывается  в  строку,  и  ниже  каждой  буквы
помещается ее двузначный номер в порядке алфавита (А-01,  Б-02, В-03 и
т.д.);
     - под  цифровым  эквивалентом  последовательно  записываются  все
знаки  некоей  случайной  числовой   последовательности,   взятой   из
шифроблокнота либо полученной каким-то другим образом;
     - числа   из   верхней   (открытой)    и    нижней    (случайной)
последовательностей  складываются  по  модулю  10  (т.е.  без переноса
единицы; скажем, 17+25=32);
     - полученный   сложением  шифротекст  стандартно  разбивается  на
пятизнаковые группы;
     - числа  обычно  не шифруются,  а отделяются от буквенного текста
каким-либо алфавитным значком (скажем, "/");
     - для   обретения   нечитаемости   уже   использовавшийся   кусок
числопоследовательности ни в коем разе не задействуется вторично.
     *При процедуре расшифровывания все операции проводятся в обратной
очередности*:
     - весь шифротекст расписывается на пары чисел;
     - под   ними   тщательно   выписываются   все   знаки    ключевой
числопоследовательности, аналогичной применявшейся при зашифровывании;
     - из знаков шифротекста попарно вычитаются (по модулю  10)  знаки
случайной ключевой последовательности;
     - полученные пары чисел переводятся в их буквенный эквивалент.
     Для получения   случайной   (точнее   сказать  "псевдослучайной")
последовательности посредством  микрокалькулятора  можно  использовать
различные приемы, вроде классических таких:
     - берут какое-либо четырехзначное число (скажем,  5997), возводят
его   микрокалькулятором   в  квадрат  (35964009),  а  из  полученного
результата (35964009) выписывают средние цифры (9640), рассматривая их
как  случайные;  теперь уже эти "случайные" возводят в квадрат и снова
выделяют из полученного результата середину и  т.д.  (построенная  так
последовательность  через  десятки или сотни знаков - в зависимости от
исходного числа - ключа - обычно повторяется,  но при коротких текстах
вполне может рассматриваться как случайная);
     - используют МК с функцией генерирования псевдослучайной числовой
последовательности  (к  примеру,  "Электронику МК-61"...);  в регистры
калькулятора здесь вводят комбинацию каких-то восьмизначных чисел (это
- ключ шифра!),  после чего при нажимании нужной клавиши на индикаторе
высвечиваются   знаки    долгопериодной    псевдослучайной    числовой
последовательности.



     Прочитывание зашифрованного   текста   без   представления  каким
образом он  зашифрован,  требует  железной  логики,  интуиции,  знания
лингвистической статистики. Отдельные нюансы дешифрирования конкретных
шифров  упоминались  нами  ранее,  а  теперь  мы  приведем   несколько
дополнительных соображений.
     Систему шифра  (перестановка,  замена...)   пытаются   определить
методикой    частотного   анализа,   выявляя   сравнительную   частоту
присутствия различных букв и сравнивая ее с  известным  эталоном  (см.
таблицу 1).
     Значительную помощь   в   расшифровывании   дают    таблицы    по
встречаемости  двух  букв  (биграмм),  а  также знания о встречаемости
отдельных букв в началах и в концах различных слов (к  примеру,  буква
"П" часто имеется в началах слов,  но редка в их окончаниях, тогда как
"Ы",  наоборот,  любит конец и крайне редко может быть  в  начале...).
Полезен  будет  и  словарь  для  предугадывания  слов по их известному
началу.
     Весьма используем  прием  с  попыткой  просто  угадать какое-либо
(подпись, термин...) слово в криптограмме, в особенности, если лексика
послания  известна.  Затем  через вычитание предполагаемого слова (или
фразы)  из  шифротекста,  можно  попробовать  найти   ключ   к   шифру
многоалфавитной замены.
     Дешифрование систем шифроблокнотов и МК  возможно  при  повторном
применении     какого-либо     из    участков    случайной    числовой
последовательности  (грубейшая  ошибка!).  При  этом  вычтя  из  одной
шифропоследовательности  другую,  можно освободиться от ключа,  имея в
результате разность двух совершенно незакрытых текстов.  Предположив в
одном из них какое-либо вероятное слово,  последнее пытаются "сложить"
с имеющейся "разностью".  При  правильном  угадывании  в  этом  случае
становится читабельным и второй текст.
     Атака на  различные  сложные  шифры  довольно  часто  завершается
вскрытием  шифра  простой  замены,  а  этот  шифр  не  очень  сложен в
расшифровывании ввиду избыточности текста.
     Опыт, приобретаемый  при  расшифровывании  одной  системы  обычно
слабо   помогает   при   дешифрировании   другой,   и   здесь    лучше
воспользоваться  ЭВМ,  хотя  при  слишком  большой  длительности ключа
машина может выдать и случайные осмысленные,  хотя совсем не  истинные
куски якобы дешифрированного текста.



     В основе  этого искусства лежит попытка скрыть само существование
секретного сообщения,  а потому его приемы заслуживают самого широкого
употребления.  Здесь  могут быть использованы:  "подкладочное письмо",
когда  запись  сокрыта  какой-либо  защитной   оболочкой,   "хоббийное
кодирование",   с   использованием   кроссвордов,  музыкальных  нот  и
шахматных партий, "жаргонные шифры", в которых вроде бы невинные слова
имеют совершенно другой смысл...
     *Ориентирующими примерами  данных  методик  (оставив  в   стороне
возможности, даваемые электроникой...) могут служить*:
     - запись наколом букв в конкретном месте некой книги  или  газеты
(концы слов отмечаются при этом наколом между буквами);
     - сообщение каких-то данных (набор товаров,  оптовые  цены...)  в
определенном порядке;
     - письмо посредством  узелков,  где  каждая  из  букв  кодируется
размером  в сантиметрах (А-1 см,  Б-2 см...) или в диаметрах мизинца и
отмечается отдельным узелком на  нитке  или  на  обвязывающем  сверток
шпагате; читают текст наматывая нитку на палец;
     - запись  на  боковой  поверхности  колоды  карт,  подобранных  в
конкретном порядке (колода после этого тасуется);
     - записи  на  оборотной  стороне  этикеток  флаконов,  банок  или
бутылок;
     - текст под наклеенной почтовой маркой;
     - запись на внутренней поверхности спичечной коробки, которая для
этого разламывается, а после склеивается по новой;
     - запись  внутри  вареного  яйца  (берут смесь квасцов,  чернил и
уксуса,  записывают ею то,  что необходимо на скорлупе обычного  яйца,
которое потом выдерживают в крепком рассоле или уксусе, чтобы стравить
следы с его поверхности;  яйцо затем варят вкрутую,  причем весь текст
оказывается сверху белка под скорлупой);
     - задействование  "испорченной"  пишущей   машинки,   в   которой
некоторые буквы ставятся выше или ниже строки (учитывают здесь порядок
и число этих букв,  а также промежутки их появления;  в коде  возможен
вариант азбуки Морзе);
     - записи от руки нот в нотной тетради (ноты имеют здесь  значение
по азбуке Морзе или иному коду);
     - записи   в   виде   кардиограммы   или   же   графика    некого
технологического процесса (здесь, при использовании азбуки Морзе, пики
повыше означают,  скажем,  точки, а те что ниже - тире, черточки между
зубцами  сообщают  о  разделе  между буквами,  разрывы линии фиксируют
конец слова);
     - записи   лишь   в  вертикальных  столбцах  цельно  заполненного
кроссворда (горизонтальные строки при  этом  заполняются  произвольно,
само же сообщение может быть либо прямым, либо кодированным);
     - записи  по  трафарету,  при  коих  на  лист   почтовой   бумаги
накладывают трафарет с вырезанными в нем окошками, следуя по которым и
вписывают  истинное  сообщение;  все  остальное   пространство   здесь
тщательно заполняется "пустым" содержанием,  так,  впрочем чтобы слова
подлинной информации  четко  входили  в  текст  ясного  маскировочного
послания;
     - шифр "Аве Мария",  в кодовом варианте которого каждому слову, а
порой и фразе ставятся в соответствие несколько слов явной религиозной
тематики,  так что передаваемое сообщение выглядит  как  специфический
текст духовного содержания.



     Употребление симпатических   (невидимых)   чернил   подразумевает
запись неразличимую в обычных обстоятельствах,  но появляющуюся  после
химической или физической проявки. Это есть вариант стеганографии.
     Процесс употребления хороших симпатических чернил (не  говоря  об
их изготовлении...) включает следующие нюансы:
     - запись ведется на листе бумаги повышенного  качества  тонким  и
длинным деревянным острием,  пропитанным нужными чернилами (к примеру,
зубочисткой или  спичкой  в  обкрутке  ватой),  тоненьким  стерженьком
фломастера,  либо  тонкой кисточкой;  главное,  чтобы данное "перо" не
царапало бумагу;
     - и  до,  и после написания лист тщательно разглаживается с обеих
сторон по разным направлениям мягкой  материей,  скрывая  тайнопись  в
поверхностном слое бумаги;
     - лист с тайнописью  обрабатывается  паром,  а  после  зажимается
между  страницами  объемной книги и хорошо высушивается.  Ежели на нем
появятся следы от "химии" или они будут  видны  под  ультрафиолетовыми
лучами - запись бракуется;
     - если все в порядке - то на листе со скрытой  информацией  пишут
открытое  письмо  или  же  некую  другую  безобидную  фактуру (скажем,
стихотворение...).
     Страхуясь от   любительских  попыток  выявить  тайнопись  методом
"тыка",  можно  задействовать  различные  уловки,   включая,   скажем,
нитрование   бумаги   (вспыхнет  при  избыточном  нагреве...)  или  же
выполнение   записи    "светопером"    (светодиодом...)    на    очень
чувствительной к свету бумаге (написанное исчезает на фоне от засветки
при освещении дневным светом...).
     Для проявления  тайнописи  надо  воспользоваться  соответствующим
реактивом и подобающей методикой. Сам проявитель здесь наносится через
касание  -  протирку  губкой (ватным тампоном),  через обрызгивание из
пульверизатора,   или   другим   доступно-оптимальным   способом.    В
температурных  вариациях  задействуют  проглаживание утюгом или нагрев
возле электролампочки.
     *В качестве  приемлемых  чернил  для тайнописи можно использовать
очень  многие  из  подворачивающихся  под  руку  веществ*:  лекарства,
бытовую химию,  отдельные  продукты  и  даже  человеческие  выделения.
Короткий список симпатических чернил подобного рода с  упоминанием  их
проявителя представлен нами ниже.  Сухие вещества здесь растворяются в
воде или же в спирте, а концентрация состава устанавливается на опыте.
     1. Пиво  и  белое  вино  -  пепел  сожженной бумаги (текст слегка
увлажняется дыханием...).
     2. Сахарная  вода  и  фабричный  яблочный сок - пепел бумаги (при
увлажнении текста).
     3. Яблочный  сок (при "макании" в яблоко) и молоко (разбавленное)
- нагрев.
     4. Сок лука и брюквы - нагрев.
     5. Пищевая лимонная кислота - бензилоранж.
     6. Пирамидон (в спиртовом растворе) - нагрев.
     7. Вяжущие средства для дезинфекции рта и глотки - нагрев.
     8. Аспирин - соли железа.
     9. Фенолфталеин - всякая  разбавленная  щелочь  (скажем,  гашеная
известь...).
     10. Квасцы - нагрев.
     11. Серная (аккумуляторная) кислота (при 10-15%) - нагрев.
     12. Воск (хоть как-то заостренный фрагмент  свечи...)  -  кальция
карбонат, или зубной порошок (посыпать и стряхнуть).
     13. Стиральный порошок - свет  лампы  ультрафиолета  (скажем,  от
пробника валюты...).
     14. Слюна - очень разбавленные водой чернила.
     15. Моча - нагрев.
     16. Кровь - (при изрядном разбавлении) -  слабый  (0,1%)  раствор
люминола ( 1 ч) с двуукглекислой содой (5 ч).
     Очень удобным способен оказаться иной раз метод  так  называемого
"водяного давления",   следуя   которому   надо   смочить  водой  лист
нелинованной бумаги и  поместить  его  на  некую  стеклянную  подложку
(скажем,  на  зеркало...).  На  этот лист кладут другой сухой бумажный
лист,  и затем твердым карандашом или  густым  стержнем  от  шариковой
ручки  пишут  необходимый  текст.  Пока  бумага  влажная - текст будет
виден,  а как только она высохнет -  исчезнет.  После  того  как  лист
станет сухим,  на нем нерастворимыми в воде чернилами пишут какое-либо
маскировочное послание. Чтобы сокрытое сообщение появилось, надо всего
лишь сунуть лист в любую воду и тут же вытащить его обратно.





     Наличие специальной  аппаратуры  способно резко увеличить деловой
потенциал разведчика в любой сложной игре.
     Официальная продажа  таких  вещичек частично ограничена,  хотя на
диком рынке можно найти как фирменные образцы, так и топорные подделки
отечественных фальсификаторов.
     Они могут иметь значительную цену,  не соответствующие  обещаниям
параметры и расшифрованные данные, играющие на руку вашим противникам,
особенно если поставка сделана по индивидуальному заказу.
     Излишние контакты способны привести к ненужным неприятностям.  Но
очень часто можно обойтись  довольно  примитивными  средствами  вполне
самостоятельного   изготовления.   Другими   поводами   для   подобной
самодеятельности могут служить внезапно  возникающая  необходимость  и
ограниченные возможности финансового или ситуационного рода.
     Схемы представленной ниже спецтехники предложены М.  Шустовым, Г.
Таем   и   прочими   отечественными   и   зарубежными   любителями   и
профессионалами.  (Полезную дополнительную  информацию  на  этот  счет
можно  найти,  к  примеру,  в справочной книге В.И.  Андрианова,  В.А.
Бородина, А.В. Соколова "Шпионские штучки" (Спб. "Лань", 1996).

     
     Рис. 1 - r255.tif

     
     Рис. 2 - r255.tif

     
     Рис. 3 - r256.tif

     
     Рис. 4 - r257.tif

     
     Рис. 5 - r258.tif

     
     Рис. 6 - r259.tif

     
     Рис. 7 - r260.tif

     
     Рис. 8 - r261.tif

     
     Рис. 9 - r262.tif
     Индикаторы для нахождения нужной телефонной линии
     а) на  неоновой  лампе  (трубка  положена  -   горит   в   прямом
направлении  и  не  горит в обратном;  трубка снята - не горит в любом
положении;  вызов - вспышки при противополярности);
     б) на  светодиоде (вспышка при вызове).

     
     Рис. 10 - r263.tif
     Индукционные отводки для телефонной линии
     а) с  использованием  сердечника от ферритовой антенны (катушка -
600 витков ПЭЛ 0,06 мм);
     б) с  использованием  броневого сердечника (при подключении чашки
раздвигают и одна  жила  линии  вставляется  вовнутрь  магнитопровода;
катушка - 600 витков ПЭЛ 0,06 мм).

     
     Рис. 11 - r264.tif
     Схемы последовательных радиожучков
     а) диапазон:  65-108 МГц;  дальность: 10-15 м; L1-8В, 0,5 d=4,L2-
3В, d=0,5;

     
     Рис. 11 - r265.tif
     Схемы последовательных радиожучков (продолжение)
     б) диапазон:  65-108 МГц;  дальность:  до 300 м;  антенна:  кусок
провода 15-60 м, L1 - 2+2В, 0,5 ж 5; L2 - 2В 0,5 поверх L1.

     
     Рис. 12 - r266.tif
     Телефонный радиожучок с кварцевой стабилизацией  частоты,  дающий
излучение лишь при снимании телефонной трубки.
     Диапазон: 65-108 МГц (зависит от частоты кварцевого  резонатора);
дальность: до  600  м;  антенна:  кусок  провода  30-50 см,  свернутый
спирально, L1-7В 0,8 d=8 мм, L1-L2 - 100В 0,1 на МЛТ 0,25 > 100 кОм; 7
витков провода ПЭЛ 0,8 (или аналогичного), диаметр катушки 8 мм.

     
     Рис. 13 - r267.tif
     Схемы простейших радиозакладок (f-66-74 МГц)
     a) L1-6В 0,5 d=4мм или 1,5мм;
     б) L1-15В 0,5 d=4 мм; L2 -100В 0,1 на обломке спички;

     
     Рис. 13 - r268.tif
     Схемы простейших радиозакладок (f-66-74 МГц) (продолжение)
     в) L1-6+6B 0,4 d=4мм.

     
     Рис. 14 - r269.tif
     Схема автоматического   запуска   магнитофона   в  момент  снятия
телефонной трубки

     
     Рис. 15 - r270.tif
     Схема, включающая магнитофон при появлении звуков голоса
     (встраивается в   магнитофон,    врезаясь    в    цепь    питания
(стабилизатора)  двигателя;  "А"  и  "Б"-к  переключателю рода работы,
чтобы на "А" подавался "+" при "воспроизведении" и "перемотке" ,  а на
"Б" - сигнал с выхода усилителя записи.)

     
     Рис. 16 - r271.tif
     Универсальный усилитель низкой частоты,  работающий с микрофонами
и индукционными отводками

     
     Рис. 17 - r272.tif
     Импровизированный "игольчатый" микрофон

     
     Рис. 18 - r273.tif
     Схема электрошокера-парализатора





                     1. Типы  взрывных  устройств
                   [По книге  С.А.  Ивлиева  и  др.
     "Поиск и обезвреживание взрывных устройств" (Москва, 1996).]

     ВУ могут  быть самыми разнообразными как по внешнему виду,  так и
по принципу действия.
     Например, ВУ в виде сумки,  кейса,  чемодана могут взорваться при
попытке сдвинуть их с места, поднять, открыть.
     Взрыв может  произойти  и  в  результате срабатывания какого-либо
механического   или   электромеханического   взрывателя   замедленного
действия,  без непосредственного воздействия на предмет,  по истечении
заданного времени замедления.
     Если ВУ имеет радиовзрыватель, то взрыв также может произойти без
контакта со взрывным устройством в любой момент  времени  по  команде,
переданной по радио.
     Взрыв может быть осуществлен  по  проводам  электровзрывной  цепи
путем подключения какого-либо источника тока.
     Большое распространение     получили     взрывные     устройства,
срабатывающие  при  включении  радиоприемника,  телевизора  или других
предметов  бытовой  техники,   работающих   от   электрической   сети.
Включением   этих   устройств   замыкается   электровзрывная  сеть,  в
результате  чего  срабатывает  электродетонатор  или  электрозапал   и
происходит взрыв заряда ВВ.
     В автомобиле взрывное устройство  может  сработать  при  повороте
ключа зажигания или даже в тот момент,  когда ключ вставляется в замок
зажигания либо включаются потребители энергии (фары, стеклоподъемники,
стеклоочистители и т.д.).
     В автомобиле  взрыватель  может  быть  установлен   в   выхлопной
коллектор   двигателя,  в  глушитель.  При  этом  замыкание  контактов
произойдет   после   нагрева   чувствительных   элементов   взрывателя
(контактов) до определенной температуры.
     Могут использоваться  также   взрывные   устройства   с   часовым
механизмом.   Часы   бывают   механические,   электромеханические  или
электронные. Такие взрывные устройства в состоянии срабатывать в любое
установленное заранее время.

       2. Последовательность обезвреживания взрывных устройств

     Обезвреживание взрывного устройства или локализация взрыва должна
производиться  подготовленными   минерами-подрывниками   или   другими
обученными  специалистами  после  удаления  людей  из  опасной  зоны и
выставления оцепления.
     Если только   предполагается   наличие   во  взрывном  устройстве
радиовзрывателя,  необходимо с помощью специальных механизмов  создать
радиопомехи   в  широком  диапазоне  частот.  Затем,  приблизившись  к
предмету (объекту),  осторожно укрепить на каких-либо выступающих  его
частях веревку,  имеющую на конце крючки,  карабины и т.п.  Из укрытия
(из-за колонны, из колодца) натянуть веревку (линь, провод) и сдвинуть
предмет  с  места.  Все  эти действия должен проводить один человек во
избежание неоправданных  жертв,  в  том  числе  в  результате  разлета
осколков.
     При таком  воздействии   на   взрывное   устройство   срабатывают
натяжные,  обрывные,  разгрузочные,  вибрационные  и  прочие элементы,
приводящие взрыватели в действие.
     Если взрыва   не  произошло,  то  степень  опасности  значительно
уменьшается:  радиовзрыватель  подавлен  поставленными  радиопомехами,
провокация   срабатывания   натяжных,   обрывных  и  других  элементов
взрывателей не дала результата,  что свидетельствует об их  отсутствии
или неработоспособности по каким-либо причинам.
     Кроме того,  во  взрывном   устройстве   могут   находиться   еще
взрыватели,   срабатывающие   от   изменения  магнитного  поля  Земли,
акустического сигнала в определенном  диапазоне  частот,  характерного
запаха  человека  или другого животного,  а также все типы взрывателей
замедленного действия.
     Во взрывном    устройстве,   естественно,   должен   быть   заряд
взрывчатого вещества, запах которого в состоянии обнаружить специально
обученная   собака   миннорозыскной   службы   (МРС)  или  специалист,
использующий достаточно сложную аппаратуру, а именно газоанализатор.
     Поэтому дальнейшие   действия   по   обезвреживанию   ВУ   должны
начинаться с посылки собаки МРС к месту  расположения  подозрительного
предмета.  Обычно собака обучена таким образом, что при обнаружении ВВ
(заряда ВВ) она садится рядом с предметом.
     Если обнаружен заряд ВВ и, следовательно, взрывное устройство, то
руководитель  работ  принимает  решение  на  его  обезвреживание   или
уничтожение.   Уничтожение  возможно  в  том  случае,  если  опасность
разрушений  или  повреждений  взрывом  минимальна,  а   потери   людей
полностью исключаются.



     *Для обезвреживания   взрывного  устройства  применяют  различные
средства и способы*.
     Одной из  последних  отечественных  разработок  является комплекс
блокировки взрывных устройств,  в дальнейшем называемый  блокиратором.
Он  устанавливается на защищаемом транспортном средстве и предназначен
для защиты жизни водителя и пассажиров.
     Блокиратор взрывных  устройств перекрывает гарантируемый диапазон
радиочастот,  тем самым блокируя дистанционное управление известных  и
теоретически перспективных разработок систем взрывных устройств.
     Комплекс полностью  автоматизирован.  Это  позволяет  блокиратору
автоматически начинать свою работу и временно задерживать отключение в
интересах обеспечения безопасности выходящих из транспортного средства
пассажиров и водителя,  а также включать затем автосигнализацию. Время
блокировки    отключения    комплекса    пропорционально    расстоянию
безопасности (r 50 м) от автомобиля.
     Принцип действия   комплекса   основан   на   подавлении   работы
приемников подрыва (РВУ) специальными широкополосными сигналами помех,
посылаемыми передатчиком. Диапазон работы обеспечивает подавление всех
известных и перспективных частот дистанционного управления взрывом.
     Для уменьшения неравномерности спектра сигналов  помех  применена
оригинальная  широкополосная  шлейфовая  антенна,  предназначенная для
излучения с металлических поверхностей.
     Комплекс малогабаритен.   Его   эксплуатация   возможна   как   в
стационарном,  так и в мобильном режиме при наличии любых возможностей
электропитания  (под  заказ).  В  мобильном  режиме  возможна стыковка
комплекса с большинством систем охранной сигнализации отечественного и
зарубежного производства.
     Для отдельных видов радиоуправляемых взрывных устройств,  имеющих
низкую  имитостойкость,  не исключен самоподрыв во время его установки
террористом при работающем комплексе блокировки.
     Однако в  зоне  зашумления  перестают  работать  радиоэлектронные
приборы  бытового  назначения  (вещательные   приемники,   телевизоры,
радиостанции в режиме приема, пейджеры и т.п.).
     Ориентировочная цена блокиратора колеблется  в  пределах  700-900
долларов  США  (в  зависимости  от  типа  защищаемого автомобиля,  под
заказ).
     Не рекомендуется  афишировать  факт  установки на свой автомобиль
комплекса блокировки действия взрывных устройств.



     Демаскирующие признаки взрывного устройства  обусловлены  главным
образом следующими факторами:
     - наличием ВВ в конструкции взрывного устройства;
     - наличием     антенны     с    радиоприемным    устройством    у
радиоуправляемого ВУ;
     - наличием    часового   механизма   или   электронного   таймера
(временного взрывателя);
     - наличием проводной линии управления;
     - наличием локально расположенной массы металла;
     - неоднородностями вмещающей среды (нарушение поверхности грунта,
дорожного покрытия,  стены здания,  нарушение цвета растительности или
снежного покрова и т.д.);
     - наличием  теплового  контраста   между   местом   установки   и
окружающим фоном;
     - характерной формой ВУ.
     Взрывное устройство  содержит  как правило от нескольких десятков
граммов до нескольких килограммов ВВ.  Поэтому  ВУ  в  принципе  можно
обнаружить   путем   регистрации   газообразных   испарений  продуктов
медленного   разложения   или   испарения   ВВ.   Регистрация    может
осуществляться с помощью химического, массспектрометрического и других
способов. Концентрация  паров  ВВ  достигает  10-7  -   10-8   г/л   у
поверхности  грунта  над  местом  установки  противотанковой мины (при
положительной температуре), находящейся на глубине 5 см. Вблизи ВУ без
маскирующего  слоя  концентрация  паров  ВВ  может  быть  на несколько
порядков выше.
     Химический способ  обнаружения  ВВ  реализуется   в   аэрозольных
тестах.  Например, отечественный комплект аэрозолей "Expray" (ОСТ-731)
позволяет обнаружить практически все виды ВВ (тротил, тетрил, динамит,
нитроглицерин,  нитроцеллюлозу, оксид пикрина). Наличие того или иного
цвета, который проявляется на тестовой бумаге, позволяет доказать, что
в   проверяемом   объекте   (кейсе,  коробке,  письме)  находится  ВВ.
Проведение полного теста занимает не более минуты.



     Следует отметить,  что в настоящее  время  лучшим  детектором  ВВ
является  собачий  нос.  Специально  обученные  собаки минно-розыскной
службы способны избирательно обнаруживать весьма малые количества  ВВ.
При  этом  заряд  ВВ  может быть в грунте,  багаже пассажиров,  кейсе,
автомобиле  и  т.д.  К  сожалению,  эффективность  поиска  зависит  от
психофизиологического   состояния   собаки.  Собаки  должны  постоянно
тренироваться.  Пропуски в работе или  тренировке  более  1-2  месяцев
недопустимы. При высокой температуре (свыше +25-30 ьC) собаки способны
работать не более 30-40 минут,  а затем требуется  отдых  в  тени  как
минимум в течение 1-2 часов. Желательно, чтобы при поиске ВВ собаку не
отвлекали посторонние люди, шум техники и т.д.
     Обнаружение радиоуправляемых   ВУ   может   осуществляться  путем
использования    метода    нелинейной    радиолокации.    Существующие
отечественные  переносные приборы нелинейной локации "Октава",  "Обь",
"Онега",  а также зарубежные  приборы  предназначены  для  обнаружения
устройств,  содержащих полупроводниковые элементы (транзисторы, диоды,
микросхемы и т.п.) в  своей  конструкции.  Электронная  схема  объекта
поиска  (ВУ)  может находиться как во включенном,  так и в выключенном
состоянии.  С помощью этих приборов  возможно  также  обнаружение  ВУ,
содержащих электронные таймеры (временные взрыватели).
     Объекты поиска  могут  располагаться   в   полупроводящей   среде
(грунте,  воде,  растительности),  а  также  в стенах зданий,  столах,
внутри  автомобилей  и  других  местах.  Поиск  затруднен   только   в
непосредственной   близости  от  ЭВМ,  факсов,  некоторых  современных
телефонов и других устройств, содержащих полупроводниковые радиодетали
в  своей конструкции.  Приборы нелинейной локации состоят из антенного
устройства (на телескопической штанге) и приемо-передающего блока. Для
расширения  тактических  возможностей  прибора в приемном и передающем
устройствах предусмотрена  регулировка  как  чувствительности,  так  и
мощности.  Контроль работоспособности прибора осуществляется с помощью
нелинейного имитатора.
     Приборы нелинейной  локации  работают  как правило в дециметровом
диапазоне радиоволн.  Их характерные  размеры  составляют  0,2-0,4  м,
масса -  до  4-8  кг.  Дальность  обнаружения  ВУ  с радиоэлектронными
устройствами - до 1,5-2  м.  Время  работы  от  автономных  источников
питания - до 4-6 часов.
     Впрочем, необходимо отметить,  что в отдельных  случаях  возможен
подрыв простейших неэкранированных самодельных радиоуправляемых ВУ при
поднесении к ним  вплотную  антенного  устройства  прибора  нелинейной
локации.  За  рубежом выпускаются специальные переносные "уничтожители
бомб" (Bomb Ranger),  подрывающие радиоуправляемые ВУ  путем  быстрого
перебора   возможных   команд   управления  на  расстоянии  до  1  км.
Установленный заранее в охраняемый автомобиль он вызовет подрыв  ВУ  и
спасет жизнь владельца автомобиля.



     Взрывные устройства  с  часовым  замыкателем  (взрывателем) могут
обнаруживаться путем использования портативных  контактных  микрофонов
(фонендоскопов). Эти приборы позволяют снимать акустическую информацию
через стены,  потолки и другие ограждающие конструкции вокруг ВУ.  Для
снижения   уровня   внешних  шумов  датчик  необходимо  закреплять  на
герметике в тех местах ограждающих конструкций, где они тоньше всего и
не очень плотны.
     Проводные линии  управления  ВУ  можно  обнаруживать  в   полевых
условиях  путем применения переносных электромагнитных кабелеискателей
(R-210, Р-480 - США и т.п.). Они включают в себя передающий и приемный
блоки,  закрепляемые на концах несущей штанги длиной  1-1,4м.  Рабочие
частоты 40-100 кГц. Глубина обнаружения находящихся в грунте кабельных
линий управления - до 1 м. Расчет - 1 человек, скорость ведения поиска
- до 2-3 км/ч. Масса приборов - до 4-6 кг.
     Металлические элементы  конструкции  ВУ  могут  обнаруживаться  с
применением переносных и стационарных ("ворота")  металлоискателей.  В
них   используются   два   метода   обнаружения   -  индукционный  или
магнитометрический. Первый обеспечивает обнаружение как цветных, так и
черных  металлов.  Второй  - только черных (сталь и ее сплавы),  но он
более чувствителен, чем первый метод.
     Например, отечественные    индукционные   портативные   детекторы
металлов АКА-7202  (масса  0,4  кг)  и  "СТЕРХ-92АР"  (масса  1,5  кг)
обеспечивают   обнаружение  пистолета  на  расстоянии  до  0,4-0,6  м,
автомата -  до  1-1,2  м.  Более  чувствительный  прибор  "СТЕРХ-92АР"
обеспечивает  кроме  того  селекцию  предметов  на  черные  и  цветные
металлы.  Дальность обнаружения металлических  предметов  в  грунте  и
пресной  воде  практически  такая же,  как и в воздухе.  Отечественный
металлоискатель арочного типа ("ворота"),  марка ОСТ-751,  служит  для
обнаружения  металлических  предметов при проходе через дверной проем,
арочную  перегородку  и  т.д.  Возможна   настройка   чувствительности
непосредственно  на  конкретный предмет (гранату,  пистолет,  холодное
оружие и др.).  Ширина арочного проема 90-120 см.  Прибор предназначен
для  использования  в  банках,  офисах,  таможенных  службах  и других
организациях  для  пресечения  несанкционированного  проноса   оружия,
аппаратуры, взрывных устройств, драгоценных металлов.
     Весьма удобны   и   надежны    в    эксплуатации    феррозондовые
металлоискатели     фирмы     ФЕРСТЕР     (Германия),     использующие
магнитометрический  метод   обнаружения.   Из   наиболее   миниатюрных
зарубежных   индукционных  металлоискателей  следует  отметить  прибор
LBD-105 (США),  предназначенный для быстрого  осмотра  людей,  багажа,
офисной мебели и т.п.  в целях обнаружения ВУ, стрелкового и холодного
оружия.
     Неоднородности вмещающей   среды   в  месте  установки  ВУ  можно
регистрировать   с   помощью   спектрозональных   и    поляризационных
портативных   оптических   приборов.   Подобные   переносные   приборы
используются в  строительстве  для  дистанционного  контроля  качества
различных  конструкций  (железобетонных и металлических балок,  опор и
т.д.).
     В ночное     время     эффективно    применение    малогабаритной
тепловизионной  аппаратуры,  обладающей  разрешающей  способностью   в
десятые доли градуса Цельсия.
     Взрывные устройства,   установленные   в   грунте,   могут   быть
обнаружены также с использованием щупов.  Наконечники щупов необходимо
изготавливать из твердых неметаллических материалов (ситалла и  т.п.),
что  исключит  подрыв  при  использовании  противощупных электрических
замыкателей.
     Характерные признаки   формы   взрывных   устройств   и   оружия,
находящихся  в  багаже,   можно   выявлять,   используя   стационарную
рентгеновскую аппаратуру,  работающую на "проход".  Она используется в
санках, офисах и других местах.
     Необходимо отметить,   что   ни  один  из  рассмотренных  методов
обнаружения не может в полной мере обеспечить  надежность  обнаружения
ВУ.   Целесообразно   комплексно   использовать   методы  и  поисковую
аппаратуру.  Наибольшая безопасность обеспечивается при этом  за  счет
применения телеуправляемой роботизированной техники.




                           [Главы из книги
           А.Е. Тараса "Безопасность бизнесмена и бизнеса"
                           (Минск, 1996).]



     Законодательство разрешает гражданам использовать для  самозащиты
пневматическое  и  газовое  оружие.  На  первое  не требуется никакого
разрешения.  Но и толку от  него  никакого.  Это  игрушка.  На  второе
требуется получить "добро" в милиции. Правда, данное ведомство сделало
все  от  него  зависящее,   чтобы   отбить   желание   обращаться   за
соответствующим   документом.   Но   если   вы  терпеливы,  энергичны,
настойчивы,  не  обращаете  внимание  на  такие  мелочи,  как  хамство
чиновников в мундирах,  их,  мягко говоря,  формализм и глубокую к вам
неприязнь, то в конце-концов, через месяц или два ежедневных усилий вы
получите необходимую бумажку.  И сможете тогда купить газовую "пушку",
точную  копию  боевой  модели.  Скорее  всего,  это  будет   "маузер",
"Вальтер"   или   какой-нибудь   другой   образчик  славной  оружейной
промышленности Германии. Цены для богатых более чем доступные: 200-300
дойчмарок, разве это деньги?
     Вот тут и возникает вопрос: какая вам от газового пистолета (либо
револьвера) польза?  Я выскажусь по данному поводу резко: польза почти
нулевая,  вред очень большой.  Дело в том,  что когда вы  достаете  из
кармана  или  кобуры свое неубойное оружие,  внешне оно выглядит точно
так же, как "настоящее", боевое. Следовательно, любой преступник решит
(и   чисто  технически  будет  вполне  прав),  что  вы  собрались  его
пристрелить. Следовательно, ему не останется ничего другого, кроме как
применить  свое оружие первым (выстрелить,  метнуть нож,  сбить с ног,
наконец).  После этого вы уже не  сможете  ему  доказать,  что  хотели
всего-навсего "взять на испуг", а не калечить и, тем паче, не убивать.
Запомните:  газовое  оружие   в   руках   обороняющегося   провоцирует
преступников на более решительные и жестокие действия.
     Что касается поражающих характеристик,  то они у газового  оружия
крайне  низкие.  Особенно  на  открытом воздухе,  где газ стремительно
рассеивается, и где происходит большинство нападений на бизнесменов. А
в  закрытом  помещении,  отразившись  от стены или от мебели,  газовое
облако действует на стрелявшего не хуже, чем на того, в кого он целил.
Не случайно применение газового оружия в закрытых помещениях запрещено
инструкцией МВД.
     Сказанное мной понимают многие. Поэтому они стремятся обзавестись
"настоящим оружием", например, пистолетом "ТТ" (хоть и старая система,
но неплохая),  "Макаровым" или чешским ЧЗ-85 (очень хорошая машинка) и
т.д.  Что ж,  хороший  пистолет  тем  и  хорош,  что  с  ним  невольно
чувствуешь себя как-то уютнее и спокойнее.  Забываешь даже о том,  что
приобрел его и  носишь  при  себе  совершенно  незаконно.  Впрочем,  я
реалист.  Мне понятны рассуждения вроде такого:  "раз милиция защищать
нас не может и не хочет,  приходится спасать себя самим".  Поговорим о
другом.
     В каких случаях стрелок из пистолета способен использовать его  с
надлежащей   эффективностью?  Специалисты  давно  это  сформулировали.
Прежде всего,  отмечают они,  верх безумия  держать  свое  оружие  про
запас,  на случай нападения,  где-нибудь в ящике стола, в атташе-кейсе
или внутреннем кармане пиджака.  Даже в художественных фильмах, весьма
далеких от правды жизни,  персонажам крайне редко удается своевременно
извлекать пистолет  из  подобных  мест.  В  реальной  действительности
подобная   возможность  вообще  исключена,  ведь  грамотное  нападение
совершается стремительно, внезапно, в самый неподходящий момент.
     Я уже упоминал, что налеты довольно редко происходят в квартире и
на работе.  Обычное мест для них - дорога  туда  либо  обратно.  Иными
словами - на воздухе.  Умеете ли вы стрелять не в тире, а под открытым
небом?  Из неудобного положения, например, сидя или лежа? На бегу? Под
огнем в вашу сторону? По людям, пусть даже преступникам? По движущимся
в различных направлениях "мишеням", в том числе по бегущим на вас?
     Чтобы все   упомянутое   стало   для  вас  возможным,  необходимо
ежедневно (я подчеркиваю, ежедневно) как минимум тридцать минут (лучше
час) уделять тренировке по выхватыванию пистолета оттуда, где он у вас
находится,  и  прицеливанию  в  мишень.  Сначала  мишень  может   быть
неподвижной,   однако   максимум   через   месяц   следует  перейти  к
прицеливанию навскидку  по  мишеням  движущимся.  Роли  таковых  могут
исполнять  домашние  животные  (кошки,  собаки,  птицы),  члены семьи,
сослуживцы,  прохожие. В последнем случае надо быть крайне осторожным,
иначе  дело  может  кончиться  очень  неприятно  для вас.  Лучше всего
ежедневно посещать специально оборудованный тир, если таковой имеется.
Как  бы  там  ни  было,  если вы не разовьете у себя навык мгновенного
выхватывания пистолета и точного наведения его на  цель  по  стволу  в
спокойной  обстановке,  то  в  экстремальных  условиях  у вас заведомо
ничего не получится.
     Необходимо также  не  реже  двух  раз в неделю стрелять из своего
пистолета. Именно из своего, ибо личное оружие обязательно должно быть
пристреляно владельцем.  Число выстрелов за тренировку от 10 (минимум)
до 30 (максимум).  Удовольствие не из дешевых,  ведь один патрон стоит
примерно   доллар.   Стрелковые   упражнения  надо  время  от  времени
усложнять.  Например:  за 6 секунд поразить 5  мишеней,  расположенных
веером  перед  вами  на удалении от 5 до 25 метров.  Или попасть в три
мишени, движущиеся на вас с разного удаления и с разной скоростью.
     Наконец, у  меткого  стрелка  должна  быть  твердая рука и верный
глаз.  Следовательно,  алкоголь в больших дозах,  либо  понемногу,  но
часто,  ночные  посиделки,  даже  сигареты  снайперу  противопоказаны.
Готовы ли вы отказаться от пресловутых "радостей  жизни"  и  ежедневно
тренироваться  ради  того,  чтобы  гарантированно  применить оружие "в
случае чего"? Мне это кажется более чем сомнительным.
     Сделаем вывод: не только газовое, но и боевое оружие дилетанту не
помогут.  В неумелых руках оно годится исключительно для  того,  чтобы
размахивать  им  перед  носом  другого такого же дилетанта.  Еще можно
пугать им подчиненных,  соседей,  членов семьи,  прохожих. Поэтому мой
вам совет:  оставьте оружие профессионалам,  если вы сами не являетесь
таковым.



     По логике  вещей,  профессионалами  должны  быть   телохранители.
Например, в Москве в охране бизнесмена "средней руки" иногда занято до
10 человек,  работающих в три смены. Иными словами, они прикрывают его
круглосуточно.  Во  что  это  обходится,  точно  никто не знает.  Если
исходить из того, что средняя российская зарплата на 1 октября 1995 г.
составляла 145 долларов,  то уже получается не менее 1500 "зеленых". А
ведь тем,  кто охраняет вашу жизнь,  жизнь  родных  и  близких  людей,
платить  надо  много выше среднего уровня.  Видимо поэтому большинство
предпринимателей обходится либо  без  охраны,  либо  нанимает  одного,
максимум, двух человек.
     Стремясь к экономии,  отечественные бизнесмены  используют  своих
"хранителей" многофункционально:  и шоферы они у них,  и посыльные,  и
камердинеры,  и бог знает кто еще.  Сразу скажу, что такой подход чаще
всего  неверен.  Простой  пример:  у  вас двое охранников в автомобиле
вместе с вами.  Вы выходите,  один из них открывает вам дверцу, второй
выключает зажигание и прячет ключи в карман. Секундное дело, но руки и
глаза у обоих заняты.  Этих двух-трех  секунд  вполне  достаточно  для
того, чтобы без всяких помех застрелить и вас, и их. Лично мне хватило
бы на данное мероприятие полторы секунды.
     Эксперты едины    во    мнении,    что   даже   один-единственный
телохранитель способен уберечь  клиента  от  множества  неприятностей,
если он - профессионал.  Правда,  в тех случаях,  когда за бизнесменом
начинают планомерно охотиться другие профессионалы, его шансы остаться
в живых резко снижаются.  Тем не менее,  надежно "закрыть" от киллеров
можно - в принципе - любого клиента.  Однако это требует целой команды
хорошо   подготовленных   специалистов,   систематической  оперативной
работы,  первоклассных технических средств - то  есть,  стоит  больших
денег. Мало  кому  по  карману  содержать  "личную  гвардию"  в  10-20
человек. Подавляющее большинство бизнесменов в странах СНГ и Восточной
Европы старается обходиться не более,  чем  двумя-тремя  "хранителями"
своего тела.
     Если у  вас  один телохранитель,  то лучше все время ходить с ним
вместе.  Если же их у вас два,  то перед тем,  как входить в  подъезд,
необходимо  одного отправить проверить все лестничные клетки.  Неплохо
заранее побеспокоиться и о бронежилетах для всех.
     Открыв небольшую   тайну,   скажу,  что  подавляющее  большинство
заказных  убийств  на  Западе  совершается   снайперами   с   большого
расстояния.  Это  в  первую  очередь объясняется тем,  что за границей
очень хорошо  развита  школа  телохранителей.  И  если  у  нас  убийцы
предпочитают  подъезды,  то  на  Западе телохранители в такой ситуации
мгновенно превратят киллера в решето.
     Обычно бизнесмены сами решают, кому доверить свою жизнь, здоровье
и материальное благополучие. Поэтому надо, чтобы они ориентировались в
проблемах,   связанных  с  "бодигардс"  -  "охраной  тела".  Начнем  с
рассмотрения некоторых распространенных мифов.
     *Миф э 1: Телохранитель - это широкоплечий атлет высокого роста и
с пудовыми кулаками*.
     Да, в  некоторых  видах  охранной  деятельности  (при обеспечении
порядка  на  массовых  мероприятиях,  охране  банков,  офисов,  баров,
магазинов)  требуются  люди,  внушающие  ужас  своей  массой.  Но если
говорить  о  личной  охране,  то  здесь  больше  ценятся  те,  кто  не
выделяется ни внешностью,  ни одеждой,  ни поведением. Гораздо важнее,
чтобы ваши защитники имели голову на плечах и умели  ею  пользоваться.
Ведь  главная  их задача не в том,  чтобы закрывать вас от пуль своими
телами (кстати, никто этого и не станет делать, разве что случайно), а
в   предотвращении   экстремальных   ситуаций  и  в  молниеносных,  но
целесообразных и грамотных  действиях,  если  такие  ситуации  все  же
возникают.
     Безусловно, нет  правил  без  исключений.  Существуют   различные
мотивы  подбора  телохранителей.  Если  они  нужны  вам из соображений
престижа или ради устрашения окружающих,  то высокий роет и вес за 100
кг просто необходимы.  Все же не забывайте, что чем больше мишень, тем
легче в нее попасть.
     *Миф э  2:  Телохранитель должен иметь "черный пояс" в каратэ или
быть чемпионом по кик-боксу*.
     Иметь богатое  спортивное прошлое может быть и приятно для самого
обладателя почетных званий.  Вполне вероятно  также,  что  этим  может
хвастать перед друзьями и прессой его работодатель. Но существуют, как
минимум,  три   довода,   позволяющие   усомниться   в   необходимости
комплектования  своей  "гвардии"  из  бывших  мастеров  кулака и ноги.
Во-первых,  огнестрельное оружие позволяет нападающим  не  вступать  в
физический  контакт  с охраной жертвы.  Во-вторых,  спортивная техника
непригодна   для   реальных   "разборок".   В-третьих,    грош    цена
профессионалу,  если  он сам стремится довести дело до рукопашной.  Он
должен так строить свое поведение,  чтобы у  потенциального  агрессора
начисто пропадало всякое желание нападать.
     Сказанное не отрицает пользу регулярных занятий рукопашным  боем,
особенно,  если  в  процессе их делается акцент на спарринги в жесткий
контакт. Такой тренинг укрепляет у телохранителя чувство уверенности в
себе,   обеспечивает   его   неуязвимость   в  потасовках  с  обычными
хулиганами, поддерживает высокий уровень физической работоспособности.
     *Миф э 3: За плечами телохранителя обязательно должен быть Афган,
Босния или Чечня, на худой конец - служба в спецназе либо десанте*.
     Те, которые так думают,  не понимают, что всякий опыт специфичен.
Умение устраивать засады в горах  или  прыгать  ночью  на  парашюте  в
принципе  не требуется телохранителю.  Многие,  правда,  считают,  что
люди,  прошедшие   через   "мясорубку"   настоящей   войны,   получили
колоссальную психологическую закалку.  Отчасти это верно, но только по
отношению  к  тем,  кто  отправился  на  войну,  имея  соответствующую
подготовку  и  с  убеждением  в  необходимости  личного участия в ней.
Таких,  как известно, было немного и они, как правило, не нанимаются в
телохранители. Скорее могут стать наемными убийцами.
     У остальных военный  опыт  приводит  к  алкоголизму,  наркомании,
неврозам,  депрессии.  Немало  и  тех,  у  кого  просто  "едет крыша".
Отметим,  что  личная  охрана  американских  бизнесменов  никогда   не
рекрутировалась из бывших морских пехотинцев, прошедших через Вьетнам,
хотя кинобоевики упорно обыгрывали такой вариант.
     *Миф э   4:   Самые  лучшие  телохранители  -  бывшие  сотрудники
оперативных подразделений госбезопасности или милиции*.
     Действительно, их  профессиональный  опыт  и  подготовка близки к
тому,  что   требуется   телохранителю   (навыки   слежки,   открытого
наблюдения,  захвата  преступников,  стрельбы,  вождения  автомобиля и
т.д.). К тому же у них сохраняются связи с бывшими сослуживцами.
     Однако кое-какие  прошлые навыки могут оказаться в частной охране
вредными,  например,  привычка  делать  предупредительный  выстрел   в
воздух.   Еще   тяжелее  привыкнуть  к  работе  в  условиях  правового
беспредела.  Так, оружие телохранитель (если у него есть разрешение на
его  ношение)  может применять,  как и все граждане,  только в случаях
необходимой обороны.  Допрашивать задержанных вообще не имеет никакого
права,  ведь с точки зрения закона он - частное лицо. Меры физического
воздействия с целью защиты клиента легко квалифицировать как  злостное
хулиганство,    а    преследование   преступника   -   как   нарушение
неприкосновенности жилища,  вторжение в частную жизнь граждан  и  тому
подобное. Ведь многие юристы служат не богине справедливости Фемиде, а
тем, кто больше платит.



     Поговорим теперь   об   отборе,   подготовке   и    использовании
телохранителей.  Начнем  с  отбора.  Дело  в  том,  что  одной  только
подготовки,  даже по обширной  программе  и  у  хороших  специалистов,
недостаточно,   чтобы   превратить   в   профессионала   человека,  не
обладающего  необходимыми  психофизиологическими,  психологическими  и
моральными  качествами.  Конечно,  жизнь сама все расставляет по своим
местам, но если действовать по науке, то очень многое о человеке можно
узнать заранее, подвергая его специальным испытаниям - тестам.
     *Среди психофизиологических качеств* следует назвать  такие,  как
быстроту     реакции,     хорошую     ориентацию    в    пространстве,
координированность движений,  способность концентрировать внимание  на
избранном объекте невзирая на помехи,  чувство времени,  эмоциональную
устойчивость,   способность   продуктивно   работать   в    стрессовой
обстановке,  умение быстро переключаться с одного вида деятельности на
другой.
     *Среди требующихся  психологических  качеств  личности*  наиболее
важными  являются  следующие:  интеллектуальное   развитие   не   ниже
статистической   нормы;   способность   быстро   решать   всевозможные
головоломки; умение извлекать уроки из прошлого (учиться на ошибках) и
предвидеть    последствия    различных    событий;   умение   поэтапно
анализировать и планировать конкретные операции;  стремление  доводить
до конца начатые дела; независимость от давления извне.
     *Изучая кандидатов  в  телохранители,  необходимо  сразу  отсеять
психически   больных   людей*,   а   также   психопатов,   невротиков,
акцентуированных лиц,  просто нервных. И еще наркоманов и алкоголиков.
Не  подходят  люди  с так называемым "тяжелым" характером,  обидчивые,
злопамятные, слишком много о себе воображающие, болтливые...
     *О моральной  стороне*  человеческой  природы  написано множество
томов.  Поэтому ограничусь одной фразой:  идеальный телохранитель тот,
кто порядочен,  честен,  верен долгу перед своей семьей и перед шефом,
имеет нормальную цель в жизни.  Короче,  достаточно серьезный человек,
не  способный  ради  сиюминутных  выгод  или  сомнительных предложений
предать доверившихся ему людей,  бросаться в авантюры, жертвовать тем,
что у него есть.  Так что изучение личности кандидатов в телохранители
- это не прихоть.  Если охрана призвана играть более  серьезную  роль,
чем служить декорацией,  к ее подбору надо относиться ответственно, не
жалея   времени   и   средств,    используя    для    этого    опытных
специалистов-практиков.
     *Немного о возрасте,  образовании,  профессии*.  Слишком  молодые
люди   плохи   отсутствием   житейского   опыта,   часто   встречающей
морально-психологической  незрелостью,  недостаточным  образовательным
уровнем.  Слишком  старых  трудно  переучивать,  далеко  не  всегда им
удается  найти  нужный  тон  во  взаимоотношениях  с  бизнесменом,  на
которого  они  работают.  Наиболее  приемлемый возраст для начинающего
телохранителя колеблется в интервале от  25  до  30  лет.  Образование
желательно  высшее  или  среднее специальное.  Недоучки опасны во всех
отношениях.  Что касается прежних занятий,  то наилучшие телохранители
вербуются  среди бывших младших офицеров и прапорщиков армии,  а также
среди  гражданских  лиц,  имеющих  высшее  или   среднее   специальное
образование и хорошую физическую подготовку.
     Подобрав команду (пусть в составе всего трех человек), необходимо
ее   тщательно  подготовить.  Среди  обязательных  предметов  числятся
следующие:  отработка штатных ситуаций;  криминальная и  экстремальная
психология;   владение   оружием  и  подручными  средствами;  вождение
автомобиля;  рукопашный бой,  медицинская  подготовка,  общефизическая
подготовка.
     *"Штатные" ситуации* - это типовые  схемы  действий  в  различных
вариантах  нападения  на  бизнесмена,  известные  по практике охранной
деятельности,  а также по материалам прессы. Каждая из них обязательно
должна быть проиграна в "натуре",  на реальных объектах.  Нападение на
улице,  возле входа в подъезд,  в подъезде,  на лестничной площадке, в
коридоре,  в лифте, на даче, на пляже, во время массового мероприятия.
С  применением  огнестрельного  оружия,   электрошокового,   газового,
холодного. С помощью автомобиля и без него. С целью захвата, нанесения
телесных повреждений,  убийства.  Снайперская засада в удобном  месте,
налет во время поездки в автомобиле за городом, взрыв или поджог...
     Надо отработать действия телохранителя в каждом  таком  случае  -
где стоять,  сидеть,  идти,  куда смотреть,  куда бежать,  прыгать или
ползти,  за  что  прятаться  самому  и  где  укрывать   клиента,   чем
отбиваться,  что  делать  в  первые  секунды  нападения,  что  потом -
вопросов для практического изучения здесь очень  много.  Именно  такой
подготовки    катастрофически    не    хватает    почти    всем    тем
соотечественникам,  которые гордо именуют себя "телохранителями". Даже
грамотно  разработать  маршрут  движения  по  городу  и  то  не могут.
Надеются на свое умение махать ногами и стрелять,  не понимая,  что  в
телохранителя стреляют первого, только потом - в охраняемое им лицо.
     *Криминальная психология* - это,  прежде всего,  умение  выявлять
среди   окружающих   тех  людей,  которые  представляют  потенциальную
опасность,  чтобы "читать" скрываемые ими намерения  по  мимике  лица,
выражению глаз,  микродвижениям и позам тела.  На языке профессионалов
такое умение  называется  "получение  криминально-значимой  информации
посредством  визуальной  психодиагностики".  К  данному  разделу тесно
примыкают два других - мотивация поведения преступников  и  психология
поведения жертвы.
     *Экстремальная психология*  -  это  теория  поведения  в  сложных
обстоятельствах,  связанных с повышенным риском,  с угрозой для жизни.
Одним из ее  разделов  является  конфликтология  -  методы  анализа  и
оптимального   решения  всевозможных  конфликтов.  А  в  совокупности,
криминальная и экстремальная  психология  является  целой  наукой,  со
своими   авторитетами,   твердо   установленными  закономерностями,  с
обширной литературой. К сожалению, у наших телохранителей, и не только
у них, в этой области подготовка практически нулевая.
     *Стрелковая подготовка* необходима хотя бы уже потому,  что любое
серьезное нападение осуществляется с помощью огнестрельного оружия, от
пистолетов до автоматических винтовок  и  гранатометов.  Мало  кто  из
телохранителей  в  России  имеет  разрешение  на обладание пистолетом.
Однако факты свидетельствуют,  что  несмотря  на  это,  в  большинстве
случаев  им  есть из чего стрелять.  Да и смешно было бы противостоять
вооруженным до зубов преступникам с дубинкой или газовым баллончиком в
руках.  Нелепость  подобного  соотношения вооружения не понимают разве
что некоторые законодатели.
     Но, имея оружие, мало кто из охраны умеет профессионально владеть
им:  стрелять на ходу, в падении, в темноте "на звук", по движущимся в
разных направлениях  нескольким  мишеням,  из  едущего автомобиля,  не
целясь.  Трюкам такого рода  (которые  вовсе  и  не  трюки,  а  навыки
снайперской  стрельбы)  можно и нужно учиться.  А потом систематически
поддерживать эти навыки.  Полезно также научиться работать с ножом  (в
том  числе  метать его в цель),  с дубинкой,  с длинной палкой,  уметь
превращать в оружие любые оказавшиеся под рукой предметы.
     *Вождение автомобиля*    -   вещь   абсолютно   необходимая   для
телохранителя.  Трудно найти сколько-нибудь солидного  бизнесмена,  не
имеющего автомобиля,  пусть зарегистрированного на фирму, а не на него
лично. Лучше, если водитель одновременно является и сотрудником личной
охраны.  Одним из сотрудников,  поскольку нужны,  как минимум, еще два
таких же сотрудника.  Все они должны быть обучены  искусству  вождения
автомобиля в экстремальных условиях: езда по бездорожью, по лестницам,
прыжки на автомобиле через препятствия, техника столкновений с другими
машинами, техника переворачивания...
     *Общефизическая подготовка* телохранителя тоже важна  -  как  для
развития  функциональных  качеств,  так  и  для  поддержания  "формы".
Относительно первого ясно  без  доказательств,  что  хороший  охранник
должен обладать выносливостью,  быстротой реакции,  ловкостью,  должен
отлично ориентироваться в пространстве,  уметь падать и прыгать, резко
срываться  с места,  точно попадать в цель,  метая,  скажем камень или
бутылку. Вполне могут потребоваться и более специфические способности:
пройти  по  узкой  жердочке,  залезть  на  большую высоту или прыгнуть
оттуда,  спуститься с крыши многоэтажки по канату, перелезть с балкона
на  балкон,  проплыть  несколько десятков метров в одежде,  нырнуть на
глубину и поднять оттуда груз, или еще что-нибудь в том же духе.
     А "форма"...  Скажу только одно: пропитый и прокуренный "амбал" с
дряблыми  мышцами  -  слишком   слабая   гарантия   безопасности   для
предпринимателя.  При прочих равных условиях всегда надежнее тот,  кто
ведет трезвую жизнь и ежедневно тренируется..
     И еще:  внешний  вид  и  манеры.  Немного  стоит тот охранник,  у
которого буквально на лбу написано,  кто он такой,  который  не  умеет
себя вести ни во время протокольного мероприятия,  ни в ресторане,  ни
на улице. В конце-концов, по тем людям, которые на вас работают, судят
о хозяине. А в мире бизнеса репутация имеет первостепенное значение.
     *Рукопашному бою* за короткий промежуток времени научить  нельзя.
При   ежедневном   интенсивном  тренинге  под  руководством  толкового
инструктора потребуется не менее трех месяцев,  чтобы более или  менее
надежно освоить азы. В обычных условиях (2-3 тренировки в неделю) надо
не менее года.  Причем  изучать  надо  именно  рукопашный  бой,  а  не
какое-либо  спортивное  единоборство  вроде бокса,  вольной борьбы или
таэквондо.
     *Значение медицинской   подготовки*   заключается   в   том,  что
телохранитель,  умеющий оказать доврачебную помощь в случаях пулевых и
ножевых ранений,  механических травм,  поражений огнем и электрическим
током,  пищевых отравлений и прочих напастей,  во много  раз  повышает
шансы  клиента  (и  свои собственные) на выживание.  Слишком много еще
бывает случаев,  когда человек погибает лишь потому,  что некому  было
сделать  массаж  сердца,  укол сосудорасширяющего препарата,  наложить
жгут на кровоточащую конечность.  Кстати,  у вас в автомобиле, а также
на   рабочем   месте  должна  быть  хорошо  укомплектованная  аптечка,
необходимо иметь популярный медицинский справочник по оказанию  первой
помощи,  телохранители  должны  знать  вашу группу крови,  показания и
противопоказания к различным лекарствам.
     Разумеется, личную   охрану   можно   учить  и  многому  другому,
например,  работе  на   компьютерах,   уголовному   праву,   искусству
оформления  интерьеров,  но  все  это  не имеет прямого отношения к их
непосредственным обязанностям "хранителей тела".
     В этой   связи   *возникают  два  вопроса*:  где  можно  повышать
квалификацию  личной  охраны,  и  сколько  это   удовольствие   стоит?
Сложившейся   системы   подготовки   и   переподготовки  охранников  и
телохранителей в СНГ пока  не  существует.  Отдельные  охранные  фирмы
пытаются  этим  заниматься  наряду  со своей основной работой,  однако
качество обучения, несмотря на интригующую рекламу, является низким. В
Москве,   Санкт-Петероурге,   Риге   подготовка   телохранителей   уже
поставлена  "на  поток",  но  не  все  могут  "оторвать  от  себя"  на
полтора-два-три месяца своих защитников,  чтобы послать их на учебу. К
тому же "серийное производство" тем и плохо,  что исключает  "штучный"
(индивидуальный) подход в обучении.
     *Теперь о  ценах*.  Стандартный  трехнедельный  курс  обучения  в
Латвийском филиале Международной Академии безопасности (г. Рига) стоит
2,5 тысячи долларов,  с проживанием и питанием.  Стоимость пятидневных
инструктивно-методических   семинаров   по  рукопашному  бою,  огневой
подготовке,  тактике  действий  телохранителей,  проводимых  в  Москве
Международной  контртеррористической  тренинговой ассоциацией - по 500
долларов за каждый семинар, не считая питания и проживания.



     Вопросы использования телохранителей  -  дело  тонкое.  Настоящий
профессионал сам все знает, но такие профессионалы - большая редкость.
Дадим один  пример,  правда,  не  из  области  личной  охраны,  однако
позволяющий провести кое-какие параллели.
     Предположим, вам надо организовать перевозку автомобилем  большой
суммы  денег  в  СКВ.  И у вас есть опасения,  что по дороге на машину
могут напасть.  Как лучше поступить?  Один вариант таков:  посадить  в
салон  автомобиля  четырех  мускулистых  парней,  к  тому  же до зубов
вооруженных,  а в сопровождение им  дать  вторую  машину  с  такой  же
командой.  Конечно,  это  даст определенную гарантию безопасности.  Но
степень ее будет  зависеть  не  от  количества  сопровождающих,  а  от
размеров  перевозимой  суммы.  Если она в самом деле очень велика,  то
преступники без колебаний перестреляют всех пассажиров,  сколько бы их
не  было.  Нетрудно  видеть,  что  для  этого  им надо знать,  сколько
долларов лежит в кейсе, когда и по какой дороге их повезут.
     Соответственно, грамотная  защита  перевозимых  ценностей  должна
обеспечиваться не взводом "качков с пушками", а умелой дезинформацией.
Ее необходимо аккуратно "вложить в уши" тем, кому надо. Аккуратно, это
значит как бы нечаянно,  а вовсе не сообщением "по секрету". Для этого
надо знать тех, кому ее "вводить". А машина с деньгами поедет в другое
время по другому маршруту и,  вполне вероятно, даже по другому адресу.
И   без  всяких  охранников,  привлекающих  повышенное  внимание.  Это
называется оперативным обеспечением мероприятия.
     Нечто подобное  должно  иметь  место  и в личной охране:  широкое
использование дезинформации;  постоянное изменение маршрутов движений;
знание  всех  сотрудников  фирмы,  друзей,  знакомых  и  родственников
(именно отсюда исходят сведения для организации "наездов"); творческое
использование   технических   средств   наблюдения,   прослушивания  и
сигнализации; проверка партнеров и клиентов, их связей с "миром теней"
(конечно  же,  негласная),  изучение общей криминогенной обстановки по
месту расположения фирмы,  месту проживания бизнесмена и в  той  сфере
бизнеса,  в  которой  он  зарабатывает  деньги  - все это и еще многое
другое должны делать ваши телохранители.
     К сожалению,  в 95%  случаев дело выглядит совершенно по-другому.
Дадим слово одному бывшему телохранителю:  "Поначалу  все  шефы  любят
много обещать: мы купим тебе квартиру, продукты и вещи будешь покупать
у нас гораздо дешевле,  чем в  магазинах,  дадим  бронежилет,  автомат
"Узи",  застрахуем, полгода будешь проводить за границей... Только все
это туфта. Шеф думает только о себе и если тебя не дай бог подстрелят,
тебя  на  следующий  день  все  забудут  - инвалиды в охране никому не
нужны,  и никакой страховки конечно же не было.  И бронежилет получить
проблема, и оружие,  и мини-радиостанцию.  Короче,  - отношение как  к
тупому быку, который непонятно ради чего должен рисковать своей шкурой
заслоняя хозяев.
     90% времени приходится исполнять обязанности слуги: подать папку,
открыть  дверь,  загрузить  компьютеры  в  свободное  от работы время,
подежурить в квартире любовницы шефа,  пока она в отсутствии,  - а  то
вдруг кто-нибудь украдет все то,  что он ей надарил. Еще телохранитель
может понадобиться, чтобы дать в морду кому-нибудь на улице, если шефу
что-то не так сказали.  Толстым и лысым,  низкорослым и пожилым шефам,
кроме того очень нравится командовать здоровенными парнями, им приятен
страх, который они вызывают у простых людей"...
     По мнению международных экспертов,  все  должно  быть  совершенно
иначе.  Крайне важно,  чтобы телохранитель и его шеф находились вместе
как можно больше времени.  А потому самый лучший телохранитель  -  это
секретарь,  референт,  переводчик,  организатор  или исполнитель особо
важных  дел,  то  есть  доверенное  лицо  в  бизнесе  и  просто   друг
охраняемого.  И  деньги ему надо платить не за то,  что дал кому-то по
зубам,  а за недопущение  стычек,  за  предотвращение  конфликтов,  за
разрешение их цивилизованными методами.
     Кроме того,  важно, чтобы телохранитель был лично заинтересован в
процветании той фирмы,  в которой он работает. Для этого надо дать ему
возможность  вложить  в  нее  свои  средства  (может  быть,  авансом),
получать   процент   прибыли   от   тех   или   иных  сделок,  словом,
заинтересовать  экономически.  И  помнить,   что   умный,   способный,
честолюбивый  человек (а дураки,  как известно,  хуже врагов) не может
довольствоваться перспективой  всю  жизнь  оставаться  телохранителем.
Заинтересовать  его в верности вам и вашему бизнесу можно только через
выдвижение привлекательной  цели.  Короче  говоря,  необходимо,  чтобы
охраняя вас, он одновременно охранял и свое будущее!



     История использования  для  охраны  человека  различных  животных
столь же древняя,  как и история человеческого общества. Как известно,
"гуси Рим спасли" и было это за 390 лет до начала христианской эры!  В
качестве  сторожей  выступали  змеи  и  крокодилы,  ядовитые  пауки  и
скорпионы, барсы и рыси, дикие кабаны и камышовые коты... За прошедшие
века стало ясно,  что нет лучше друга и защитника  для  человека,  чем
собака.
     Конечно, речь не идет о милых песиках,  типа болонки  или  таксы,
радостно  кидающихся  на  шею  любому,  кто вошел в квартиру,  умильно
виляющих хвостом при виде косточки в чужих руках.  Нет,  собаки должны
быть  хорошо  дрессированы  специально  для сторожевой службы.  В этом
случае собакам  нет  равных  по  надежности  и  эффективности:  их  не
подкупишь  и не запугаешь,  не застанешь врасплох.  Они менее уязвимы,
чем люди,  более живучи,  более агрессивны.  Собака вся,  от морды  до
хвоста, представляет собой живое оружие.
     Почему же,  в  таком  случае,  они  довольно  редко  используются
бизнесменами для охраны?  Ответ прост:  с ними много возни. Собак надо
специально тренировать,  кормить,  выгуливать, лечить. Все это требует
времени,   денег,   терпения.   И   соответствующих   знаний,   ибо  в
использовании собак  есть  ряд  тонкостей,  которые  обязательно  надо
учитывать:
     1. Собака  -  живое  существо,  очень  умное   и   эмоциональное.
Обзаводясь собакой,  вы берете на себя ответственность за нее.  Только
законченные подонки  способны  выгнать  за  дверь  своего  друга,  чья
преданность   обусловлена  самой  природой.  В  то  же  время  держать
серьезную собаку для серьезных целей,  не имея для этого ни знаний, ни
денег, ни времени могут только несерьезные люди.
     2. Поэтому тот человек,  который  будет  играть  роль  проводника
служебной   собаки   (вы,  кто-то  из  членов  семьи,  ваш  сотрудник)
обязательно должен  пройти  курс  подготовки  и  провести  дрессировку
собаки.   Квалифицированным  является  лишь  такое  животное,  которое
научилось правильно действовать в экстремальных  ситуациях  нападения.
Это   значит:   оно  умеет  распознавать  опасность,  умеет  атаковать
вооруженных преступников, умеет защищаться от них, повинуется командам
своего проводника.
     3. Собака  должна  содержаться  в  надлежащих   условиях.   Равно
недопустимы ее изнеживание,  и чрезмерная суровость.  Так, собаку надо
кормить 2 раза в день,  основная пища - овсянка,  сваренная без  соли,
несколько  мозговых  косточек  и  время  от времени - консервированный
собачий корм  с  витаминами  и  микроэлементами.  Собаку  имеет  право
кормить только один человек, ее проводник. Из чужих рук дрессированная
собака пищу брать не должна.  Недопустимо кормление сторожевой  собаки
конфетами, колбасой и прочими "человеческими" лакомствами.
     4. Собака   должна   регулярно   тренироваться    в    специально
оборудованном  месте:  бегать,  прыгать  через  препятствия,  ползать,
нападать на чучело, на человека, изображающего преступника, ускользать
от   наведенного   на   нее  ствола  пистолета,  ружья,  автомата,  от
петли-удавки.  Необходимо  систематически  развивать   у   нее   такое
качество, как "злостность".
     5. Категорически запрещается бить собаку,  орать на  нее,  топать
ногами, отбирать пищу, лезть к ней в пьяном виде, шутя натравливать на
людей (собака шуток не понимает), издеваться над ней (вот издевку, как
ни странно,  собака понимает очень хорошо).  Намордник следует одевать
лишь там,  где это необходимо.  Поводок должен быть коротким  и  легко
сниматься, чтобы ваш защитник не мог зацепиться за какой-либо предмет.
     6. По своей конституции (телосложению) собаки разделяются на  три
основных типа:  тяжелые (например,  доги, ротвейлеры, черные терьеры),
средние   (например,   немецкие   овчарки,   ризеншнауцеры,    крупные
доберманы), легкие (например, эрдельтерьеры, боксеры, питбультерьеры).
Не вдаваясь в дискуссии, скажу, что наиболее оптимальный вариант - это
средний  тип.  А  самая  лучшая  собака  -  овчарка  или лайка,  с той
оговоркой, что овчарка злее, а лайка умнее.
     7. Есть ряд "модных" пород собак.  Это собаки-убийцы,  специально
используемые  для  так  называемых  "собачьих  боев":  питбультерьеры,
стафордширы,  крупные  доги.  Все  они  чрезвычайно агрессивны,  плохо
управляемы,  эмоционально легко возбудимые,  потому - очень опасны.  В
первую  очередь  для  самих  владельцев.  Уже известно немало случаев,
когда те же питбультерьеры,  обидевшись на хозяина,  нападали на  него
спящего и убивали. Эти песики запросто перекусывают кость руки, не то,
что  горло.  И  если  только  почувствуют,  что  хозяин  их   немножко
побаивается, как моментально возьмут инициативу в свои руки. Поэтому в
цивилизованных странах таких собак либо запрещают  держать  в  частных
жилищах,  либо требуют регистрации в полиции и регулярных свидетельств
о благонамеренном поведении.
     Не рекомендую    держать   для   охраны   колли,   чья   глупость
общеизвестна.  Вообще,  сторожевая собака должна быть умна,  послушна,
преданна,  легко и высоко прыгать,  иметь здоровые острые зубы, мощные
лапы, сильное дыхание, широкую грудь, короткий хвост. Кастрация боевой
собаки недопустима.
     8. Основные варианты атаки собак "среднего"  типа  заключаются  в
прыжке  на  плечи,  в  ударе  всеми  четырьмя  лапами  (либо грудью) в
поясницу, а также в ударе головой под колени. Как только человек упал,
собака пускает в ход зубы. Дрессированные собаки умеют кусать за ноги,
пах,  лицо,  горло. Особенно важно выработать у собак рефлекс укуса за
ту  руку,  которая  держит оружие и нападать не только сзади или сбоку
(так поступают все необученные собаки),  но и спереди.  Все виды  атак
необходимо отработать с животным до полного автоматизма действий.
     Методы дрессуры в настоящее время достигли высокого совершенства,
остановка за малым - за тем,  чтобы делать это.  К сожалению,  слишком
часто дело не идет дальше покупки породистого животного,  с прекрасной
родословной.  Межу  тем,  для  сторожевой  службы  внешний вид собаки,
состояние ее тела  и  психики  гораздо  важнее  всех  этих  паспортов,
нередко   "липовых".   Не   будьте  излишне  доверчивы,  обратитесь  к
специалистам именно в области применения собак,  и покупайте  животное
только  вместе  с  ними.  Не  всегда  самая  дорогая  собака  и  самая
породистая  -  самая  лучшая.  Слишком  породистые  животные   -   это
вырождение вида,  а не его расцвет.  Вам ведь зверь нужен для боя,  не
для конкурса на самый красивый хвост, не так ли?
     9. В каких местах собака может быть рядом с вами? В очень многих:
в квартире,  в офисе,  на даче,  в  автомобиле,  в  гараже,  во  время
прогулки  с  женой  или с детьми.  Разве что в театре и в ресторане ее
присутствие неуместно...



     Взрыв в офисе,  в подъезде,  в автомобиле, в магазине стал частью
повседневной  жизни  наших  городов.  Например,  в  Москве в 93-м году
произошло  более  300  взрывов  гранат,  мин,  взрывных  устройств.  В
Санкт-Петербурге  еще  больше.  Результат  -  десятки убитых и раненых
людей, значительный материальный ущерб.
     Арсенал преступников   достаточно  разнообразен:  от  самодельных
взрывных  устройств  до   гранат   Ф-1,   РГД-5,   противопехотных   и
противотанковых мин. Всего два примера простейших приемов минирования:
гранату Ф-1  (или  связку  гранат  РГД-5)  прикрепляют  к  автомобилю,
стоящему  в  гараже  либо  на открытой стоянке.  В кольцо чеки гранаты
продевают леску,  конец которой прикреплен к неподвижному предмету  за
автомобилем.  Машина  начинает движение,  чека выдергивается,  граната
взрывается.  Другой прием:  винную бутылку  заполняют  высокооктановым
бензином и закупоривают пробкой,  покрытой составом,  чувствительным к
трению. При вытягивании пробки происходит воспламенение, следует взрыв
и  тот,  кто  это делал,  погибает от страшного ожога.  Отмечены также
случаи,  когда преступники взрывали радиоуправляемые мины,  однако чем
сложнее  способ  взрыва,  тем больше он требует времени на подготовку,
дороже  обходится  и  выше  вероятность  неудачи   из-за   технических
неполадок.
     Чаще всего  объектом  подрыва  является  личный   или   служебный
автомобиль  бизнесмена.  Основные места для минирования в машине,  это
сиденье водителя,  днище под  передними  сиденьями,  бензобак,  капот.
Значительно  реже  заряд  взрывчатки  помещают в багажник,  в колесные
ниши,  под задние сиденья,  в "бардачок" и другие места.  Кроме  того,
мина  большой  мощности может устанавливаться неподалеку от автомобиля
либо в соседней машине. Но в этом случае требуется управление ею извне
по  радио или подрыв с помощью электрического провода.  Иными словами,
преступник должен находиться неподалеку от места преступления и  вести
наблюдение, что всегда считается нежелательным.
     *Настораживающими вас признаками должны служить следующие*:
     - появление какой-то новой детали внутри или снаружи автомобиля;
     - остатки упаковочных материалов,  изоляционной  ленты,  обрезков
проводов неподалеку от автомобиля или внутри салона;
     - натянутая леска,  проволока,  провод,  шнур,  веревка,  так или
иначе прикрепленная к любой части автомобиля;
     - чужая сумка, коробка, чемодан, пакет, сверток внутри салона или
в багажнике;
     - появившиеся уже после  парковки  машины  пакеты  из-под  соков,
молока,   консервные  банки,  свертки,  коробки  и  т.п.  недалеко  от
автомобиля;
     Оставляя машину  на  длительный  срок без присмотра (на ночь,  на
время работы,  на даче и т.д.), хотя бы даже и в "надежном" гараже или
на  охраняемой  автостоянке,  используйте так называемые "контрольки".
Это значит,  что между крыльями и капотом, на дверях салона, на крышке
горловины  бензобака,  между  сиденьем  и рамой надо приклеивать узкие
полоски липкой ленты (изоляционной,  лейкопластыря,  бумажной и  т.д.)
под  цвет данного участка.  Вместо ленточек можно приклеивать волоски,
обломки  спичек.  Если  эта  "сигнализация"  окажется  нарушенной,  не
заводите  машину,  ничего не открывайте в ней (например,  не пытайтесь
поднять подушку сиденья) до тех  пор,  пока  не  проведете  тщательный
визуальный  осмотр.  В  случае  возникновения подозрений обращайтесь к
специалистам-саперам.
     Необходимо также установить за правило,  чтобы машину обследовал,
открывал, заводил, разогревал и трогал с места кто-то другой, а не вы.
Этим  "другим"  может быть ваш личный шофер,  телохранитель,  служащий
автостоянки либо кооперативного гаража, сосед по дому.
     Современные взрывчатые   вещества   (типа   советского  пластита,
чехословацкого семтекса) и средства взрывания позволяют  специалистам,
имеющим   армейскую  подготовку,  конструировать  самые  разнообразные
миниатюрные мины-ловушки.  К счастью, среди преступников таковых мало.
Поэтому   они   применят  в  большинстве  случаев  кустарные  взрывные
устройства.
     Для покушения  на  бизнесмена  может  использоваться  и  почтовый
канал.  Взрывные устройства,  направляемые в письмах,  используются не
для убийства,  а для устрашения получателя. Ведь 20-40 граммовый заряд
взрывчатки может  нанести,  как  правило,  только  ранение  и  вызвать
сильный  шок.  Для  уничтожения  применяют  не  письма,  а бандероли и
посылки.
     Взрывные устройства,  которые закладывают в конверты, бандероли и
посылки могут быть  как  мгновенного,  так  и  замедленного  действия.
Взрыватели   мгновенного   действия  вызывают  срабатывание  взрывного
устройства  при  нажатии,  ударе,   прокалывании,   снятии   нагрузки,
разрушении элементов  конструкции,  просвечивании  ярким светом и т.д.
Например,  взрывные устройства,  действующие по  принципу  музыкальной
открытки,   взрываются   при   их  раскрытии.  Взрывные  устройства  в
бандеролях срабатывают либо при открывании,  либо при попытке  извлечь
книгу  или коробку из упаковки.  Взрывные устройства в посылках обычно
срабатывают при вскрытии крышки посылочного ящика.
     Взрыватели замедленного    действия    по    истечении    заранее
установленного срока (от нескольких часов до  нескольких  суток)  либо
вызывают взрыв,  либо приводят взрывное устройство в боевое положение,
после чего срабатывание взрывного устройства  происходит  мгновенно  в
случае внешнего воздействия на него.
     Однако, независимо  от  типа  взрывателя  и взрывного устройства,
*письма,  бандероли и посылки с подобной начинкой  неизбежно  обладают
рядом  признаков*,  по  которым  можно их отличить от обычных почтовых
отправлений.  Эти признаки делятся на основные  и  вспомогательные.  К
числу основных признаков относят следующие:
     - толщина письма от 3-х мм и выше,  при этом в нем есть отдельные
утолщения;
     - смещение центра тяжести письма (пакета) к одной из его сторон;
     - наличие в конверте перемещающихся предметов или порошкообразных
материалов;
     - наличие во вложении металлических либо пластмассовых предметов;
     - наличие  на  конверте масляных пятен,  проколов,  металлических
кнопок, полосок и т.д.;
     - наличие   необычного   запаха   (миндаля,   марципана,   жженой
пластмассы и других);
     - "тикание"  в  бандеролях и посылках часового механизма (один из
самых простых и распространенных взрывателей делают с помощью обычного
будильника);
     - в  конвертах  и   пакетах,   в   посылочных   ящиках   при   их
переворачивании слышен шорох пересыпающегося порошка.
     Наличие хотя бы одного из перечисленных признаков  (а  тем  более
сразу   нескольких)  позволяет  предполагать  присутствие  в  почтовом
отправлении взрывной "начинки".
     *К числу вспомогательных признаков относятся*:
     - особо тщательная заделка  письма,  бандероли,  посылки,  в  том
числе липкой лентой, бумажными полосами и т. д.;
     - наличие надписей типа "лично в руки",  "вскрыть только  лично",
"вручить    лично",    "секретно",   "только   директору   (владельцу,
председателю)" и т. д.;
     - отсутствие    обратного   адреса   или   фамилии   отправителя,
неразборчивое их написание, явно вымышленный адрес;
     - самодельная нестандартная упаковка.
     С учетом сказанного,  следуйте трем  обязательным  правилам:  всю
почту должен вскрывать только секретарь,  но не вы;  делать это надо в
специально отведенном помещении подальше от вашего кабинета;  в случае
получения   подозрительной   корреспонденции   секретарь   должен  вас
информировать, а вам надо решить, стоит ли вызывать специалистов.
     Сказанное здесь  о  посторонних предметах,  остатках изоляции,  о
проводах и прочем, имеет значение и в отношении офиса, квартиры, дачи,
подъезда,  даже  обычной  входной  двери,  если  только вы этой дверью
пользуетесь систематически.  Кроме того,  обращайте внимание на  следы
ремонтных  работ,  свежую окраску (особенно отдельных участков) стен и
полов,  на перестановку мебели,  на появление любых  новых  предметов.
Например,  200  грамм  пластита  нетрудно  спрятать в корпус факса,  в
цветочный горшок,  в радиотелефонную трубку.  Но этих двухсот  граммов
более  чем достаточно,  чтобы автомобиль типа "Вольво" вместе со всеми
пассажирами превратился в пылающий катафалк,  а в комнате площадью  24
квадратных метра не осталось ни одного живого человека!



     - избегайте выходить из дома и офиса в одиночку.  Передвигаться в
группе всегда безопаснее;
     - старайтесь,  по возможности,  избегать постоянных маршрутов при
поездках на работу и с нее.  Опыт показывает,  что преступники  обычно
держат свою жертву под наблюдением,  чтобы выбрать наиболее подходящее
место и время для нападения.  Выберите хотя бы  4  разных  маршрута  и
пользуйтесь  ими  по  принципу случайного выбора.  Непредсказуемость -
ваша лучшая защита;
     - старайтесь  ездить  по  оживленным дорогам,  избегать пустынных
улочек и проселочных дорог.  Проверяйте, не преследует ли вас какой-то
автомобиль.  При  движении  по  многорядному  шоссе  занимайте место в
среднем ряду,  чтобы не дать  возможности  прижать  ваш  автомобиль  к
обочине;
     - когда  едете  в  машине,  закрывайте  все  двери   на   кнопки,
оставляйте открытым лишь ветровик. Если вас остановили (например, ГАИ)
не выходите из машины, во всяком случае, если место пустынное, а время
суток  темное.  Машину держите на передаче,  чтобы иметь возможность в
любой момент дать газ;
     - если  вам  кажется,  что  за  вами  следят  из  другой  машины,
проверьте это, внезапно меняя направление движения или скорость, резко
перестраиваясь  из  ряда  в  ряд  и  неожиданными остановками.  Если в
подозрительной   машине   преступники,   им    придется    реагировать
соответствующим образом;
     - если ваши  подозрения  оправдываются,  немедленно  свяжитесь  с
милицией или со своей собственной "бригадой быстрого реагирования". На
этот случай у вас обязательно должен иметься радиотелефон. Этот прибор
не роскошь,  а жизненно важное средство безопасности и бизнеса.  Нашли
деньги на автомобиль, найдите и на радиотелефон;
     - если машина с преступниками перегородила вам путь (чаще всего в
таких случаях используют "ножницы" - одна  машина  перекрывает  дорогу
спереди,   другая  -  сзади),  на  большой  скорости  бейте  в  место,
соответствующее одной трети машины  (сразу  за  передним  колесом  или
перед  задним).  Ни в коем случае не останавливайтесь.  Если местность
позволяет, уходите на скорости по обочине, по бездорожью;
     - если  преступник  готовится  начать  стрельбу  по вашей машине,
увеличивайте скорость и направьте автомобиль прямо на  него.  От  пуль
укройтесь пригнувшись ниже лобового стекла,  но продолжая держать руль
руками в избранном направлении.  Сбив преступника машиной,  не тратьте
время на выяснение того,  в каком он состоянии. Немедленно уезжайте на
максимальной скорости;
     - необходимо, чтобы все места в автомобиле (а не только передние)
были снабжены поясами безопасности.  Желательно также  укрепить  салон
изнутри  дополнительным  ребром  жесткости,  исключающим сплющивание в
случаях падения под откос  или  тарана.  Вообще  говоря,  при  желании
автомобиль  любой  марки  можно с помощью умельцев так оборудовать для
"войны на дорогах", что он станет своего рода "броненосным крейсером".
И тогда вы сметете с пути любой автомобиль, кто бы им ни управлял;
     - если в  салон  автомобиля  забросили  бутылку  с  зажигательной
смесью,  не останавливайтесь.  Температура внутри салона не поднимется
выше 55-60 градусов,  а такая температура  не  опасна  для  жизни.  На
предельной  скорости  уходите  от  места  происшествия  - ведь бутылку
бросили именно для того,  чтобы "выкурить" вас из машины.  Если  хотят
уничтожить,  то бросают гранату типа Ф-1,  а сам преступник немедленно
скрывается.



     - *Приезжайте на работу и уезжайте с нее в  разное  время*.  Если
возможно,  пользуйтесь разными входами в здание.  Если вход в ваш офис
только один, обеспечьте постоянный контроль за ним;
     - *Избегайте  приезжать  в  офис  в часы,  когда там никого нет*.
Остерегайтесь любого  постороннего  человека,  без  дела  слоняющегося
возле  здания или по коридору.  Требуйте от своей охраны выяснения его
личности;
     - *Не стойте бесцельно возле окон*. Не располагайте рядом с окном
свое рабочее место,  если его можно просматривать с улицы,  из окон (в
том числе чердачных) ближайших зданий;
     - *Относитесь  осторожно  к  просьбам  о   фотографировании   или
интервью  у  себя дома*.  Предварительно определите время визита,  его
продолжительность,  что вы позволите сфотографировать или что скажете.
На  время  визита обеспечьте себя охраной.  Не впускайте большее число
людей,  чем это было оговорено заранее.  В любом случае их  не  должно
быть более двух;
     - *Сделайте так,  чтобы ваши дети ходили в школу  и  из  школы  в
сопровождении взрослых*. Предупредите учителей, что ваших детей ни при
каких обстоятельствах не могут встречать и отвозить домой  посторонние
люди, в том числе женщины;
     - *Исходите  всегда  из  того  предположения,  что  ваш   телефон
прослушивается*.  Будьте очень осторожны в телефонных разговорах.  Это
касается как служебных телефонов,  так и  домашнего,  а  тем  более  -
радиотелефона;
     - *Предупредите родных и близких вам людей, чтобы они не впускали
в дом незнакомых*, никому не сообщали сведений о вашей деятельности, о
местонахождении  (помимо  офиса,  разумеется),  не  принимали  никаких
пакетов или предметов, если не знают, от кого они присланы;
     - *Относитесь настороженно к лицам,  выдающим себя за  работников
городских  коммунальных  служб,  за  ремонтных  рабочих,  за розничных
торговцев*,  вдруг появившихся в районе вашего  дома  или  офиса  (был
случай,  когда  убийца  замаскировался под уличного продавца фруктов и
установил свою тележку  рядом  с  домом  жертвы.  Бизнесмен  вышел  из
подъезда и получил несколько пуль);
     - *Не обсуждайте планы деловых поездок и встреч  при  посторонних
людях*. Не  ведите  деловых  переговоров  по  телефону  в  присутствии
посетителей.  Если вам в это  время  звонят,  предлагайте  перезвонить
позже;
     - *Поддерживайте  дружеские  отношения  с  соседями,  особенно  с
пожилыми*. Именно пенсионеры (особенно женщины),  проводящие целые дни
на  лавочках  возле   дома,   могут   первыми   вас   предупредить   о
подозрительных  типах,  о том,  что кто-то интересуется вами или вашей
машиной, вашими детьми, пытался проникнуть в квартиру и т.д.;
     - *Обсудите  с семьей,  что они должны делать в том случае,  если
вас или кого-то из них похитят*.  Сделайте  необходимые  финансовые  и
иные распоряжения на этот случай, укажите номера телефонов, по которым
надо звонить,  вообще разработайте свой "кризисный  план".  Если  беду
ждешь, от нее меньше вреда, когда она приходит.



     *Рэкет или   вымогательство*   -   самый   распространенный   вид
преступлений,  совершаемых в отношении бизнесменов.  Лучшая защита  от
вымогательства   -  глубокая  нищета.  Но  поскольку  бизнесмен  -  по
определению - к нищим не относится,  рассмотрим  *два  наиболее  часто
встречающихся вида рэкета*.
     1. Предпринимателя шантажируют тем, что угрожают предать огласке,
либо  направить  в  "компетентные  органы"  какие-то  опасные для него
сведения.  Например,  сообщить в налоговую полицию о том, что он скрыл
от   нее   весьма  значительную  сумму.  Или  купил  ворованный  товар
(варианты:  бракованный,  с вышедшим сроком годности, некондиционный и
т.д.).
     В этом случае,  прежде всего,  надо тянуть время, чтобы выяснить,
насколько осведомлен шантажист об истинном состоянии ваших дел и чтобы
попытаться обнаружить его (с помощью специалистов, конечно). Например,
вы можете страстно и аргументировано доказывать,  что требуемая от вас
сумма немыслимо велика,  у вас таких денег просто нет, по крайней мере
в  данный  момент.  Вы  можете  также  оттягивать  выплату  под вполне
разумным и убедительным предлогом проверки серьезности тех документов,
которые есть у шантажиста.
     Вполне вероятно,  что сведения эти не так уж и страшны,  а  то  и
вовсе  ошибочны.  Ни  в  коем  случае  не  спешите  радостно  сообщать
анонимному врагу о том,  что его угрозы вам  не  страшны.  Используйте
информационное   преимущество   в   своих   интересах.   Как  минимум,
записывайте свои  телефонные  переговоры  на  магнитофон.  Современная
техника  позволяет  со  100%  точностью отождествлять голоса людей,  к
каким бы ухищрениям они ни прибегали для маскировки.
     Еще одно хорошее средство защиты - дезинформация. Если у Вас есть
хотя бы тень подозрения,  что  кто-то  охотится  за  компрометирующими
материалами - пойдите охотнику навстречу.  Организуйте распространение
соответствующих слухов,  заготовьте фальшивые документы и сделайте все
необходимое  для  того,  чтобы  "желающие" смогли ознакомиться с ними.
Пустив в обращение "дезу",  вы скорее всего  спровоцируете  вымогателя
сделать  первый  шаг.  Тем  самым вы сможете установить его личность и
получите оружие против него,  ничем  не  рискуя  сами.  Общее  правило
гласит, что шантажисты чаще всего находятся среди ближайшего окружения
бизнесмена.  Это могут быть  бывшие  сотрудники,  партнеры  по  делам,
соседи,  даже  родственники,  недовольные  вами  и  своими заработками
служащие, вспомогательный персонал.
     2. Второй  вариант,  - это когда преступники требуют им заплатить
за то,  чтобы они  не  сделали  чего-нибудь  плохого  бизнесмену,  его
близким,  его фирме. Популярные варианты в данном случае - навязывание
"охраны",  или предложение "взять на работу" с установлением огромного
оклада. В том, что возникает подобная ситуация, нередко бывает виноват
сам бизнесмен.  Например, в тех случаях, когда он обращается к "крутым
парням"  для выколачивания долгов у злостных неплательщиков.  И тогда,
когда  он  просит  "авторитетов"  преступного  мира  уладить  какое-то
щекотливое дело, не вполне нормальное с точки зрения закона.
     Если на вас "наезжает" крупная преступная  группировка,  то  она,
скорее всего,  ограничится наложением "дани", не превышающей 10-15-20%
от  дохода  предприятия.  А  вот  небольшие  банды  ("беспредельщики")
стремятся   к  максимальному  выбиванию  средств,  вплоть  до  полного
разорения предпринимателя. Но и в том, и в другом случае следует иметь
в виду,  что  выполнение  первоначальных  требований  (часто  довольно
умеренных) - это лишь способ попасть на крючок.  Будут потом все новые
суммы и все новые условия.
     Как противостоять?  Ну, прежде всего тоже надо максимально тянуть
время,  чтобы  выяснить,  кто  на  вас  "наезжает",  и  какова степень
реальной  угрозы.  Обязательно  надо  обратиться  к  специалистам   из
охранной  фирмы,  либо  в милицию - это вам лучше решать самому,  кому
довериться.  Самый эффективный способ противодействия рэкетирам -  это
встречный рэкет. Но он же самый сложный и дорогостоящий. Гораздо проще
ограничиться   решительным   отказом,   подкрепленным    демонстрацией
коллективной   силы:  появлением  на  горизонте  милиции,  охранников,
телохранителей,  осуществлением комплекса мер безопасности,  выявление
источников  информации  (кто  на  вас  "стучит"),  поиском  подслушек,
разработкой плана действий ваших  родных  и  сотрудников  в  кризисной
ситуации  (захват  заложников,  похищение  детей,  акции  устрашения).
Кризисный план поможет максимально смягчить удар, если он все же будет
нанесен, избежать паники, непродуманных решений.



     Среди всех видов преступлений в СНГ почти 70%  составляют кражи и
грабежи  имущества  граждан   (включая,   естественно,   бизнесменов),
собственности   предприятий   и  фирм.  И  каждое  третье  среди  этих
имущественных преступлений было буквально спровоцировано  беспечностью
владельцев либо недостаточной защищенностью мест хранения материальных
ценностей.  С учетом сказанного я хочу рассказать о мерах превентивной
защиты автомобиля, квартиры, коттеджа.
     *Автомашина*. Самая надежная мера предосторожности - не оставлять
ее без  присмотра  ни  на  минуту.  Например,  если  у вас есть личная
охрана,  пусть кто-то из телохранителей всегда находится в  автомобиле
или  рядом  с ним.  Всем остальным бизнесменам следует во всех случаях
оставлять машину в таком месте,  чтобы она  была  под  присмотром:  на
охраняемой стоянке, в поле зрения из окна офиса (квартиры), в гараже.
     Напомню о таких прозаических вещах (Увы!  Почему-то о них слишком
часто забывают),  как закрытые окна и запертые двери, как отсутствие в
салоне ценных вещей,  портфелей и верхней одежды (воры обычно  думают,
что  там лежат деньги),  как ключ зажигания,  спрятанный в ваш карман.
Вернувшись к машине после отлучки,  загляните внутрь, убедитесь, что в
ней   никого   нет,  никто  не  спрятался  на  полу  между  сиденьями.
Осмотритесь вокруг,  нет ли неподалеку подозрительной компании. Иногда
преступники "ловят" владельцев автомобилей именно в тот момент,  когда
они открывают  двери,  чтобы  сесть  за  руль.  Особенно,  если  место
безлюдное или темное.
     Скептики говорят,  что опытного угонщика  не  остановит  охранное
устройство,  однако  на  то  они  и  скептики.  Статистика  утверждает
обратное.  Попытка угона в восьми случаях из десяти  провалится,  если
машина   оборудована   так   называемыми   "секретками",  отключающими
аккумулятор,  стопорящими  рулевую  колонку  и  педаль   сцепления   и
соединенными,  к тому же, с сигнальной сиреной. Конечно, стопроцентной
гарантии  не  даст  никто  (тем  более,  что  техническая  одаренность
некоторых  преступников  вызывает  восхищение),  но все же специальные
защелки на ветровики, на передние и задние стекла, хитроумные стопоры,
противоугонные  устройства  заставляют  нервничать  даже самых опытных
профессионалов.  Они тоже люди,  работать в условиях стресса не любят,
поэтому выберут себе более доступный объект, чем ваша "тачка".
     Не поленитесь нанести специальную  маркировку  на  фары,  стекла,
колеса,   радиоприемник  и  магнитофон.  Эта  маркировка  должна  быть
достаточно изящной с точки зрения эстетики,  и в то же время заметной:
не так уж много найдется преступников,  способных позариться на вещь с
клеймом владельца.  Очень хорошее средство защиты - специальная пленка
АРМ   360,   устанавливаемая   на  автомобильные  стекла,  значительно
увеличивающие время и резко сужающая возможности проникновения  внутрь
салона с помощью ломика ил молотка.
     Еще одно   важное   обстоятельство   -   автомобиль    необходимо
застраховать. Давно ведь сказано, что "скупой платит дважды". Если вам
суждено  потерять  своего  "стального  коня",  вы  сможете   хотя   бы
компенсировать стоимость утраты.



     *Помещение*. Для  того,  чтобы  ограбить  квартиру  или  коттедж,
преступнику надо попасть внутрь помещения.  Путей проникновения  всего
три:   двери,   окна,   балконы  (более  экзотические  способы,  вроде
пробивания стен направленным взрывом, оставим киношникам).
     Итак, *дверь*:
     - Дверь следует делать из прочного материала, толщиной не менее 7
см. Неплохо покрыть ее металлическим листом. Металл надо замаскировать
краской,  синтетикой,  рейками,  кожезаменителем,  чтобы не привлекать
лишнего  внимания.  Еще  лучше  ставить  двойную  дверь  -  первую  из
древесины, вторую - металлическую.
     - В современных квартирах прочная дверь легко выбивается вместе с
дверной коробкой.  Поэтому важно  основательно  укрепить  эту  коробку
металлическими штырями, забетонированными в стенах, потолке и полу.
     - Обязательное требование  -  дверь  должна  открываться  наружу,
такую  уже  не  выбьешь.  Если  на нее поставить к тому же,  накладной
замок, то его труднее будет взломать, отжать ригель замка.
     - Усильте  створ  двери  и  дверной коробки угольниками из стали,
чтобы преступник не мог вставить в щель ломик или топор.
     - Ставьте  на  дверь  не  менее  двух  надежных  замков различной
конструкции (например,  один цилиндровый,  а другой  сувальдный).  Они
должны быть удалены друг от друга не менее, чем на 35-40 см.
     - Замки  надо  ставить  с  механизмами  высокой   секретности   и
прочности, например, с крестообразными ключами или с цифровым набором.
Прежде,  чем устанавливать  замки  на  дверь,  дайте  их  слесарю  (не
знающему   вас   и  вашей  квартиры)  и  попросите  немного  усложнить
конфигурацию ключа,  а также доработать замки.  Это делается просто: в
цилиндровый   замок   вводится   упор,   в   сувальдный  вворачивается
дополнительный винт.
     - Наружную  дверь  обязательно  оснастите  прочной  металлической
цепочкой и хотя бы одним надежным засовом.  Смотровой глазок  в  двери
тоже не помешает,  однако лучше было бы заказать какому-нибудь умельцу
простейший  перископ.  Тогда  можно  будет   обозревать   сверху   все
пространство  перед  дверью,  не  рискуя  получить  пулю  в глаз через
смотровое отверстие.
     - Желательно, чтобы запирающее устройство наружной двери не имело
отверстия для  ключа  (например,  электронный  замок  с  дистанционным
кодовым  управлением и автономной системой питания).  Дело в том,  что
некоторые преступники впрыскивают через скважину кислоту,  разъедающую
устройство механического замка.
     - Используйте метод дезинформации.  Чтобы  ввести  преступника  в
заблуждение, укрепите где-нибудь в верхней половине створа двери любой
датчик от старой сигнализации.  Кроме того, цветным проводом проведите
линию  из квартиры в распределительную коробку на лестничной площадке,
ничего к этому проводу  не  присоединяя.  Наличие  датчика  и  провода
заставит  квартирного  вора  задуматься.  Он ведь знает,  что в момент
разрушения провода или датчика сигнализация все равно сработает.
     *Окна* являются  наиболее уязвимым местом любого помещения.  Ведь
стекло  легко  разбить,  выдавить,  вырезать  стеклорезом.  Что  можно
посоветовать  для защиты окон?  Во-первых,  на окна в жилых помещениях
ставьте  только  двойные  рамы   повышенной   прочности.   Если   окна
открываются,  позаботьтесь о том,  чтобы у них были крепкие и надежные
шпингалеты.
     Во-вторых, окна  первых  этажей,  остекленные  двери  балконов  и
лоджий, окна, расположенные рядом с пожарной лестницей, с деревьями, с
крышей примыкающих зданий, необходимо прикрывать решетками. Чтобы ваше
жилище  не  походило  на  тюрьму,   приобретайте   решетки   необычной
конфигурации, выполненные с учетом эстетических требований.
     В-третьих, используйте защитные пленки,  наклеиваемые  на  стекла
(типа Брюксафоль, АРМ 360 и др.). Такие пленки удерживают разбитое или
треснувшее стекло  в  раме,  не  давая  ему  разлететься  на  осколки.
Благодаря  этому  оно  продолжает  выполнять  свои  защитные  функции,
препятствуя  проникновению  снаружи.  Кстати,  стекло   с   нанесенной
защитной  пленкой  успешно  противостоит  взрывной  волне и бутылкам с
зажигательной смесью ("коктейлем Молотова").
     В-четвертых, каждое окно просматриваемое извне (с улицы,  из окон
зданий расположенных напротив) закрывайте  изнутри  плотными  шторами.
Отсутствие  информации  о  том,  что  происходит  в помещении,  тоже в
какой-то мере защищает жилище от нежелательных визитов.
     *Балконы*, независимо     от    этажа,    необходимо    ограждать
декоративными решетками достаточной прочности.  Лучше всего превращать
их в остекленные лоджии,  а стекла оклеивать защитной пленкой (срок ее
эксплуатации в наших погодных условиях не менее 10 лет).



     *Сигнализация*. Целесообразно заключить договор с местным отделом
милиции  о технической охране квартиры.  Если это по каким-то причинам
невозможно  (или  нежелательно),  оснастите   свое   жилище   системой
сигнализации. Именно системой, то есть целым комплексом приборов, а не
одним-единственным устройством на двери.
     Сигнальные устройства  для  охраны  имеются  на  рынке  в большом
выборе.  Среди них детекторы разбития стекол,  взлома дверей и замков,
передвижения людей внутри помещений,  перемещений различных предметов.
Датчики  сигнальных  приборов  можно  размещать  на   дверях,   окнах,
решетках,  стенах,  потолке,  мебели, устанавливать их в осветительной
арматуре,  бытовых электроприборах. В зависимости от принципа действия
они     бывают     инфракрасными,    сейсмическими,    микроволновыми,
акустическими,      телевизионными,      комплексными       (например,
инфракрасно-микроволновыми).     Наиболее    эффективны    комплексные
устройства, но они и дороже других.
     Решая вопрос   об  установке  охранной  сигнализации,  необходимо
прежде задуматься о том, кому эта система будет сигнализировать? Вашей
охране, милиции,  соседям,  случайным  прохожим?  Или  непосредственно
владельцу с помощью радиопередатчика?  Второй вопрос того же рода: как
скоро  на  место  происшествия  сможет  явиться ваша "бригада быстрого
реагирования"?  И  есть  ли  вообще  у  вас  специалисты  для  встречи
непрошеных гостей?
     *Сейфы*. На тот случай,  если ничто не уберегло вашу квартиру или
офис  от  вторжения  преступников,  необходимо  иметь последнюю "линию
обороны" - надежные сейфы.  В стационарных и  стенных  сейфах  следует
хранить  деньги,  ценные  бумаги,  документы,  драгоценности,  оружие,
другие предметы, которые вы хотите сохранить неприкосновенными.
     На рынке  можно сейчас найти сейфы разных размеров и конструкций:
от   самых   маленьких   (16,5х37,5х35   см),   предназначенных    для
бетонирования   в  стене,  до  бронированных  шкафов  (140х65х60  см).
Наиболее предпочтительны те модели, которые имеет запирающие механизмы
с   микропроцессорным   управлением   и  автономной  системой  питания
(гарантийный  срок  службы  без  перезарядки  батарей  -  2  года)   и
обеспечивают защиту не только от взлома, но и от пожара.



     Похищение бизнесмена или членов его семьи с целью выкупа является
одним из распространенных видов уголовных  преступлений.  Кроме  того,
стать  заложником  можно  случайно,  например,  при  ограблении банка,
магазина,  квартиры,  загородного коттеджа,  либо  при  захвате  людей
террористами.
     Заложник - это человек, который находится во власти преступников.
Сказанное  не  значит,  что  он  вообще  лишен возможности бороться за
благополучное разрешение той ситуации,  в которой оказался.  Напротив,
от  его  поведения  зависит  многое.  Выбор правильной линии поведения
требует наличия соответствующих знаний.  Таковыми должны обладать  как
сам бизнесмен, так и все члены его семьи.
     Классическая схема   похищения   выглядит   следующим    образом:
планирование,   подготовка,   захват,  укрытие  заложника,  общение  и
допросы,  ведение  переговоров,  получение  выкупа,  освобождение  или
убийство жертвы.
     *На этапе   планирования*   преступники   намечают   объект   для
похищения, сумму предполагаемого выкупа, участников операции, наиболее
подходящие места для похищения, ведения переговоров, получения выкупа.
Наиболее   важными   моментами   этапа   планирования   являются   два
взаимосвязанных:  выбор подходящей жертвы и определение суммы  выкупа.
Самый большой выкуп нашего времени составил 60 миллионов долларов.  Он
был уплачен преступникам в 1975 году в Аргентине за освобождение  двух
братьев  Борн.  Самый  большой из известных выкупов в нашей стране был
уплачен банде Якшиянца (5 человек), захватившей в декабре 1989 года 30
школьников вместе с учительницей - 3 миллиона долларов.
     Не всегда в бизнесе похищение связано с  выкупом.  Нередко  таким
способом  пытаются  получить  какую-то  важную  информацию,  заставить
бизнесмена пойти на нежелательное для него сотрудничество,  отказаться
от реализации намеченных планов и т.д.
     Превентивные меры защиты бизнесмена  на  этом  этапе  сводятся  к
осуществлению комплекса общих мер безопасности.  Особое значение среди
них имеют сокрытие информации о  своем  благосостоянии,  маскировка  и
дезинформация, наличие личной охраны, проведение оперативной работы по
выявлению потенциальных налетчиков.
     *На этапе   подготовки*   преступники  уделяют  большое  внимание
детальному изучению образа жизни намеченной ими жертвы (и всех  членов
его семьи),  о тех местах, где он чаще всего бывает, о предпринимаемых
им мерах безопасности.  Они проводят  тщательное  изучение  местности,
уточняют маршруты движения между домом,  работой,  другими посещаемыми
местами,  выясняют расположение помещений в квартире или офисе, сектор
обзора  из  окон  и  т.д.  Так,  накануне похищения одного московского
бизнесмена он заметил,  что в течение нескольких  дней  по  дороге  на
работу его обгоняла одна и та же иномарка,  которая потом долгое время
находилась на стоянке  возле  его  офиса.  Люди  оттуда  не  выходили,
продолжая оставаться на своих местах.  Заметил,  но не придал значения
увиденному, а службы безопасности у него не было.
     Изучают преступники   и   близких   друзей,   деловых  партнеров,
приближенных сотрудников бизнесмена.  Это делается для определения тех
лиц,  которые  могут  оказаться  полезными  при  ведении  переговоров.
Уточняют их имена и фамилии,  адреса проживания,  квартирные телефоны,
марки  и регистрационные номера личных автомобилей,  приметы внешности
для быстрого и точного опознания.
     Меры защиты на этом этапе аналогичны предыдущим, с той оговоркой,
что еще большее значение имеет оперативная работа службы безопасности.
При  наличии  квалифицированных сотрудников в ее штате они обязательно
определят ведение слежки,  повышенное внимание к бизнесмену, его семье
и фирме. На то они и профессионалы.
     *Захват* является центральной частью  операции.  Анализ  подобных
акций,  имевших  место  на  Западе,  показал,  что 90%  всех похищений
бизнесменов происходит в тот момент,  когда жертва находится в пути на
работу или с работы,  недалеко от квартиры либо офиса.  Иными словами,
для захвата избирают  обычно  такое  место,  где  невозможно  изменить
маршрут движения, даже если удается менять время приезда и отъезда.
     Судя по рассказам бывших жертв и  участников,  типовая  акция  по
захвату   осуществляется   следующим  образом.  Один  из  преступников
докладывает по радио или телефону о  том,  что  объект  покинул  место
работы  (или  квартиру),  другой  преступник сообщает,  что автомашина
объекта приближается  к  намеченному  пункту.  Здесь  улицу  блокируют
специально   подстроенным  автомобильным  инцидентом  или  перекрывают
"внезапно сломавшимся" автофургоном (грузовиком).
     Сам захват  производится  в тот момент,  когда автомашина объекта
останавливается у искусственно созданного препятствия.  Здесь вступает
в дело группа захвата,  которая может скрываться в автомобиле,  едущем
за машиной объекта,  маскироваться среди пешеходов или же находиться в
автофургоне,  блокировавшем  улицу.  На  открытых  дорогах  за городом
преступники выступают в роли сотрудников ГАИ,  дорожных рабочих и т.д.
Если имеется охрана,  ее расстреливают,  нейтрализуют электрошокерами,
выводят из строя газовым оружием,  дубинками.  Независимо от того,  на
каком  автомобиле увозят жертву с места события (ее собственном или на
машине преступников) через несколько километров транспортное  средство
меняют на другое.
     Похищение из дома - более сложная операция,  так  как  связана  с
необходимостью проникновения в квартиру.  Для этого преступники обычно
маскируются под работников  коммунальных,  бытовых,  ремонтных  служб,
сотрудников  телеграфа,  милиционеров.  Еще  более  трудным  считается
похищение из внутренних помещений офиса,  особенно,  если там  имеется
охрана,   предусмотрена  блокировка  дверей,  есть  сигнализация.
     Как показывает практика,  захват часто производится тогда,  когда
объект   выходит  из  подъезда  дома  (офиса),  направляясь  к  своему
автомобилю,  либо наоборот, выходя из автомобиля и направляется к себе
домой (в офис).
     При организации  операций  по  захвату,   преступники   стараются
использовать  в  своих интересах устойчивые привычки поведения объекта
похищения.  Например,  один из петербургских бизнесменов, похищенный с
целью  выкупа,  в обеденное время вместе со своей секретаршей (бывшей,
кстати сказать,  его любовницей)  посещал  один  и  тот  же  ресторан,
расположенный неподалеку от офиса. Вдвоем их и похитили. Другой объект
имел  привычку  подолгу  задерживаться  на  работе  вечером,  а  потом
покидать здание через запасной выход,  ведущий в тихий переулок.  Этим
воспользовались преступники,  сумевшие схватить его и увезти так,  что
абсолютно  никто  ничего не заметил.  Есть случаи захвата бизнесменов,
имевших привычку ежедневно рано утром делать физзарядку на  спортивной
площадке соседней школы.  Там их и брали, прямо в спортивном костюме и
кроссовках.
     Помимо привычек   своих   жертв,   преступники   стараются  также
использовать любые обстоятельства,  помогающие  им  выиграть  время  и
оттянуть  момент обнаружения факта похищения.  Например,  в Москве был
случай,  когда жена  бизнесмена  ушла  из  дома  вместе  с  дочкой  по
магазинам,  а сам он предупредил ее, что после работы намерен посетить
спортивный зал. Между теми телефон прослушивался. В итоге в спортивном
клубе  никто  не обратил внимание на его отсутствие,  а дома хватились
только через три часа.  Этого времени  преступникам  было  достаточно,
чтобы надежно спрятать свою жертву.
     В большинстве   случаев    тщательно    спланированные,    хорошо
подготовленные   операции   по   похищению  людей  носят  быстротечный
характер.  Так,  итальянские террористы из "Красных бригад"  несколько
месяцев  готовили  похищение  премьер-министра  Альдо Моро,  а на саму
операцию им понадобилась всего лишь одна минута.
     Главную роль  в нейтрализации попыток захвата бизнесмена призвана
играть личная охрана. Имеется в виду ее работа по заранее отработанным
типовым  схемам,  включающим  грамотное прикрытие клиента,  постоянную
готовность  к  неожиданному  нападению  (в  том  числе  с  применением
огнестрельного  оружия),  использование  дополнительных средств защиты
(светозвуковых гранат, собак, сигнализации и др.).



     В момент  захвата  преступники   действуют   бесцеремонно,   даже
жестоко.  Нередко жертву лишают сознания ударом по голове, либо вводят
объекту сильнодействующие  медицинские  препараты.  Делается  это  для
того,  чтобы объект не сопротивлялся, не пытался убежать, не привлекал
внимание посторонних людей и не мог понять,  куда его везут.  Для  тех
людей,  которые  плохо  владеют  своими  эмоциями,  наркотики в данном
случае  могут  оказаться  полезными,  так  как  они  снижают   степень
психического потрясения, успокаивают нервную систему, погружают в сон.
     Однако гораздо чаще жертву просто лишают  возможности  двигаться,
используя  для этого веревку или наручники.  Кроме того,  глаза скорее
всего залепят лейкопластырем,  рот тоже.  Сама транспортировка с места
захвата  вряд ли будет комфортной:  обычно объект лежит на полу салона
автомобиля под ногами похитителей,  либо находится в багажнике.  Может
он  очутиться  в  мешке,  в  ящике,  бочке,  даже  в большом чемодане.
Некоторых людей в подобном положении охватывает приступ  клаустрофобии
(боязнь   замкнутого   пространства),   сопровождающийся   неприятными
физиологическими ощущениями.   Необходимо   стойко    перенести    все
неудобства, памятуя, что ситуация эта временная, максимум на несколько
часов.
     Реальная, в    подавляющем   большинстве   случаев   единственная
возможность вырваться из рук преступников бывает  в  начальной  стадии
захвата,   в   момент   нападения.   Неожиданные  для  преступников  и
решительные  действия  объекта  нападения  (особенно  в  сочетании   с
аналогичными действиями охраны) способны привести к спасению. В России
и за рубежом отмечен ряд  случаев,  когда  объекты  нападения  сбивали
машиной  нескольких  преступников,  открывали огонь из личного оружия,
прорывались сквозь открытый по ним огонь и оставались в живых. Но если
безуспешность  попыток  освободиться  очевидна,  лучше  не прибегать к
крайним мерам, а действовать сообразно складывающимся обстоятельствам.
     С момента  захвата  необходимо  контролировать  свои  действия  и
фиксировать  все,  что   может   способствовать   освобождению.   Надо
постараться  запомнить  все  детали  транспортировки  с места захвата:
время  и  скорость  движения,  подъемы  и  спуски,  крутые   повороты,
остановки у светофоров,  железнодорожные переезды,  характерные звуки.
По возможности все эти сведения надо  постараться  передать  тем,  кто
ведет переговоры с преступниками - намеком или запиской.  Понятно, что
такого случая может не представиться,  но в любом случае помните,  что
даже  самая  незначительная  информация о "тюрьме для заложника" может
оказаться  полезной  для  его  освобождения,  поимки   и   изобличения
преступников.  Надо  запоминать  все  увиденное  и услышанное за время
пребывания в заключении - расположение  окон,  дверей,  лестниц,  цвет
обоев,  специфические  запахи,  не  говоря уже о голосах,  внешности и
манерах  самих  преступников.  Необходимо  также   наблюдать   за   их
поведением,  внимательно  слушать  разговоры  между собой,  запоминать
распределение ролей.  Короче,  составлять в уме четкий психологический
портрет каждого из них.
     Известны случаи,  когда похищенным людям  удавалось  оставлять  в
местах остановок условные знаки,  выбрасывать наружу записки,  тем или
иным способом отмечать место своего заточения.  Однако делать подобные
вещи  следует  очень  осторожно,  так  как  в  случае  их  обнаружения
преступниками неизбежно последует суровое наказание.
     Человек становится   жертвой   с  момента  захвата,  и  хотя  это
происходит  в  разных  условиях,  жертва  всегда  испытывает   сильное
психическое   потрясение   (шок).  Оно  обусловлено  внезапным  резким
переходом от фазы спокойствия к фазе стресса.  Люди реагируют на такой
переход   по-разному:   одни   оказываются  буквально  парализованными
страхом,  другие пытаются дать отпор.  Поэтому жизненно  важно  быстро
справиться   со   своими   эмоциями,  чтобы  вести  себя  рационально,
увеличивая шанс своего спасения.
     Преступники "работают" с заложником так,  чтобы максимально полно
использовать его в своих интересах.  Итак,  они всячески демонстрируют
свое   превосходство   или   власть  над  жертвой,  даже  если  та  не
сопротивляется. Они стремятся подавить волю своего пленника и запугать
его.   Поэтому   заложник   должен  определить  для  себя  позицию  во
взаимоотношениях  с  преступниками.  Как   свидетельствует   практика,
безвольное  поведение,  мольбы  о  пощаде,  сверхуступчивость реальной
пользы принести не могут.  Преступники в любом случае действуют исходя
из своих планов и складывающихся обстоятельств.
     Поэтому внешняя  готовность  к   контакту   с   преступниками   и
обсуждению  интересующих  их  вопросов  должна  сочетаться  с  главным
правилом:  помогать  не  преступникам,  а  себе.  Ведь  полученная  от
заложника информация в конечном счете используется во вред ему самому,
его  близким,  сослуживцам,  сотрудникам  правоохранительных  органов.
Продуманно  следует  подходить к вопросам бандитов о возможной реакции
своего  окружения  на  похищение,  о  сумме  выкупа,   о   возможности
удовлетворения других требований.
     Сверхзадача здесь в том,  чтобы  своими  ответами  помочь  людям,
стремящимся  найти  и  освободить  заложника,  а  не  поставить  их  в
затруднительное положение.  В частности,  аргументированное  убеждение
преступников   в   нереальности   тех   или   иных   требований  может
способствовать разрешению инцидента "малой  кровью".  В  то  же  время
очевидно, что нельзя действовать по принципу "все или ничего". Реакция
бандитов на очевидность факта неосуществимости их замысла, в сочетании
с  возбужденным  психическим состоянием,  в котором они,  как правило,
находятся,  может  оказаться  роковой  для  заложника.   К   тому   же
преступники нередко находятся под воздействием наркотиков, в состоянии
алкогольного опьянения.
     Надо пытаться смягчить враждебность бандитов по отношению к себе,
искать возможности установления индивидуальных контактов с  некоторыми
из  них.  Это  необходимо хотя бы для того,  чтобы избежать физических
страданий или улучшить условия содержания. Но внешняя готовность найти
общий язык с преступниками,  участие в обсуждении волнующих их проблем
не должны противоречить упомянутому главному принципу:  помогать себе,
а не бандитам. И еще одна древняя истина может в ряде случаев принести
пользу заложнику:  разделяя - властвуй!  Попытайтесь внести  раскол  в
группу преступников, склоните кого-либо из них на свою сторону, обещая
ему за это все, что вы можете реально пообещать!
     *Допрос*. Практически всегда похищенных людей допрашивают. Допрос
может иметь характер почти дружеской беседы,  а  может  сопровождаться
зверскими пытками.
     Опытные преступники пытаются  произвести  впечатление  дружеского
расположения,  что  проливает  бальзам  на  смятенную  душу  пленника,
жаждущего психологической поддержки хотя бы на  уровне  эмоций.  Кроме
того,  ведущий  допрос угрожает при этом,  что в случае неуступчивости
жертвы он будет  вынужден  передать  дело  в  руки  своему  помощнику,
человеку жестокому и тупому. Поэтому, дескать, лучше не упираться зря,
а пойти на сотрудничество. Старый трюк, но действенный!
     *Чтобы сломать  заложника  психологически,  используют  следующие
меры давления*:
     - ограничивают подвижность, зрение, слух (держат связанным либо в
наручниках,  на цепи, с завязанными глазами, с законопаченными ушами и
т.д.);
     - плохо кормят, мучают голодом и жаждой; лишают сигарет;
     - создают плохие условия пребывания (теснота,  грязь,  вонь, шум,
насекомые, сырость, холод, крысы и т.д.);
     Для слабых  натур  уже всего перечисленного более чем достаточно,
чтобы выполнить  любые  требования  похитителей.  Однако  в  запасе  у
преступников  имеется еще такое средство,  как пытки.  За свою историю
человечество разработало огромное  количество  пыток.  Многие  из  них
являются  весьма действенными.  В целом,  пытки можно разделить на две
основные группы:  те, которые причиняют сильную боль и те, где главным
средством воздействия является страх.
     Первую группу  составляют  такие  меры,  как   избиение,   порка,
сдавливание  половых органов и нажатие на болевые точки,  выкручивание
суставов,  сверление  и  вырывание  зубов,  порезы  и  разрывы  кожных
покровов,   втыкание   иголок,  воздействие  кипятком  и  раскаленными
предметами, использование разрядов электрического тока и подобные им.
     Вторая группа  -  это,  в основном,  угрозы удушения,  утопления,
сброса с большой высоты,  нанесения обезображивающих повреждений лица,
угроза изнасилования и так далее. Как это ни странно на первый взгляд,
пытки первой группы выдержать легче,  чем  второй.  Дело  в  том,  что
существует так называемый "порог болевой чувствительности".  Стоит его
превзойти,  и организм отказывается  воспринимать  боль.  Кроме  того,
известен   психологический   прием:   если   человек  хочет  вытерпеть
физическое страдание,  он  расслабляется  и  убеждает  себя  "полюбить
боль",   то   есть   как  бы  превращается  в  мазохиста,  извращенца,
испытывающего наслаждение от ощущения боли.
     Что касается  мер психологического устрашения,  то перенесение их
требует отсутствия внутреннего "Я" в  данном  месте  в  данный  момент
времени.  А  добиваться  такого  состояния  мало  кто  умеет  -  нужна
специфическая тренировка.  Поэтому,  когда человеку одевают на  голову
пластиковый   пакет  или  окунают  с  головой  в  ванну,  он  начинает
задыхаться и впадает в состояние ужаса. Женщину легко запугать угрозой
группового  изнасилования  либо  демонстрацией  попыток изуродовать ее
лицо.  Весьма эффективный способ "допросов с пристрастием" тот,  когда
при  одном  человеке  подвергают  пыткам другого.  Особенно,  если это
близкие люди.
     Короче говоря,   так   или  иначе,  но  похитители  заставят  вас
говорить.  Поэтому вам надо определить:  а) насколько  важна  для  вас
скрываемая  информация,  б) насколько далеко могут зайти преступники в
своих зверствах (чем выше угроза "б" и  чем  ниже  важность  "а",  тем
меньше смысла терпеть страдания), в) что вам надо скрыть от бандитов в
любом случае. Помните: язык дан человеку для того, чтобы скрывать свои
мысли. *Поэтому руководствуйтесь следующими правилами*:
     - Перед  каждым  ответом  на  очередной  вопрос   делайте   паузу
подлиннее,  чтобы  понять,  куда клонит преступник,  а также для того,
чтобы он не мог уяснить ваши слабые места.  Паузы объясняйте тем,  что
вы вспоминаете подробности, думаете, как лучше сказать.
     - Говорите,  максимально  используя  профессиональные  термины  и
любой известный вам специфический жаргон, чтобы вас меньше понимали.
     - Старайтесь выражаться неясно, двусмысленно, многозначно.
     - Побольше останавливайтесь на несущественных деталях,  на разных
мелочах, не имеющих прямого отношения к сути заданного вопроса.
     - При  каждом  мало-мальски удобном случае повторяйте,  что вы не
располагаете нужной информацией,  так как это не входило в сферу ваших
обязанностей, интересов, компетенции.
     - Притворяйтесь,  что из-за боли, страха, волнения вы не способны
собраться с мыслями, логично рассуждать, последовательно излагать.
     - В некоторых  случаях  можно  делать  вид,  будто  не  понимаете
обращенных к вам вопросов из-за акцента преступника,  использования им
блатного жаргона, неясного произношения и т.д.
     - Говорите монотонно, без эмоций, без жестикуляции, чтобы труднее
было понять,  где правда,  а где  ложь.  Избегайте  смотреть  в  глаза
преступникам.
     - Будьте вежливы  в  своей  речи,  не  оскорбляйте  бандитов,  не
говорите  с  ними о том,  о чем они не хотят слышать,  не спорьте,  не
критикуйте.  Проводите  свою  линию  не  возражениями,   а   кажущимся
согласием.
     *Сохранение психологической    устойчивости*    при    длительном
пребывании в заточении - одно из важнейших условий спасения заложника.
Здесь хороши любые приемы и методы, отвлекающие от неприятных ощущений
и переживаний, позволяющие сохранить ясность мыслей, адекватную оценку
ситуации. Полезно усвоить следующие правила:
     - Старайтесь, насколько это возможно, соблюдать требования личной
гигиены.
     - Делайте доступные в данных условиях физические упражнения.  Как
минимум,  напрягайте и расслабляйте поочередно все  мышцы  тела,  если
нельзя выполнять обычный гимнастический комплекс.  Подобные упражнения
желательно повторять не менее трех раз в день.
     - Очень  полезно  во  всех  отношениях практиковать аутотренинг и
медитацию.  Подобные  методы  помогают  держать   свою   психику   под
контролем.
     - Вспоминайте  про  себя   прочитанные   книги,   стихи,   песни,
последовательно  обдумывайте  различные  отвлеченные проблемы (решайте
математические задачи,  вспоминайте иностранные слова и т.д.).  Ваш ум
должен работать. Верующие могут искать утешение в молитвах.
     - Если есть такая возможность,  читайте  все,  что  окажется  под
рукой,  даже  если  текст  совершенно  вам  не интересен.  Можно также
писать,  несмотря на то,  что написанное будет отбираться.  Важен  сам
процесс, помогающий сохранить рассудок.
     - Важно следить за бременем,  тем более,  что  похитители  обычно
отбирают   часы,  отказываются  говорить  какой  сейчас  день  и  час,
изолируют от внешнего мира.  Пишите календарь,  отмечайте смену дня  и
ночи  (по  активности  преступников,  по  звукам,  по режиму питания и
т.д.).
     - Старайтесь относиться к происходящему с вами как бы со стороны,
не принимая  случившееся  близко  к  сердцу,  до  конца  надейтесь  на
благополучный  исход.  Страх,  депрессия  и апатия - три ваших главных
врага, все они - внутри вас.
     - Не выбрасывайте вещи, которые могут вам пригодиться (лекарства,
очки, карандаши, платки и пр.), старайтесь создать хотя бы минимальный
запас  питьевой воды и продовольствия на тот случай,  если вас надолго
бросят одного или перестанут кормить.
     *Выкуп*. Преступники отчетливо понимают, что наибольшей опасности
они подвергаются в момент  получения  денежного  выкупа.  Поэтому  они
разрабатывают сложные,  многоступенчатые системы передачи денег.  Цель
принимаемых мер -  исключение  нападения  из  засады,  фиксации  факта
передачи денег,  установления личности преступников. Для этого бандиты
назначают время  и  место  прибытия  человека  с  деньгами,  указывают
маршрут.  Преступники  ведут  скрытое  наблюдение  за  этим  местом  и
курьером с деньгами.
     Курьеру могут   предложить   сесть   в   заранее   подготовленный
автомобиль  и  проехать  в  нем  с  сообщниками  бандитов,  затем  его
высаживают  в  удобном для них месте.  Могут отвести в многоквартирный
дом и получить деньги где-нибудь в подъезде, имеющем второй выход. Все
время  контакта  ведется  наблюдение  за  окружающими  местами с целью
выявления слежки. Поскольку инициатива за преступниками, они стремятся
создать  такие  условия,  которые  не позволили бы сотрудникам милиции
(если они задействованы) приблизиться на расстояние,  с которого можно
установить личность преступников либо захватить их. По тем же причинам
они  выбирают  в  качестве  курьеров  людей  из  ближайшего  окружения
заложника, чей облик им хорошо известен по этапу подготовки операции.
     Получение выкупа не  обязательно  влечет  за  собой  освобождение
заложника.  С  ним  могут  расправиться для того,  чтобы избавиться от
возможного свидетеля. Кроме того, он может оставаться в руках бандитов
до  тех  пор,  пока они не реализуют полученные деньги.  Обычно деньги
реализуют путем скупки драгоценностей,  разных товаров,  недвижимого и
движимого   имущества   в  регионах,  удаленных  от  места  совершения
преступления.  Иногда деньги стремятся вывезти за границу (если они  в
СКВ)  либо  положить в банк на имя лиц,  связи которых с преступниками
сохраняются в тайне.
     *Освобождение*. В том случае, когда преступники сами отпускают на
свободу заложника,  они отвозят его в какое-то безлюдное место,  и там
оставляют  одного.  Другой вариант - его бросают в запертом помещении,
выход из которого требует немало  времени  и  сил.  Третий  вариант  -
высадить  человека  на  оживленной  улице  (вдали  от  постов ГАИ,  от
сотрудников милиции) и уехать. После этого машину вскоре бросают, либо
меняют на ней номер.
     Может случиться и так как,  что освобождать вас будет милиция.  В
этом  случае  надо  пытаться убедить преступников,  что лучше всего им
сдаться.  Тогда они могут рассчитывать на более мягкий приговор.  Если
подобная  попытка не удалась,  постарайтесь им внушить,  что их судьба
находится в прямой зависимости от вашей.  Если они пойдут на убийство,
то  всякие  переговоры  властей с ними теряют смысл.  И тогда остается
только штурм с применением оружия.
     Когда преступники и заложники выходят наружу из убежища,  им всем
приказывают держать руки за  головой.  Не  следует  этим  возмущаться,
делать  резкие  движения.  Пока  не пройдет процедура опознания,  меры
предосторожности необходимы.
     Если начался  штурм  или  вот-вот начнется,  попытайтесь прикрыть
свое тело от пуль.  Лучше всего лечь на пол подальше от окон и дверей,
лицом вниз,  не на прямой линии от оконных и дверных проемов. В момент
штурма не берите в руки оружие  преступников.  Иначе  бойцы  штурмовой
группы могут принять вас за преступника и выстрелить на поражение.  Им
некогда разбираться в это время.  Преступники во время штурма  нередко
стремятся   спрятаться  среди  заложников.  Старайтесь  в  меру  своих
возможностей не позволять им этого делать,  немедленно сообщайте о них
ворвавшимся бойцам.
     И последнее.  В тех случаях,  когда место содержания заложника  и
нахождение преступников установлено, спецслужбы стремятся использовать
имеющиеся у них технические  средства  для  подслушивания  разговоров,
ведущихся  в  помещении.  Помните  об  этом  и в разговоре с бандитами
сообщайте  информацию,  которая,  будучи   перехвачена,   может   быть
использована для подготовки штурма.  Особенно важны сведения о ярких и
броских приметах,  по которым можно отличить заложника от преступника,
о   вооружении   бандитов,   об  их  количестве,  расположении  внутри
помещения, их моральном состоянии и намерениях.



     Любая фирма,  любое предприятие имеет  разнообразные  технические
средства,  предназначенные для приема,  передачи, обработки и хранения
информации.  Физические процессы, происходящие в таких устройствах при
их   функционировании,  создают  в  окружающем  пространстве  побочные
излучения,  которые  можно  обнаруживать  на   довольно   значительных
расстояниях   (до   нескольких   сотен   метров)   и,   следовательно,
перехватывать.
     Физические явления,  лежащие в основе излучений,  имеют различный
характер,  тем не менее,  утечка информации за счет побочных  изучений
происходит  по  своего рода "системе связи",  состоящей из передатчика
(источника   излучений),    среды,    в    которой    эти    излучения
распространяются,  и приемника. Такую "систему связи" принято называть
техническим каналом утечки информации.
     *Технические каналы утечки информации делятся на*:
     - радиоканалы (электромагнитные излучения радиодиапазона);
     - электрические  (напряжения  и  токи  в различных токопроводящих
коммуникациях);
     - акустические   (распространение   звуковых  колебаний  в  любом
звукопроводящем материале);
     - оптические (электромагнитные излучения в видимой,  инфракрасной
и ультрафиолетовой частях спектра).
     *Источниками излучений    в    технических    каналах*   являются
разнообразные технические средства, особенно те, в которых циркулирует
конфиденциальная информация. К их числу относятся:
     - сети электропитания и линии заземления;
     - автоматические сети телефонной связи;
     - системы факсимильной, телекодовой и телеграфной связи;
     - средства громкоговорящей связи;
     - средства звуко- и видеозаписи;
     - системы звукоусиления речи;
     - электронно-вычислительная техника;
     - электронные средства оргтехники.
     Кроме того,  источником излучений в  технических  каналах  утечки
информации   может   быть   голос   человека.  Средой  распространения
акустических излучений в этом случае является воздух,  а при  закрытых
окнах и дверях - воздух и различные звукопроводящие коммуникации. Если
для  перехвата  используются  специальные  микрофоны,  то   образуется
акустический канал утечки информации.
     Важно отметить,  что технические средства не только сами излучают
в пространство сигналы, содержащие обрабатываемую ими информацию, но и
улавливают за счет микрофонов либо антенных свойств  другие  излучения
(акустические,   электромагнитные),  существующие  в  непосредственной
близости от них.  Уловив,  они преобразовывают  принятые  излучения  в
электрические  сигналы  и  бесконтрольно  передают  их по своим линиям
связи на значительные расстояния.  Это еще больше  повышает  опасность
утечки   информации.   К   числу   технических   устройств,  способных
образовывать электрические каналы утечки относятся телефоны  (особенно
кнопочные),  датчики  охранной  и пожарной сигнализации,  их линии,  а
также сеть электропроводки.
     Для создания  системы  защиты  объекта  от  утечки  информации по
техническим каналам необходимо  осуществить  ряд  мероприятий.  Прежде
всего,  надо  проанализировать  специфические особенности расположения
зданий,  помещений в зданиях,  территорию  вокруг  них  и  подведенные
коммуникации.  Затем необходимо выделить те помещения,  внутри которых
циркулирует конфиденциальная информация и учесть  используемые  в  них
технические средства.  *Далее  следует  осуществить  такие технические
мероприятия*:
     - проверить   используемую   технику   на  соответствие  величины
побочных излучений допустимым уровням;
     - экранировать помещения с техникой или эту технику в помещениях;
     - перемонтировать отдельные цепи, линии, кабели;
     - использовать  специальные  устройства  и  средства  пассивной и
активной защиты.
     Важно подчеркнуть,  что  на  каждый метод получения информации по
техническим каналам ее утечки существует метод противодействия,  часто
не  один,  который  может  свести  угрозу  к минимуму.  При этом успех
зависит от двух факторов - от вашей компетентности в  вопросах  защиты
информации (либо от компетентности тех лиц, которым это дело поручено)
и от наличия  оборудования,  необходимого  для  защитных  мероприятий.
Первый  фактор  важнее  второго,  так как самая совершенная аппаратура
останется мертвым грузом в руках дилетанта.
     В каких   случаях   целесообразно   проводить   меры   защиты  от
технического проникновения?  Прежде  всего,  такую  работу  необходимо
осуществлять   превентивно,   не   ожидая  пока  "грянет  гром".  Роль
побудительного мотива могут сыграть  сведения  об  утечке  информации,
обсуждавшейся   в   конкретном   помещении   узкой  группой  лиц,  или
обрабатывавшейся  на  конкретных  технических  средствах.  Толчком   к
действию  могут  стать  следы,  свидетельствующие  о  проникновении  в
помещения вашей фирмы посторонних лиц, либо какие-то странные явления,
связанные  с  используемой  техникой  (например,  подозрительный шум в
телефоне).
     Осуществляя комплекс   защитных  мер,  не  стремитесь  обеспечить
защиту всего здания.  Главное - ограничить доступ в те места и  к  той
технике,  где  сосредоточена  конфиденциальная информация (не забывая,
конечно,  о возможностях и методах  дистанционного  получения  ее).  В
частности,  использование  качественных замков,  средств сигнализации,
хорошая звукоизоляция стен,  дверей,  потолков и пола, звуковая защита
вентиляционных   каналов,  отверстий  и  труб,  проходящих  через  эти
помещения,  демонтаж излишней проводки, а также применение специальных
устройств (генераторов шума,  аппаратуры ЗАС и др.) серьезно затруднят
или сделают бессмысленными попытки внедрения спецтехники.
     Именно поэтому  для разработки и реализации мероприятий по защите
информации  от  утечки  по   техническим   каналам   надо   приглашать
квалифицированных  специалистов,  либо  готовить  собственные кадры по
соответствующим программам в соответствующих учебных центрах.
     Для краткости   условимся,   что   аббревиатура  ТСПИ  обозначает
Технический Средства Передачи Информации.
     *Заземление ТСПИ*.   Одним   из  важнейших  условий  защиты  ТСПИ
является правильное заземление этих устройств.  На практике чаще всего
приходится иметь дело с радиальной системой заземления,  которая имеет
меньше общих участков для протекания сигнальных  и  питающих  токов  в
обратном направлении (от ТСПИ к посторонним наблюдателям).
     Следует иметь в виду,  что шина заземления и заземляющего контура
не должна иметь петель,  а выполняться в виде ветвящегося дерева,  где
сопротивление  контура  не  превышает  один  Ом.   Данное   требование
удовлетворяется   применением  в  качестве  заземлителей  стержней  из
металла, обладающих высокой электропроводностью, погруженных в землю и
соединенных  с  металлическими  конструкциями  ТСПИ.  Чаще  всего  это
вертикально вбитые в  землю  стальные  трубы  длиной  в  2-3  метра  и
диаметром 35-50 мм.  Трубы хороши тем, что позволяют достигать влажных
слоев земли,  обладающих наибольшей проводимостью  и  не  подверженных
высыханию либо промерзанию.  Кроме того, использование труб не связано
со сколько-нибудь значительными земляными работами.
     Сопротивление заземления     определяется     главным     образом
сопротивлением растекания тока в земле. Его величину можно значительно
снизить   за   счет   уменьшения   переходного   сопротивления  (между
заземлителем и почвой) путем тщательной очистки поверхности  трубы  от
грязи и ржавчины,  подсыпкой в лунку по всей ее высоте поваренной соли
и утрамбовкой почвы вокруг каждой трубы.  Заземлители (трубы)  следует
соединять   между   собой  шинами  с  помощь  сварки.  Сечение  шин  и
магистралей  заземления  ради  достижения  механической  прочности   и
получения  достаточной  проводимости рекомендуется брать не менее 24х4
мм.
     Магистрали заземления  вне  здания  надо  прокладывать на глубине
около 1,5 метра,  а внутри здания - по стенам или специальным каналам,
чтобы  можно  было  их  регулярно осматривать.  Соединяют магистрали с
заземлителем только с помощью сварки,  а к ТСПИ магистраль  подключают
болтовым соединением в одной точке.  В случае подключения к магистрали
заземления нескольких ТСПИ соединять их с магистралью надо параллельно
(при последовательном соединении отключение одного ТСПИ может привести
к отключению всех остальных).  При устройстве заземления  ТСПИ  нельзя
применять естественные заземлители:  металлические конструкции зданий,
имеющие соединение с землей,  проложенные в земле металлические трубы,
металлические оболочки подземных кабелей.
     При расчете   конкретных   заземляющих    устройств    необходимо
использовать специальные формулы и таблицы.
     *Сетевые фильтры*.  Возникновение наводок в  сетях  питания  ТСПИ
чаще  всего связано с тем,  что они подключены к общим линиям питания.
Поэтому сетевые фильтры выполняют две функции в  цепях  питания  ТСПИ:
защиты  аппаратуры  от  внешних  импульсных помех и защиты от наводок,
создаваемых   самой   аппаратурой.   При   этом   однофазная   система
распределения  электроэнергии  должна осуществляться трансформатором с
заземленной средней точкой,  трехфазная  -  высоковольтным  понижающим
трансформатором.
     При выборе фильтров нужно учитывать: номинальные значения токов и
напряжений  в  цепях  питания,  а  также  допустимые  значения падения
напряжения на фильтре при максимальной нагрузке;  допустимые  значения
реактивной  составляющей  тока на основной частоте напряжения питания;
необходимое затухание  фильтра;  механические  характеристики  фильтра
(размер,  масса, тип корпуса, способ установки); степень экранирования
фильтра от посторонних полей.
     Фильтры в цепях питания могут иметь весьма различные конструкции,
их масса колеблется в пределах от 0,5 кг до 90 кг,  а объем от 0,8 см3
до 1,6 м3.
     Конструкция фильтра  должна  обеспечивать  существенное  снижение
вероятности возникновения внутри корпуса побочной связи между входом и
выходом из-за магнитных, электрических либо электромагнитных полей.
     *Экранирование помещений*. Для полного устранения наводок от ТСПИ
в помещениях,  линии которых выходят за пределы  контролируемой  зоны,
надо  не  только  подавить их в отходящих от источника проводах,  но и
ограничить  сферу  действия   электромагнитного   поля,   создаваемого
системой его  внутренних  электропроводок.  Эта  задача решается путем
экранирования.
     Теоретически, с  точки  зрения  стоимости  материала  и  простоты
изготовления,  преимущества на  стороне  экранов  из  листовой  стали.
Однако  применение  сетки  значительно  упрощает  вопросы вентиляции и
освещения.  Чтобы решить вопрос о материале экрана,  необходимо знать,
во  сколько  раз требуется ослабить уровни излучения ТСПИ.  Чаще всего
это между  10  и  30  раз.  Такую  эффективность  обеспечивает  экран,
изготовленный  из  одинарной  медной  сетки с ячейкой 2,5 мм,  либо из
тонколистовой оцинкованной стали толщиной 0,51 мм и более.
     Металлические листы (или полотнища сетки) должны быть между собой
электрически прочно соединены по всему периметру,  что  обеспечивается
электросваркой   или   пайкой.   Двери   помещений   также  необходимо
экранировать, с обеспечением надежного электроконтакта с дверной рамой
по  всему периметру не реже,  чем через 10-15 мм.  Для этого применяют
пружинную  гребенку  из  фосфористой  бронзы,  укрепляя  ее  по  всему
внутреннему  периметру  дверной рамы.  При наличии в помещении окон их
затягивают одним или двумя слоями медной сетки с ячейкой не более  чем
2х2  мм,  причем расстояние между слоями сетки должно быть не менее 50
мм. Оба слоя должны иметь хороший электроконтакт со стенками помещения
посредством  все  той  же гребенки из фосфористой бронзы,  либо пайкой
(если сетка несъемная).
     Размеры экранируемого   помещения   выбирают,   исходя   из   его
назначения,  наличия  свободной  площади  и  стоимости  работ.  Обычно
достаточно  иметь  помещение площадью 6-8 кв.  метров при высоте 2,5-3
метра.
     *Защита телефонов  и факсов*.  Как всякое электронное устройство,
телефон  и  факс,  а  также  их  линии  связи  излучают   в   открытое
пространство высокие уровни поля в диапазоне частот вплоть до 150 мГц.
Чтобы полностью подавить все виды излучений от этих  ТСПИ,  необходимо
отфильтровать излучения в проводах микротелефона, в проводах отходящих
от аппарата,  а также обеспечить  достаточную  экранировку  внутренней
схемы   аппарата.   То  и  другое  возможно  лишь  путем  значительной
переработки  конструкций  аппаратов  и  изменения   их   электрических
параметров.  Иными  словами,  требуется защитить цепь микрофона,  цепь
звонка  и  двухпроводную  линию   телефонной   связи.   Понятно,   что
осуществить   указанные  мероприятия  способны  только  специалисты  с
использованием соответствующего оборудования и стандартных схем. То же
самое относится и к проблеме защиты линий связи,  выходящих за пределы
помещений с аппаратами.
     Вообще говоря,  это  очень  серьезная проблема,  так как подобные
линии практически всегда бесконтрольны и к ним можно подключать  самые
разнообразные  средства  съема  информации.  Тут два пути:  во-первых,
применяют  специальные  провода  (экранированный  бифиляр,   трифиляр,
коаксильный   кабель,   экранированный   плоский  кабель).  Во-вторых,
систематически  проверяют  специальной  аппаратурой,  есть   ли   факт
подключения  средств  съема информации.  Выявление наведенных сигналов
обычно  производится   на   границе   контролируемой   зоны   или   на
коммутационных  устройствах  в  кроссах  или распределительных шкафах.
Затем либо определяют конкретное место подключения,  либо (если  такое
определение невозможно) устраивают шумовую защиту.
     Но наиболее эффективный способ защиты информации, передаваемой по
телефону или факсу - это использование ЗАС (засекречивающей аппаратуры
связи).  За рубежом данные устройства  называют  скремблеры.  Один  из
лучших аппаратов такого рода имеет следующие габариты: 26,5 см х 16 см
х 5 см, масса 1,3 кг. Потребляемая мощность не более 5 ватт. В странах
СНГ   (Россия,   Украина)  производят  ЗАС  на  уровне  самых  высоких
международных требований.
     *Защита от встроенных и узконаправленных микрофонов*.  Микрофоны,
как известно,  преобразуют звук в электрический сигнал. В совокупности
со  специальными  усилителями  и  фильтрами они могут использоваться в
качестве  подслушивающих  устройств.  Для  этого   создается   скрытая
проводная  линия  связи,  обнаружить  которую  можно  лишь  физическим
поиском либо (что сложнее) путем  контрольных  измерений  сигналов  во
всех   проводах,   имеющихся   в   помещении.   Методы  радиоконтроля,
эффективные для поиска радиозакладок, в этом случае бессмысленны.
     Кроме перехвата       звуковых       колебаний,       специальные
микрофоны-стетоскопы     очень     хорошо     воспринимают      звуки,
распространяющиеся  по строительным конструкциям зданий.  С их помощью
осуществляют  подслушивание  через  стены,  двери  и  окна.   Наконец,
существует ряд модификаций узконаправленных микрофонов, воспринимающих
и  усиливающих  звуки,  идущие  только  из   одного   направления,   и
ослабляющие  при  этом все остальные звуки.  Такие микрофоны имеют вид
длинной трубки,  батареи трубок или параболической тарелки  с  конусом
концентратора.   Они   улавливают   звуки   человеческого   голоса  на
расстояниях до одного километра!
     *Для защиты  от  узконаправленных  микрофонов можно рекомендовать
следующие меры*:
     - все переговоры проводить в комнатах,  изолированных от соседних
помещений,  при закрытых дверях, окнах и форточках, задернутых плотных
шорах. Стены также должны быть изолированы от соседних зданий;
     - полы  и  потолки  должны  быть  изолированы  от  нежелательного
соседства   в   виде   агентов  с  микрофонами  и  другой  аппаратурой
прослушивания;
     - не  ведите  важных  разговоров  на  улице,  в  скверах и других
открытых  пространствах,   независимо   от   того,   сидите   вы   или
прогуливаетесь;
     - в ресторане,  другом закрытом  помещении  вне  офиса  в  случае
необходимости   обмена   конфиденциальной   информацией   резко  (т.е.
неожиданно для следящих за вами)  смените  помещение  на  то,  которое
находится  под надежным контролем вашей службы безопасности (например,
отдельный кабинет,  заказанный ранее  через  надежного  партнера  либо
помощника);
     - помните,  что попытки заглушать разговор звуками воды, льющейся
из крана (или из фонтана) малоэффективны;
     - если вам обязательно требуется что-то сообщить или услышать,  а
гарантий от подслушивания нет, говорите друг другу шепотом прямо в ухо
или пишите сообщения на листках, немедленно после прочтения сжигаемых.
     *Защита от лазерных подслушивающих устройств*. Лазеры - это такие
устройства, в которых передача и получение информации осуществляется в
оптическом диапазоне. Такие устройства малогабаритны и экономичны, тем
более,  что в качестве приемника нередко используются фотообъективы  с
большим  фокусным  расстоянием,  позволяющим вести перехват сигналов с
дальних расстояний.
     Принцип действия   лазерного  устройства  заключается  в  посылке
зондирующего луча в направлении источника звука и  приеме  этого  луча
после   его  отражения  от  каких-либо  предметов.  Этими  предметами,
вибрирующими  под  действием  окружающих   звуков   как   своеобразные
мембраны,  могут  быть  стекла окон,  шкафов,  зеркала,  посуда и т.п.
Своими колебаниями они модулируют лазерный луч,  приняв который  через
приемник можно восстановить звуки речи. Распространенные ныне лазерные
устройства позволяют свободно подслушивать  человеческую  речь  сквозь
закрытые окна с двойными рамами на расстояниях до 250 метров.
     Наиболее простым и в то же время весьма надежным способом  защиты
от  лазерных  устройств  является  создание  помех для модулирования с
помощью  пьезоэлемента.  Пьезоэлемент  колеблет   стекло   с   большей
амплитудой,  чем  голос  человека,  поэтому  амплитуда вибрации стекол
исключает ведение прослушивания.
     *Поиск радиозакладок*. Радиозакладки занимают ведущее место среди
средств технического шпионажа. Они бывают разных конструкций, от самых
простых  до  очень сложных (имеющих дистанционное управление,  систему
накопления сигналов, систему передачи сигналов в сжатом виде короткими
сериями).
     Для повышения    скрытности    работы    мощность     передатчика
радиозакладки   делается   небольшой,  но  достаточной  для  перехвата
высокочувствительным  приемником  с  небольшого  расстояния.   Рабочую
частоту  для  повышения  скрытности  нередко  выбирают  вблизи несущей
частоты мощной радиостанции.  Микрофоны делают как встроенными,  так и
выносными.  Они бывают двух типов: акустическими (т.е. чувствительными
к голосам людей) или  вибрационными  (преобразующими  в  электрические
сигналы  колебания,  возникающие  от человеческой речи в разнообразных
жестких конструкциях).  Радиозакладки чаще всего работают  на  высоких
частотах (выше 300 кГц).
     Однако есть и такие устройства, которые работают в низкочастотном
диапазоне (50-300 кГц).  В качестве канала связи они обычно используют
сети электропроводки  или  телефонные   линии.   Такие   радиозакладки
практически  не  излучают  сигналы  в  окружающее  пространство,  т.е.
обладают повышенной скрытностью.  Если их  вмонтировать  в  настольную
лампу,  розетку,  тройник,  любой  электроприбор,  работающий  от сети
переменного  тока,  то  они,  питаясь  от  сети,  будут  долгое  время
передавать  по  ней  информацию  в  любую  точку  здания и даже за его
пределы.
     Для обнаружения радиозакладок применяют специальные измерительные
приемники,  автоматически  сканирующие  по  диапазону.  С  их  помощью
осуществляется поиск и фиксация рабочих частот радиозакладок,  а также
определяется их местонахождение.  Данная процедура достаточно  сложна,
она требует соответствующих теоретических знаний, практических навыков
работы с разнообразной, весьма сложной измерительной аппаратурой.
     Если радиозакладки  выключены  в  момент  поиска  и  не  излучают
сигналы,  по которым их можно обнаружить радиоприемной аппаратурой, то
для  их поиска (а также для поиска микрофонов подслушивающих устройств
и минимагнитофонов) применяют специальную рентгеновскую  аппаратуру  и
нелинейные   детекторы   со   встроенными  генераторами  микроволновых
колебаний низкого уровня.  Такие  колебания  проникают  сквозь  стены,
потолки, пол, мебель, портфели, утварь - в любое место, где может быть
спрятана радиозакладка,  микрофон, магнитофон. Когда микроволновый луч
соприкасается с транзистором,  диодом или микросхемой,  луч отражается
назад к устройству.  Таким образом,  принцип действия в данном  случае
похож на миноискатель, реагирующий на присутствие металла.
     В тех случаях,  когда нет приборов для поиска радиозакладок, либо
нет  времени  на  поиск,  можно  пользоваться  генераторами  помех для
подавления  приемников.  Они  достаточно  просты,  очень   надежны   и
полностью  снимают  информацию  с  радиозакладок  в  широком диапазоне
частот.
     *Защита персональных  ЭВМ*.  Если  персональная  ЭВМ используется
только  одним  пользователем,  то   важно,   во-первых,   предупредить
несанкционированный доступ к компьютеру других лиц в то время, когда в
нем находится защищаемая информация,  и,  во-вторых, обеспечить защиту
данных  на  внешних  носителях  от  хищения.  Если же персональная ЭВМ
используется группой лиц,  то помимо указанных моментов защиты,  может
возникнуть необходимость предотвратить несанкционированный доступ этих
пользователей к информации друг друга.
     Кроме того,  во  всех  случаях  необходимо защищать информацию от
разрушения в результате  ошибок  программ  и  оборудования,  заражения
компьютерными  вирусами.  Однако  проведение  страховочных мероприятий
обязательно для всех без исключения пользователей ЭВМ и  не  относится
непосредственно к проблеме защиты информации от конкурентов.
     *Для обеспечения безопасности информации  используются  следующие
методы*:
     - средства защиты вычислительных ресурсов, использующие парольную
идентификацию    и    ограничивающие    доступ    несанкционированного
пользователя;
     - применение   различных   шифров,   не  зависящих  от  контекста
информации.
     Напомним, что   в  персональной  ЭВМ  в  качестве  вычислительных
ресурсов   выступают   оперативная   память,   процессор,   встроенные
накопители   на  жестких  или  гибких  магнитных  дисках,  клавиатура,
дисплей, принтер, периферийные устройства. Защита оперативной памяти и
процессора предусматривает контроль за появлением в оперативной памяти
так называемых резидентных программ,  защиту системных данных, очистку
остатков  секретной  информации в неиспользуемых областях памяти.  Для
этого  достаточно  иметь  в  своем  распоряжении  программу  просмотра
оперативной  памяти для контроля за составом резидентных программ и их
расположением.
     *Гораздо важнее   защита   встроенных   накопителей.   Существуют
несколько типов программных средств, способных решать эту задачу*:
     - защита диска от записи и чтения;
     - контроль за обращениями к диску;
     - средства удаления остатков секретной информации.
     Но самый надежный метод защиты,  безусловно,  шифрование,  т.к. в
этом случае охраняется непосредственно сама информация,  а не доступ к
ней (например,  зашифрованный файл нельзя прочесть даже в случае кражи
дискеты).    Однако    в   ряде   случаев   использование   шифрования
затруднительно либо невозможно,  поэтому необходимо  использовать  оба
метода  в совокупности.  Большинство средств защиты реализуются в виде
программ или пакетов  программ,  расширяющих  возможности  стандартных
операционных систем, а также систем управления базами данных.



     Рейтинг обращений отечественных бизнесменов за помощью в охранные
фирмы выглядит следующим образом (по убывающей):
     1. Проблема  возврата  средств (не поступает плата за отгруженный
товар, не поступает оплаченный товар, не возвращается в указанный срок
кредит);
     2. Проблема личной безопасности бизнесменов и членов их  семей  в
связи с угрозами и вымогательством;
     3. Хищение грузов на транспорте;
     4. Кражи   личного  имущества  в  квартирах,  офисах,  коттеджах,
загородных строениях; ограбления; угоны автомобилей;
     5. Похищение   коммерческой   информации  (кража  документов,  их
копирование,  съем информации с компьютеров и факсов,  прослушивание и
запись телефонных   сообщений,   разговоров   в   помещениях,   подкуп
сотрудников);
     6. Кражи  и ограбления в магазинах,  складских и производственных
помещениях;
     7. Порча имущества и товаров. Поджоги.
     Многие из перечисленных преступлений можно было бы предотвратить,
если бы своевременно были приняты меры превентивного характера. Почему
же они не были осуществлены?
     *1. Скаредность*.  Слишком  часто  бизнесмены  (и  фирмы в целом)
элементарно жалеют выделить средства на охрану и охранные мероприятия.
Они надеются на "авось",  на чудо, на случай, на что угодно, только не
на то, что надо. Потом, когда приходится тратиться на ремонт, на поиск
пропавшего,  на  выплату  дани  рэкетирам,  на  врачей,  на возмещение
убытков,  наступает  прозрение.  Но  это  потом,  когда   пробуждается
"крепкий  задний  ум".  Отсюда  справедливость высказывания,  согласно
которому "скупой платит дважды, а то и трижды".
     *2. Невежество*. Бизнесмены не понимают сути комплексных охранных
мероприятий и того факта,  что обеспечить разработку  и  осуществление
такого  комплекса  способны  лишь  профессионалы.  Их  ущербная логика
такова:  "я был достаточно умен,  чтобы сколотить капитал,  мне хватит
ума и для того,  чтобы предусмотреть любую опасность".  Иными словами,
вторая причина - после жадности - это невежество;
     *3. Нецивилизованность*,   т.е.   отсутствие  опыта  коммерческой
деятельности  по  правилам  рынка,  а  не  колхозного  базара.  Отсюда
вытекает  опасение  обращаться к специалистам за консультациями по тем
вопросам,  в которых бизнесмен  некомпетентен,  неумение  "планировать
риск",  отсутствие  такой  обязательной  и важной процедуры,  как сбор
конфиденциальной информации о партнерах,  контрагентах  и  кредиторах.
Сплошь и рядом приходится видеть, как предприниматель "залетает" из-за
того,  что поверил на слово,  неправильно составил важнейший  договор,
переоценил   свои   аналитические   возможности,  не  изучил  рыночную
конъюнктуру,  даже не догадывался о том,  что  все  его  "коммерческие
тайны" прекрасно известны конкурентам и так далее.
     *4. Ротозейство*.    Техническое     обеспечение     безопасности
производственных,  складских, конторских и жилых помещений очень часто
оставляет желать много лучшего,  либо вообще отсутствует. Дело доходит
до  смешного:  товар  на  миллионы рублей иной раз хранится за обычной
дверью, с обычным дверным замком, а на окнах нет решеток!



     Рассматривая проблему личной безопасности в широком  плане,  надо
признать,  что  в  своем  большинстве  бизнесмены  легко  уязвимы.  Во
множестве  фирм  любому  постороннему  человеку  не   составит   труда
проникнуть внутрь офиса под каким-то предлогом, войти в любой кабинет,
бесшумно зарезать свою жертву (даже несколько человек) и удалиться, не
привлекая   внимания.  Не  обязательно  резать,  глушитель  на  стволе
"Беретты М-71" (хороший  пистолет  весом  не  более  600  грамм),  или
отечественный  "ПСС"  (вес  с  патронами 830 грамм),  дает возможность
застрелить столько людей,  сколько патронов в магазине, т.е. не меньше
6-и,  за 2 секунды.  Еще проще:  в толчее вас могут уколоть иголочкой,
кончик которой обмакнули в препарат под названием строфантин.  Это  яд
нервно-паралитического действия,  от которого вы умрете за 30 секунд в
результате остановки дыхания.
     Поэтому нормальный,  разумный, предусмотрительный предприниматель
должен заботиться о своей безопасности,  памятуя,  как  он  уязвим,  и
насколько хрупка человеческая жизнь вообще.  Разумеется,  все хорошо в
меру. Нельзя впадать ни в одну, ни в другую крайность: одинаково плохо
полное отсутствие охраны и предельное сосредоточение мыслей и действий
на собственной безопасности.



     *Руководствуйтесь следующими     принципами*,      разработанными
специалистами "Шин Бет", службы государственной безопасности Израиля.
     1. Сочетайте в своей системе безопасности меры трех видов: личную
охрану (телохранители и служебные собаки), технические средства охраны
(сигнализацию, бронежилеты, замки, сейфы и пр.), правила поведения для
всех членов семьи и наемного персонала;
     2. Наличие одной лишь личной охраны  является  недостаточным  для
гарантирования 95% безопасности (100% дает только Господь Бог). Всегда
требуется именно комплекс мер названных выше трех видов;
     3. О  ненадежности  любой  меры  безопасности  следует  судить по
самому слабому месту в ней (как о прочности цепи судят по  ее  слабому
звену);
     4. Все  используемые  меры  безопасности  должны  находиться  под
постоянным   контролем  главы  фирмы  или  ее  специалиста  в  области
безопасности;
     5. Принятые  меры  безопасности  должны  совмещаться  с условиями
повседневной  жизни  предпринимателя,  его  семьи,  не  препятствовать
работе фирмы;
     6. Эффективность  мер   безопасности   будет   выше,   если   они
спланированы  специалистами в этой области,  с учетом специфики вашего
бизнеса и местных условий;
     7. В  тех случаях,  когда вероятность совершения покушения на вас
резко  возрастает,   необходимо   не   просто   выполнять   все   меры
предосторожности,  а  вводить  качественно  новый уровень безопасности
(начиная с информационной защиты и кончая сменой места жительства).



     *Структура СБ*.  Многогранность  сферы  обеспечения  безопасности
фирмы,  включая  защиту  ее  коммерческих  секретов,  требует создания
специальной службы для реализации всех защитных мероприятий.
     Структура, численность   и   состав   службы  безопасности  фирмы
определяются   реальными    финансовыми    возможностями,    масштабом
коммерческой деятельности,  степенью конфиденциальности информации.  В
зависимости от этих факторов служба безопасности может варьировать  от
двух-трех человек,  работающих по совместительству, до полномасштабной
службы с развитой структурой.
     С учетом   накопленного   зарубежного   и   отечественного  опыта
предлагаю  примерный  вариант  службы  безопасности   фирмы   среднего
масштаба.  Она  состоит  из  четырех  секторов  (или отделов).  В свою
очередь,  каждый такой  сектор  имеет  в  своем  составе  от  двух  до
десяти-пятнадцати человек.  Это сектор охраны,  сектор режима,  сектор
технической защиты и оперативный сектор. Их главные задачи следующие:
     *Сектор охраны*:
     - охрана помещений и зданий;
     - охрана оборудования и имущества;
     - охрана сотрудников и мероприятий;
     - охрана перевозок.
     *Сектор режима*:
     - обеспечение секретности документов;
     - обеспечение режима допуска;
     - контроль посетителей и транспорта;
     - расследование случаев нарушений режима.
     *Сектор технической защиты*:
     - выявление технических каналов утечки информации;
     - контроль за попытками несанкционированного доступа к информации
с помощью техники;
     - оборудование фирмы средствами сигнализации и связи;
     - оборудование фирмы противопожарными средствами.
     *Сектор оперативной работы*:
     - выявление и изучение фирм и  преступных  сообществ,  являющихся
потенциальными конкурентами или врагами фирмы;
     - учет  и  анализ  попыток   проникновения   в   секреты   фирмы,
осуществления каких-либо враждебных акций;
     - выявление возможных "слабых" мест в деятельности фирмы;
     - разработка и осуществление мер противодействия "наездам".



     В условиях, когда основным объектом преступных посягательств стал
капитал  коммерческих  фирм,  на  первый  план   в   деятельности   их
собственных  служб  безопасности  выходят  информационно-аналитическое
обеспечение,  экономическая  разведка   и   контрразведка,   а   также
организация оперативных мероприятий.
     Требования к уровню подготовки руководителей служб безопасности и
их ведущих сотрудников постоянно возрастают.
     В странах  с  рыночной  экономикой   обучение   специалистов   по
обеспечению  безопасности  бизнеса  осуществляется  более  чем  в  100
специализированных учебных заведениях. В США предприниматели тратят на
охрану  коммерческих  тайн  около  пятой  части  сумм,  выделяемых  на
маркетинг.  В масштабе страны это составляет около 15  млрд.  долларов
ежегодно.
     *Сегодня специалисты  по  безопасности  бизнеса  должны  обладать
познаниями в следующих областях*:
     - информационно-аналитическая работа;
     - методы разведки и контрразведки;
     - оперативная работа;
     - социальная психология и психология личности;
     - основы банковского дела и бухгалтерский учет;
     - основы менеджмента и маркетинга;
     - гражданское и уголовное право.
     *Грамотный специалист обязан*:
     - разработать  комплексные  меры  по   обеспечению   безопасности
коммерческой фирмы и личной безопасности ее руководства;
     - осуществить защиту конфиденциальной  информации,  в  том  числе
хранящейся в компьютерной памяти;
     - уметь применять  технические  средства  скрытого  наблюдения  и
прослушивания;
     - противодействовать    проведению    аналогичных     мероприятий
конкурентами;
     - разбираться в финансовой отчетности;
     - заниматься профилактикой правонарушений в фирме;
     - проводить   внутреннее   расследование    случаев    воровства,
мошенничества, саботажа и финансовых преступлений;
     - организовывать проверки (в том числе негласные) благонадежности
сотрудников фирмы;
     - предупреждать (выявлять) случаи сотрудничества работников фирмы
с конкурентами или криминальными структурами;
     - взаимодействовать со  следственными  органами  и  милицией  при
расследовании преступлений и иных происшествий;
     - готовить документы,  содержащие анализ финансово-экономического
положения партнеров, оценку конкурентов и потенциальных клиентов;
     - разрешать конфликты между сотрудниками фирмы;
     - кратко и точно излагать свои мысли.
     Опыта и знаний в перечисленных областях ведущим сотрудником служб
безопасности  отечественных  коммерческих  фирм  пока  явно недостает.
Поэтому вопрос об их подготовке и переподготовке более чем актуален.



     *Чтобы оградить  себя  от  утечки  конфиденциальной   информации,
следует*:
     - контролировать доступ сотрудников фирмы к закрытой документации
и к базам данных;
     - периодически  просматривать  данные  и  определять  степень  их
секретности, помня, что любая информация быстро "стареет";
     - не злоупотреблять наймом временных  сотрудников,  если  они  по
роду  своей  работы  автоматически  получают доступ к конфиденциальной
информации;
     - оборудовать  звуконепроницаемые  (экранированные) помещения для
обсуждения важных вопросов;
     - регулярно  обследовать  такие  помещения,  проверяя  при помощи
специальной аппаратуры  наличие  в  них  подслушивающих  (сканирующих)
устройств;
     - завести    специальные    конверты    (папки),    в     которых
конфиденциальная информация будет циркулировать внутри фирмы;
     - установить места приема посетителей,  никогда не  оставлять  их
одних в офисе и других помещениях фирмы;
     - не реже одного  раза  в  неделю  обследовать  все  служебные  и
подсобные  помещения  фирмы (включая коридоры и туалеты) для выявления
подслушивающих и звукозаписывающих устройств;
     - упорядочить    использование    сотрудниками   множительной   и
копировальной техники;
     - установить аппарат для уничтожения ненужных документов (включая
использованную копировальную бумагу от пишущих машинок);
     - неукоснительно   придерживаться  правила:  секретные  документы
уничтожаются лично сотрудником, отвечающим за безопасность фирмы;
     - использовать  для  ведения служебных записей только специальные
тетради и блокноты, предварительно пронумеровав их;
     - в конце рабочего дня прятать эти тетради и блокноты в сейф или,
на худой конец, - в ящик стола, снабженный надежным замком;
     - установить    персональную   ответственность   сотрудников   за
сохранность  конфиденциальной  информации  с  четкой   градацией   мер
дисциплинарного и материального воздействия за ее утечку.
     Каждый сотрудник независимо от своего  служебного  положения  или
степени  родства  с  руководителем  фирмы  должен  владеть  только той
информацией, которая ему необходима для работы.
     Защищая собственную информацию, не забывайте накапливать сведения
о своих конкурентах. *Досье на каждого из них может включать следующие
разделы*:
     - организация и финансы;
     - коммерческие возможности;
     - планы и цели;
     - сбыт;
     - сильные и слабые стороны.
     Помните: ситуацией владеет тот, кто владеет информацией.



     Следуя моим   советам,   действуйте   расчетливо.  Главное  -  не
переусердствовать.  Ведь самое неприятное воспоминание,  остающемся от
исполненной фанатизма молитвы,  - это расшибленный лоб. Помня об этом,
старайтесь действовать так,  чтобы меры по защите  информации  не  шли
вразрез  с  рекламной  политикой,  не мешали коммерческой деятельности
вашей фирмы.



     Каждый бизнесмен сам должен решить, какой путь обеспечения личной
безопасности   ему  выбрать:  купить  себе  пистолет,  нанять  парочку
телохранителей,  подписать  договор   с   охранной   фирмой,   создать
собственную службу безопасности, или... ничего не делать.



     Андрианов В.И.  и др.  - Шпионские штучки и устройства для защиты
объектов и информации:  справочное пособие. - СПб: "Лань", 1996. - 272
с.
     Боттом Н.Г.,   Галатти   Р.Р.   -   Экономическая   разведка    и
контрразведка: практическое пособие. - Новосибирск: "Диамант". 1994. -
416 с.
     Мироничев С.М.  -  Коммерческая  разведка  и  контрразведка,  или
промышленный шпионаж в России и методы борьбы с  ним.  -  М.:  "Смираб
электроникс", 1995. - 216 с.
     Р-система: введение в экономический шпионаж (в 2-х томах).  - М.:
"Hurntec publisher", 1996. - 944 с.
     Хант Ч.,  Зартарьян В.  - Информация - основа успеха: разведка на
службе вашего предприятия.  - Киев:  "Укрзакордонвизасервис",  1992. -
160 с.

======================================================================
     Примечание:

     ** - жирный шрифт

Популярность: 169, Last-modified: Sat, 28 Jul 2001 19:50:53 GmT